Каталог запасных частей к технике: ГАЗ-3308. Батарея аккумуляторная автомобиля с дизельным двигателем

zoom-in zoom-out enlarge shrink circle-right circle-left file-text2 info cart arraw right arraw left zoom out zoom in arraw maximize arraw minimize
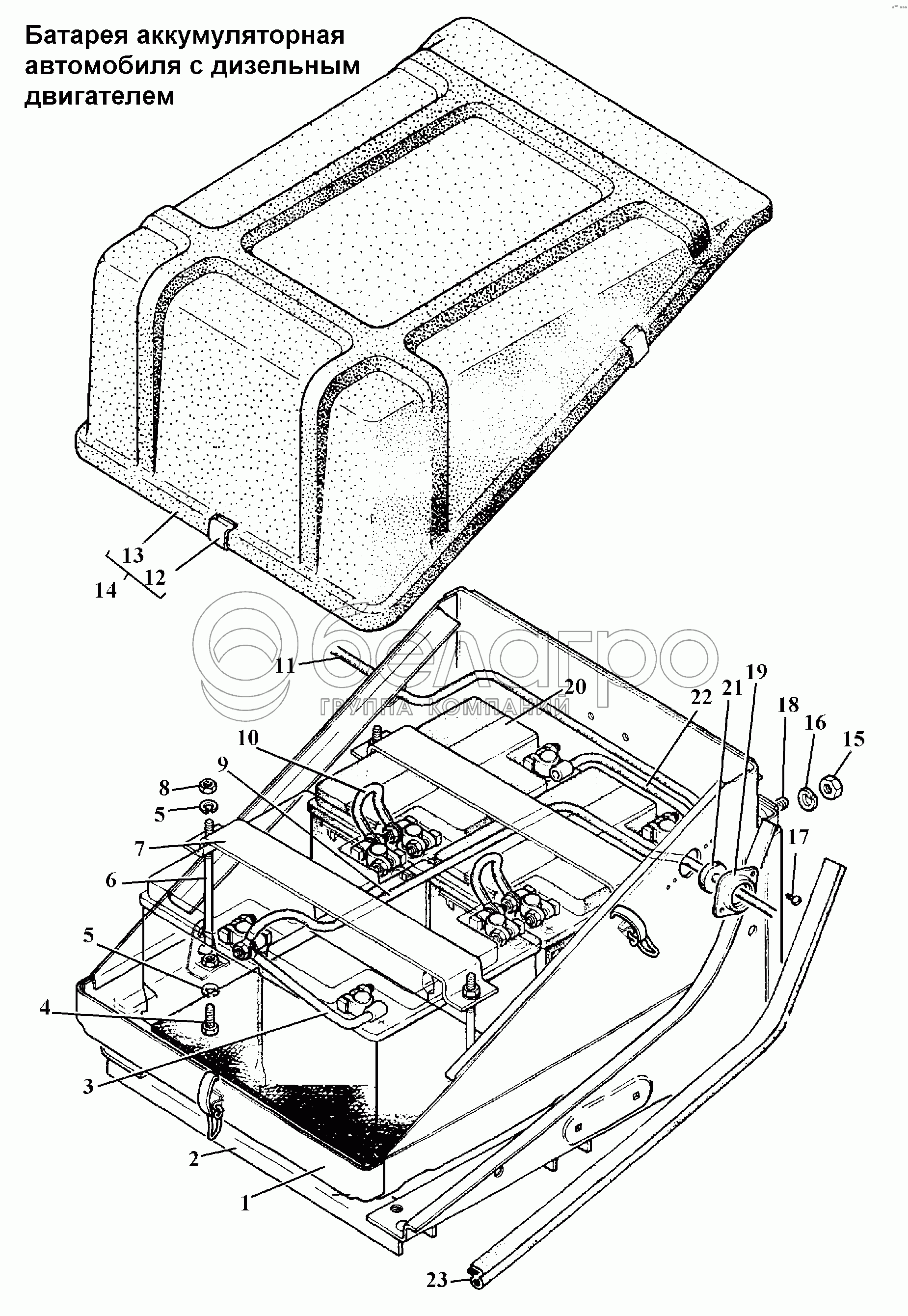
1
2
3
4
5
5
6
7
9
10
11
12
13
14
15
16
17
18
19
20
21
22
23
6СТ-55А1
Батарея аккумуляторная
В узле: 4
6СТ-55ПМА
Батарея аккумуляторная (НАКИ.563412.005)
В узле: 4
6СТ-55
Батарея аккумуляторная
В узле: 4
6СТ-55А73
Аккумуляторная батарея
В узле: 4
6СТ-55АЛ
Батарея аккумуляторная
В узле: 4
1
4301-3703025-10
Основание аккумуляторной батареи
В узле: 1
2
3301-3703028
Кронштейн крепления основания
В узле: 1
3
4301-3724072-10
Провод
В узле: 1
4
201458-П29
Болт М8-6gх25 ОСТ 37.001.123-96
В узле: 1
5
252135-П2
Шайба 8Т ОСТ 37.001.115-75
В узле: 1
6
53А-3703038
Стяжка крепления аккумуляторной батареи
В узле: 4
7
33078-3703036
Планка крепления аккумуляторной батареи
В узле: 2
9
4301-3724050-10
Провод
В узле: 1
10
4301-3724171-10
Провод
В узле: 2
11
3306-3724551-10
Провод от аккумуляторной батареи к выключателю батарей
В узле: 1
12
4301-3703037
Упор крышки
В узле: 3
13
4301-3703087
Крышка аккумуляторных батарей
В узле: 1
14
4301-3703086
Крышка аккумуляторных батарей в сборе
В узле: 1
15
250514-П29
Гайка М12-6Н ОСТ 37.001.124-93
В узле: 1
16
252137-П2
Шайба 12.ОТ ОСТ 37.001.115-75
В узле: 1
17
240836-П29
Винт 5х12 ОСТ 37.001.188-81
В узле: 1
18
201542-П29
Болт М12-6gх35 ОСТ 37.001.123-96
В узле: 1
19
11-700786
Обойма уплотнителя пучка проводов
В узле: 2
20
6СГ-55А
Батарея аккумуляторная
В узле: 4
21
20-3724083
Уплотнитель
В узле: 2
22
4301-3724071-10
Провод
В узле: 1
23
33078-3703168-01
Кант кронштейна основания
В узле: 1
Содержащиеся в справочниках-каталогах запасные части и детали не предлагаются к продаже, а носят исключительно информационный характер

Ваша заявка была отправлена. В ближайшее время наши специалисты с Вами свяжутся по указанному Вами телефону.

Представьтесь
Поле обязательно для заполнения
Ваш телефон
Введите правильный номер телефона
E-mail
Введите правильный e-mail
Тема
Тема
применяемость финансирование доставка цена, наличие другое сервис и гарантия
Время для звонка
08:00
08:00 09:00 10:00 11:00 12:00 13:00 14:00 15:00 16:00 17:00 18:00 19:00
19:00
08:00 09:00 10:00 11:00 12:00 13:00 14:00 15:00 16:00 17:00 18:00 19:00

Мы постараемся перезвонить в указанное время

Если вы не хотите ждать, то звоните нашим вежливым консультантам:

8 800 100-2-700
Подтвердите, что вы не робот
Подтвердите, что вы не робот
Спасибо!

Ваше сообщение успешно отправлено!

ЗакрытьПовторить попытку