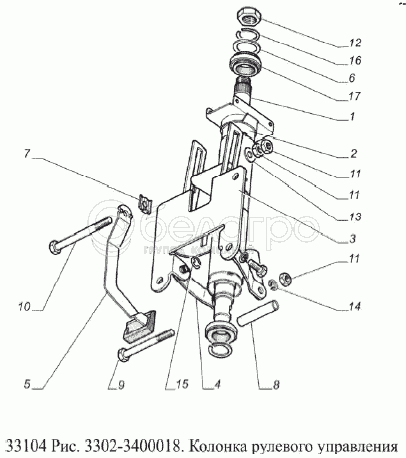
Каталог запасных частей к технике: ГАЗ-33104 Валдай Евро 3. Колонка рулевого управления

zoom-in zoom-out enlarge shrink circle-right circle-left file-text2 info cart arraw right arraw left zoom out zoom in arraw maximize arraw minimize
1
2
3
4
5
6
7
8
9
10
11
11
11
12
13
14
15
16
17
1
3302-3401032
Вал рулевого управления с втулкой в сборе
В узле: 1
2
3302-3401103
Труба колонки рулевого управления с кронштейном
В узле: 1
3
3302-3403030
Кронштейн рулевой колонки с секторами
В узле: 1
4
3302-3403050
Рычаг
В узле: 2
5
3302-3403092
Рукоятка в сборе
В узле: 1
6
3302-3401111
Шайба
В узле: 1
7
3302-3403037
Шайба упорная
В узле: 1
8
3302-3403042
Втулка распорная
В узле: 1
9
200274-П29
Болт М8-6gх75
В узле: 1
10
200277-П29
Болт М8-6gх90
В узле: 1
11
250510-П29
Гайка М8-6Н ОСТ 37.001.124-93
В узле: 3
12
250636-П29
Гайка М16х1,5-6Н ОСТ 37.001.124-93
В узле: 1
13
252005-П29
Шайба 8 ОСТ 37.001.144-96
В узле: 1
14
252135-П2
Шайба 8Т ОСТ 37.001.115-75
В узле: 1
15
45 9816 1102
Шайба 8,8
В узле: 2
16
45 3114 9502
Кольцо В22
В узле: 2
17
6-930904АЕ1С17
Подшипник с втулкой
В узле: 2
Содержащиеся в справочниках-каталогах запасные части и детали не предлагаются к продаже, а носят исключительно информационный характер

Ваша заявка была отправлена. В ближайшее время наши специалисты с Вами свяжутся по указанному Вами телефону.

Представьтесь
Поле обязательно для заполнения
Ваш телефон
Введите правильный номер телефона
E-mail
Введите правильный e-mail
Тема
Тема
применяемость финансирование доставка цена, наличие другое сервис и гарантия
Время для звонка
08:00
08:00 09:00 10:00 11:00 12:00 13:00 14:00 15:00 16:00 17:00 18:00 19:00
19:00
08:00 09:00 10:00 11:00 12:00 13:00 14:00 15:00 16:00 17:00 18:00 19:00

Мы постараемся перезвонить в указанное время

Если вы не хотите ждать, то звоните нашим вежливым консультантам:

8 800 100-2-700
Подтвердите, что вы не робот
Подтвердите, что вы не робот
Спасибо!

Ваше сообщение успешно отправлено!

ЗакрытьПовторить попытку