Каталог запасных частей к технике: ГАЗ-51 (63, 63А). Бензинопровод

zoom-in zoom-out enlarge shrink circle-right circle-left file-text2 info cart arraw right arraw left zoom out zoom in arraw maximize arraw minimize
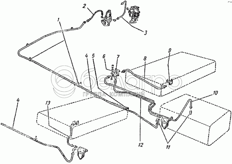
1
2
3
4
4
5
6
7
8
9
10
11
11
12
13
250765-П8
Гайка М8х1,25х32
В узле: 1
250764-П8
Гайка М6х1
В узле: 3
252134-П2
Шайба 6Т ОСТ 37.001.115-75
В узле: 3
252135-П2
Шайба 8Т ОСТ 37.001.115-75
В узле: 1
280074-П8
Штуцер прямой К 1/4"
В узле: 1
200213-П8
Болт М6х35
В узле: 3
1
297480-П8
Скоба крепления трубки
В узле: 2
2
51-1104100-А2
Шланг гибкий бензинопровода в сборе
В узле: 1
3
51-1104130-В
Трубка от бензинового насоса к карбюратору в сборе
В узле: 1
4
51-1104085-Б
Трубка бензинопровода от бензинового отстойника к насосу в сборе
В узле: 1
5
297484-П8
Скоба крепления трубопровода к задним тормозам
В узле: 1
6
51-1104162
Трубка распорная
В узле: 3
7
51-1104160
Краник тройной бензиновый в сборе
В узле: 1
8
63-1104070
Трубка бензинопровода от краника основного бензинового бака к тройному кранику в сборе
В узле: 1
9
51-1104170
Краник бензиновый в сборе
В узле: 1
10
63-1304075
Трубка бензинопровода от дополнительного бензинового бака к тройному кранику в сборе
В узле: 1
11
280084-П2
Штуцер 1/4"х18 угловой
В узле: 1
11
280084-П2
Штуцер 1/4"х18 угловой
В узле: 1
12
51-1104080-В
Трубка бензинопровода от тройного бензинового краника к отстойнику в сборе
В узле: 1
13
51-1104093-В1
Трубка бензинопровода от краника основного бака к отстойнику в сборе
В узле: 1
Содержащиеся в справочниках-каталогах запасные части и детали не предлагаются к продаже, а носят исключительно информационный характер

Ваша заявка была отправлена. В ближайшее время наши специалисты с Вами свяжутся по указанному Вами телефону.

Представьтесь
Поле обязательно для заполнения
Ваш телефон
Введите правильный номер телефона
E-mail
Введите правильный e-mail
Тема
Тема
применяемость финансирование доставка цена, наличие другое сервис и гарантия
Время для звонка
08:00
08:00 09:00 10:00 11:00 12:00 13:00 14:00 15:00 16:00 17:00 18:00 19:00
19:00
08:00 09:00 10:00 11:00 12:00 13:00 14:00 15:00 16:00 17:00 18:00 19:00

Мы постараемся перезвонить в указанное время

Если вы не хотите ждать, то звоните нашим вежливым консультантам:

8 800 100-2-700
Подтвердите, что вы не робот
Подтвердите, что вы не робот
Спасибо!

Ваше сообщение успешно отправлено!

ЗакрытьПовторить попытку