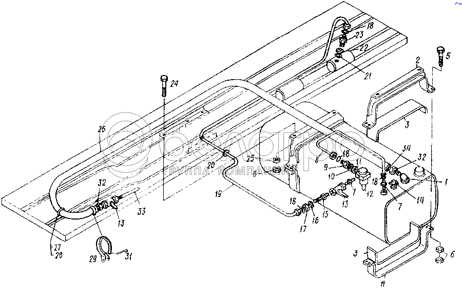
Каталог запасных частей к технике: МАЗ-3PP59. Бак топливный и его крепление

zoom-in zoom-out enlarge shrink circle-right circle-left file-text2 info cart arraw right arraw left zoom out zoom in arraw maximize arraw minimize
1
2
3
3
5
6
6
7
7
8
9
10
11
11
12
13
13
14
15
16
17
18
18
18
18
19
20
21
22
23
24
25
26
27
28
28
29
31
32
33
34
1
9758-1101010
Бак топливный
В узле: 1
2
9758-1101102
Кронштейн
В узле: 2
3
9758-1101114
Прокладка
В узле: 4
4
9758-1101111
Хомут
В узле: 2
5
201594
Болт М14-6gх55
В узле: 8
6
250558
Гайка М14-6Н
В узле: 20
7
314614
Гайка М12х1,5-5Н6Н
В узле: 2
8
9758-1115062
Трубка
В узле: 1
9
379002
Ниппель проходной
В узле: 1
10
375524
Шайба 9
В узле: 2
11
6422-3917358
Шайба уплотнительная
В узле: 2
12
КРАУ4
Пневмоклапан редукцинный
В узле: 1
13
12.3520010
Кран разобщительный в сборе
В узле: 2
14
ПС7
Кран сливной (взамен КР-2)
В узле: 1
15
93866-1115056
Держатель
В узле: 1
16
252139
Шайба 16.ОТ
В узле: 1
17
250636
Гайка М16х1,5-6Н
В узле: 1
18
008-011-19-2-3
Кольцо
В узле: 4
19
9758-1115052
Трубка
В узле: 1
20
200-3724065
Втулка
В узле: 1
21
020-025-30-2-3
Кольцо
В узле: 1
22
376145
Шайба 22
В узле: 1
23
404304
Штуцер
В узле: 1
24
201588
Болт М14-6gх38
В узле: 4
25
252138
Шайба 14.ОТ
В узле: 4
26
93866-1015146
Шланг
В узле: 1
27
93866-1015138
Шланг
В узле: 1
28
210Д-3506342-А
Наконечник
В узле: 3
29
6422-3521100
Кольцо
В узле: 3
30
297580
Пряжка
В узле: 1
31
401804
Лента стяжная
В узле: 1
32
297575
Шплинт 5,6х22
В узле: 1
33
93866-3916190
Переходник
В узле: 2
34
9758-3916167
Наконечник
В узле: 1
35
64229-1303160
Хомут d=28
В узле: 1
Содержащиеся в справочниках-каталогах запасные части и детали не предлагаются к продаже, а носят исключительно информационный характер

Ваша заявка была отправлена. В ближайшее время наши специалисты с Вами свяжутся по указанному Вами телефону.

Представьтесь
Поле обязательно для заполнения
Ваш телефон
Введите правильный номер телефона
E-mail
Введите правильный e-mail
Тема
Тема
применяемость финансирование доставка цена, наличие другое сервис и гарантия
Время для звонка
08:00
08:00 09:00 10:00 11:00 12:00 13:00 14:00 15:00 16:00 17:00 18:00 19:00
19:00
08:00 09:00 10:00 11:00 12:00 13:00 14:00 15:00 16:00 17:00 18:00 19:00

Мы постараемся перезвонить в указанное время

Если вы не хотите ждать, то звоните нашим вежливым консультантам:

8 800 100-2-700
Подтвердите, что вы не робот
Подтвердите, что вы не робот
Спасибо!

Ваше сообщение успешно отправлено!

ЗакрытьПовторить попытку