Каталог запасных частей к технике: МАЗ-437040 (Зубренок). Крепление топливного бака

zoom-in zoom-out enlarge shrink circle-right circle-left file-text2 info cart arraw right arraw left zoom out zoom in arraw maximize arraw minimize
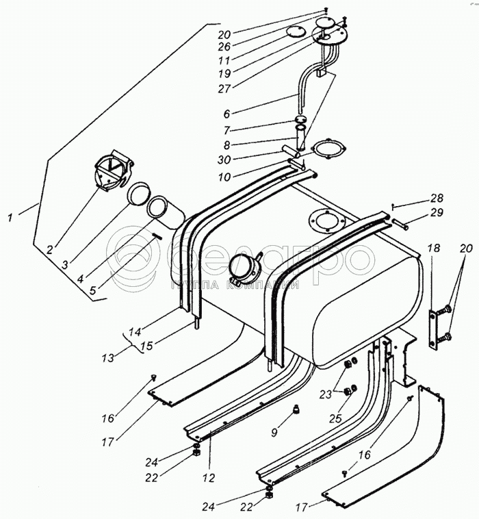
1
2
3
4
5
6
7
8
9
10
11
12
13
14
15
16
16
17
17
18
19
20
20
22
22
23
24
24
25
26
27
28
29
30
1
4370-1101010
Бак топливный
В узле: 1
2
5335-1103010
Пробка
В узле: 1
3
64229-1101097
Кольцо
В узле: 1
4
64229-1101090
Фильтр сетчатый
В узле: 1
5
64229-1101078
Ось петли
В узле: 1
6
4370-1105014
Топливозаборник
В узле: 1
7
54321-1105020
Крышка фильтра
В узле: 1
8
5551-8608111
Фильтр
В узле: 1
9
500-1101060
Пробка
В узле: 1
10
500-1105013
Прокладка
В узле: 1
11
200-3806029
Прокладка
В узле: 1
12
4370-1101102
Кронштейн бака
В узле: 2
13
4370-1101110
Хомут с прокладкой
В узле: 2
14
4370-1101107
Хомут бака
В узле: 2
15
4370-1101114
Прокладка
В узле: 2
16
212-8402036
Буфер
В узле: 4
17
4370-1101133
Прокладка
В узле: 2
18
4370-1101151
Усилитель
В узле: ---
19
201460
Болт М8-6gх30
В узле: 4
20
379629
Болт М 16х1,5-6gх45
В узле: 4
21
220077
Винт М5-6gх10
В узле: 5
22
250515
Гайка М12х1,25-6Н
В узле: 2
23
374727
Гайка М16х1,5-5Н6Н
В узле: 4
24
252137
Шайба 12.ОТ
В узле: 2
25
252139
Шайба 16.ОТ
В узле: 4
26
375370
Шайба 5 ОТ
В узле: 5
27
375458
Шайба 8
В узле: 4
28
258052
Шплинт 4х20
В узле: 2
29
260099
Палец 12х80
В узле: 2
30
ДУМП-32
Датчик уровня топлива
В узле: 1
Содержащиеся в справочниках-каталогах запасные части и детали не предлагаются к продаже, а носят исключительно информационный характер

Ваша заявка была отправлена. В ближайшее время наши специалисты с Вами свяжутся по указанному Вами телефону.

Представьтесь
Поле обязательно для заполнения
Ваш телефон
Введите правильный номер телефона
E-mail
Введите правильный e-mail
Тема
Тема
применяемость финансирование доставка цена, наличие другое сервис и гарантия
Время для звонка
08:00
08:00 09:00 10:00 11:00 12:00 13:00 14:00 15:00 16:00 17:00 18:00 19:00
19:00
08:00 09:00 10:00 11:00 12:00 13:00 14:00 15:00 16:00 17:00 18:00 19:00

Мы постараемся перезвонить в указанное время

Если вы не хотите ждать, то звоните нашим вежливым консультантам:

8 800 100-2-700
Подтвердите, что вы не робот
Подтвердите, что вы не робот
Спасибо!

Ваше сообщение успешно отправлено!

ЗакрытьПовторить попытку