Каталог запасных частей к технике: МАЗ-437041 (Зубренок). Привод стояночного тормоза P437041-3537004

zoom-in zoom-out enlarge shrink circle-right circle-left file-text2 info cart arraw right arraw left zoom out zoom in arraw maximize arraw minimize
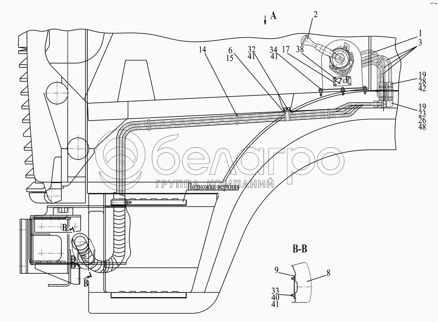
1
2
3
6
8
9
14
15
17
17
19
19
23
26
28
32
33
34
38
40
41
41
41
42
48
1
64226-3537052
Трубка
В узле: 1
2
64221-3537310
Кран тормозной
В узле: 1
3
4370-3537020
Трубка
В узле: 3
5
544022-1602238
Переходник
В узле: 2
6
64227-3506026
Прокладка
В узле: 1
7
64227-3506028
Прокладка
В узле: 1
8
64221-3506034-01
Короб
В узле: 1
9
64221-3537036-10
Кронштейн
В узле: 1
10
64221-3537044-10
Кронштейн
В узле: 1
11
5335-3570186-10
Кронштейн
В узле: 1
12
535А-3724015
Втулка
В узле: 1
14
6430-3724624
Хомут
В узле: 4
15
64221-3724630
Кляммер
В узле: 1
16
64221-3724632
Хомут
В узле: 1
17
6422-3903037
Табличка
В узле: 1
17
64221-3903037
Табличка
В узле: 1
19
250636
Гайка М16х1,5-6Н
В узле: 6
21
374619
Гайка М14х1,5-6Н
В узле: 4
22
375919
Шайба 14
В узле: 8
23
375960
Шайба 16
В узле: 3
25
402755
Угольник
В узле: 4
26
402947
Угольник
В узле: 3
27
404249
Штуцер
В узле: 4
28
404383
Штуцер
В узле: 2
31
201420
Болт М6-6gх20
В узле: 2
32
220103
Винт М6-6gх12
В узле: 1
33
220104
Винт М6-6gх14
В узле: 2
34
220109
Винт М6-6gх25
В узле: 3
36
231604
Винт 2М6-6gх14
В узле: 2
38
240818
Винт М4х12
В узле: 4
40
250508
Гайка М6-6Н
В узле: 6
41
252134
Шайба 6Т
В узле: 10
42
252159
Шайба 16Л
В узле: 3
46
008-011-19-2-3
Кольцо
В узле: 1
47
012-016-25-2-3
Кольцо
В узле: 8
48
014-018-25-2-3
Кольцо
В узле: 3
50
4370-3506180-030
Трубка
В узле: 1
51
Р437041-3506136-030
Трубка
В узле: 1
52
Р437041-3506132-030
Трубка
В узле: 1
Содержащиеся в справочниках-каталогах запасные части и детали не предлагаются к продаже, а носят исключительно информационный характер

Ваша заявка была отправлена. В ближайшее время наши специалисты с Вами свяжутся по указанному Вами телефону.

Представьтесь
Поле обязательно для заполнения
Ваш телефон
Введите правильный номер телефона
E-mail
Введите правильный e-mail
Тема
Тема
применяемость финансирование доставка цена, наличие другое сервис и гарантия
Время для звонка
08:00
08:00 09:00 10:00 11:00 12:00 13:00 14:00 15:00 16:00 17:00 18:00 19:00
19:00
08:00 09:00 10:00 11:00 12:00 13:00 14:00 15:00 16:00 17:00 18:00 19:00

Мы постараемся перезвонить в указанное время

Если вы не хотите ждать, то звоните нашим вежливым консультантам:

8 800 100-2-700
Подтвердите, что вы не робот
Подтвердите, что вы не робот
Спасибо!

Ваше сообщение успешно отправлено!

ЗакрытьПовторить попытку