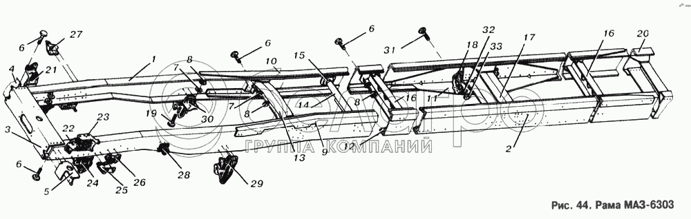
Каталог запасных частей к технике: МАЗ-53363. Рама МАЗ-6303

zoom-in zoom-out enlarge shrink circle-right circle-left file-text2 info cart arraw right arraw left zoom out zoom in arraw maximize arraw minimize
1
2
3
4
5
6
6
6
6
7
7
8
8
8
9
10
11
12
13
14
15
16
16
17
18
19
20
21
22
23
24
25
26
27
28
29
30
31
32
33
1
6303-2801014
Лонжерон правый
В узле: 1
2
6303-2801015
Лонжерон левый
В узле: 1
3
5432-2801080
Поперечина
В узле: 1
4
5432-2801088-01
Кронштейн
В узле: 1
5
5432-2801089-01
Кронштейн
В узле: 1
6
372629
Болт М16х1,5-6gх45
В узле: 24
7
252139
Шайба 16.ОТ
В узле: 12
8
374727
Гайка М16х1,5-5Н6Н
В узле: 28
9
6303-2801027
Усилитель верхний
В узле: 1
10
6303-2801026
Усилитель верхний
В узле: 1
11
6303-2801042
Усилитель
В узле: 1
12
6303-2801043
Усилитель
В узле: 1
13
64221-2801100
Поперечина
В узле: 1
14
6303-2801134
Поперечина
В узле: 1
15
53352-2801141
Фланец
В узле: 1
16
5336-2801152-01
Поперечина
В узле: 2
17
64221-2801150
Поперечина
В узле: 1
18
6303-2812159
Укосина
В узле: 4
19
372629
Болт М16х1,5-6gх45
В узле: 24
20
514-2801184
Поперечина
В узле: 1
21
64226-5001720-20
Опора правая
В узле: 1
22
64226-5001721-20
Опора левая
В узле: 1
23
5336-3403016
Кронштейн
В узле: 1
24
64221-2902444
Кронштейн
В узле: 2
25
64221-1001048-10
Кронштейн
В узле: 2
26
64221-2906042
Кронштейн
В узле: 2
27
64229-5003073
Кронштейн
В узле: 1
28
5336-3403190
Кронштейн
В узле: 1
29
64221-2902447
Кронштейн
В узле: 2
30
5336-2902462
Усилитель кронштейна
В узле: 2
31
372768
Болт М18х1,5х65
В узле: 12
32
252140
Шайба 18.ОТ
В узле: 12
33
374819
Гайка М18х1,5
В узле: 12
Содержащиеся в справочниках-каталогах запасные части и детали не предлагаются к продаже, а носят исключительно информационный характер

Ваша заявка была отправлена. В ближайшее время наши специалисты с Вами свяжутся по указанному Вами телефону.

Представьтесь
Поле обязательно для заполнения
Ваш телефон
Введите правильный номер телефона
E-mail
Введите правильный e-mail
Тема
Тема
применяемость финансирование доставка цена, наличие другое сервис и гарантия
Время для звонка
08:00
08:00 09:00 10:00 11:00 12:00 13:00 14:00 15:00 16:00 17:00 18:00 19:00
19:00
08:00 09:00 10:00 11:00 12:00 13:00 14:00 15:00 16:00 17:00 18:00 19:00

Мы постараемся перезвонить в указанное время

Если вы не хотите ждать, то звоните нашим вежливым консультантам:

8 800 100-2-700
Подтвердите, что вы не робот
Подтвердите, что вы не робот
Спасибо!

Ваше сообщение успешно отправлено!

ЗакрытьПовторить попытку