Каталог запасных частей к технике: МАЗ-5337 (2005). Крепление двигателя на автомобиле МАЗ-533702

zoom-in zoom-out enlarge shrink circle-right circle-left file-text2 info cart arraw right arraw left zoom out zoom in arraw maximize arraw minimize
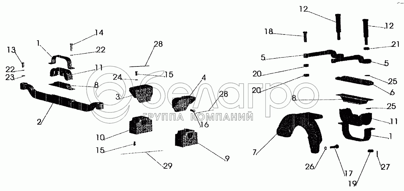
1
1
2
3
4
5
5
6
7
8
8
8
8
9
9
10
10
11
11
11
11
12
12
13
14
15
15
16
17
18
19
20
20
21
22
22
23
24
25
25
26
27
28
28
29
1
630300-1001030
Скоба
В узле: 2
2
6422-1001018
Балка
В узле: 1
3
6422-1001042
Опора правая
В узле: 1
4
6422-1001043
Опора левая
В узле: 1
5
5335-1715022
Кронштейн
В узле: 2
6
500-1715048-А
Усилитель подушки
В узле: 1
7
5551-1715012
Кронштейн
В узле: 1
8
504В-1001020
Подушка
В узле: 2
8
504ВС-1001020
Подушка
В узле: 2
9
6422-1001034
Подушка боковая в сборе
В узле: 1
9
642201-1001034
Подушка боковой опоры со штырем
В узле: 1
10
6422-1001033
Подушка боковой опоры со штырем правая
В узле: 1
10
642201-1001033
Подушка боковой опоры со штырем правая
В узле: 1
11
630300-1001029
Амортизатор
В узле: 2
11
630300-1001029-100
Амортизатор
В узле: 2
12
5336-1715027
Винт
В узле: 2
13
201585
Болт М14-6gх30
В узле: 2
14
371835
Болт М14-6gх50
В узле: 2
15
206574
Болт 3М12-6gх25
В узле: 8
16
206906
Болт 3М14-6gх35
В узле: 8
17
201544
Болт М12-6gх40
В узле: 4
18
200840
Болт М14х1,5-6gх45
В узле: 4
19
250870
Гайка М14х1,5-5Н6Н
В узле: 2
20
250559
Гайка М14х1,5-6Н
В узле: 8
21
250640
Гайка М20х1,5
В узле: 2
22
252138
Шайба 14.ОТ
В узле: 4
23
252046
Шайба 14
В узле: 2
24
252007
Шайба 12
В узле: 4
25
252016
Шайба 14
В узле: 4
26
252137
Шайба 12.ОТ
В узле: 4
27
258041
Шплинт 3,2х32
В узле: 2
28
258255
Шплинт 1,2х225
В узле: 6
29
258263
Шплинт 1,2х425
В узле: 2
Содержащиеся в справочниках-каталогах запасные части и детали не предлагаются к продаже, а носят исключительно информационный характер

Ваша заявка была отправлена. В ближайшее время наши специалисты с Вами свяжутся по указанному Вами телефону.

Представьтесь
Поле обязательно для заполнения
Ваш телефон
Введите правильный номер телефона
E-mail
Введите правильный e-mail
Тема
Тема
применяемость финансирование доставка цена, наличие другое сервис и гарантия
Время для звонка
08:00
08:00 09:00 10:00 11:00 12:00 13:00 14:00 15:00 16:00 17:00 18:00 19:00
19:00
08:00 09:00 10:00 11:00 12:00 13:00 14:00 15:00 16:00 17:00 18:00 19:00

Мы постараемся перезвонить в указанное время

Если вы не хотите ждать, то звоните нашим вежливым консультантам:

8 800 100-2-700
Подтвердите, что вы не робот
Подтвердите, что вы не робот
Спасибо!

Ваше сообщение успешно отправлено!

ЗакрытьПовторить попытку