Каталог запасных частей к технике: МАЗ-5429. Механизм гидравлический подъема платформы

zoom-in zoom-out enlarge shrink circle-right circle-left file-text2 info cart arraw right arraw left zoom out zoom in arraw maximize arraw minimize
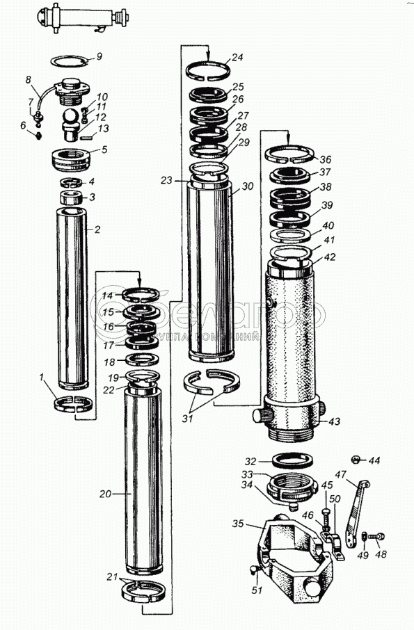
1
2
3
4
5
6
7
8
9
10
11
12
13
14
15
16
17
18
19
20
21
22
23
24
25
26
27
28
29
30
31
32
33
34
35
36
37
38
39
40
41
42
43
44
45
46
47
48
49
50
51
51
264040-П8
Пресс-масленка
В узле: 2
264040-П8* Масленка М10х1 90 градусов >10 шт. 5.11 р.
503А-8603509
Цилиндр с верхней опорой в сборе
В узле: 1
503А-8603510-02
Цилиндр в сборе
В узле: 1
503-8603637
Трубка подачи смазки
В узле: 1
503-8607031-В
Рычаг привода клапана
В узле: 1
503-8603597
Опора гидроцилиндра
В узле: 1
503А-8603594
Опора цилиндра гидроподъемника верхняя
В узле: 1
1
503А-8603535
Полукольцо направляющее
В узле: 2
2
503А-8603572
Труба цилиндра выдвижная первая в сборе
В узле: 1
3
503А-8603562-10
Переходник головки верхней опоры цилиндра
В узле: 1
4
503А-8603541
Кольцо
В узле: 1
5
503А-8603598
Гайка верхняя опоры
В узле: 1
6
314803-П
Муфта конусная
В узле: 1
7
314710-П29
Гайка соединительная
В узле: 1
8
503А-8603563
Опора верхняя
В узле: 1
9
503-8603531
Кольцо стопорное
В узле: 1
10
252136-П2
Шайба
В узле: 6
11
201496-П2
Болт
В узле: 6
12
503А-8603566-10
Головка верхней опоры цилиндра
В узле: 1
13
258993-П
Штифт
В узле: 1
14
503А-8603656
Кольцо
В узле: 1
15
503А-8603546
Грязесъемник
В узле: 1
16
503А-8603582
Кольцо уплотнительное
В узле: 1
17
080-090-58-2-3
Кольцо
В узле: 1
18
503А-8603664
Втулка
В узле: 1
19
503А-8603524-10
Кольцо упорное
В узле: 1
20
503А-8603565
Труба
В узле: 1
21
503А-8603536
Полукольцо направляющее
В узле: 2
22
503А-8603521-10
Направляющая
В узле: 1
23
503А-8603522-10
Направляющая
В узле: 1
24
503А-8603657
Кольцо
В узле: 1
25
503А-8603547
Грязесъемник
В узле: 1
26
503А-8603583
Кольцо уплотнительное
В узле: 1
27
100х110-58-2-3
Кольцо
В узле: 1
28
503А-8603665
Втулка
В узле: 1
29
503А-8603525-10
Кольцо упорное
В узле: 1
30
503А-8603560
Труба
В узле: 1
31
503А-8603537
Полукольцо направляющее
В узле: 2
32
135-145-46-2-3
Кольцо уплотнительное
В узле: 1
33
503А-8603526
Днище
В узле: 1
34
262541-П29
Пробка
В узле: 1
35
503-8603600
Опора цилиндра гидроподъемника нижняя
В узле: 1
36
503А-8603658
Кольцо
В узле: 1
37
503А-8603548
Грязесъемник
В узле: 1
38
503А-8603584
Кольцо уплотнительное
В узле: 1
39
120х130-58-2-3
Кольцо
В узле: 1
40
503А-8603666
Втулка
В узле: 1
41
503А-8603527
Кольцо
В узле: 1
42
503А-8603523-10
Направляющая
В узле: 1
43
503А-8603512
Труба цилиндра неподвижная в сборе
В узле: 1
44
250515-П29
Гайка
В узле: 3
45
201540-П29
Болт
В узле: 4
46
252137-П2
Шайба пружинная
В узле: 4
47
503-8607030-01
Рычаг
В узле: 1
48
201456-П29
Болт
В узле: 2
49
252135-П2
Шайба
В узле: 2
50
503-8603601
Крышка
В узле: 2
Содержащиеся в справочниках-каталогах запасные части и детали не предлагаются к продаже, а носят исключительно информационный характер

Ваша заявка была отправлена. В ближайшее время наши специалисты с Вами свяжутся по указанному Вами телефону.

Представьтесь
Поле обязательно для заполнения
Ваш телефон
Введите правильный номер телефона
E-mail
Введите правильный e-mail
Тема
Тема
применяемость финансирование доставка цена, наличие другое сервис и гарантия
Время для звонка
08:00
08:00 09:00 10:00 11:00 12:00 13:00 14:00 15:00 16:00 17:00 18:00 19:00
19:00
08:00 09:00 10:00 11:00 12:00 13:00 14:00 15:00 16:00 17:00 18:00 19:00

Мы постараемся перезвонить в указанное время

Если вы не хотите ждать, то звоните нашим вежливым консультантам:

8 800 100-2-700
Подтвердите, что вы не робот
Подтвердите, что вы не робот
Спасибо!

Ваше сообщение успешно отправлено!

ЗакрытьПовторить попытку