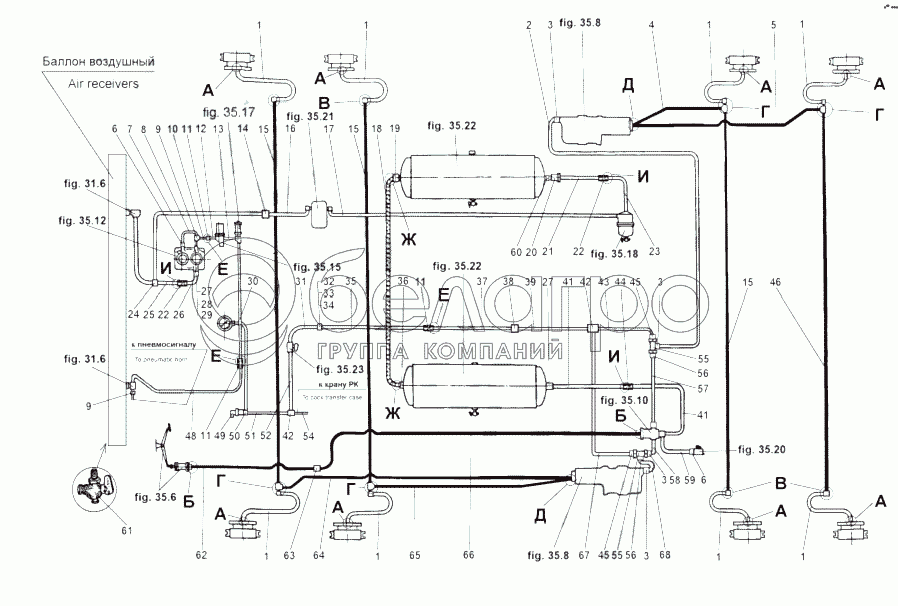
Каталог запасных частей к технике: МАЗ-543 (7310). Установка трубопроводов 543M

zoom-in zoom-out enlarge shrink circle-right circle-left file-text2 info cart arraw right arraw left zoom out zoom in arraw maximize arraw minimize
1
1
1
1
1
1
1
1
2
3
3
3
3
4
5
6
6
7
8
9
9
10
11
11
11
12
13
14
15
15
15
16
17
18
19
20
21
22
22
23
24
25
26
27
27
28
29
30
31
32
33
34
35
36
37
38
39
41
41
42
42
43
44
45
45
46
48
49
50
51
52
54
55
55
56
56
57
58
59
60
61
62
63
64
65
66
67
68
500-1104542
Втулка
В узле: 8
543-1804397
Прокладка
В узле: 9
543-3506222
Прокладка
В узле: 23
543-3506223
Прокладка
В узле: 40
543-3506210
Втулка
В узле: 2
543-3506215
Втулка
В узле: 9
543-3506226-А
Прокладка
В узле: 9
379675
Кляммер
В узле: 1
379679
Кляммер
В узле: 1
379164
Кляммер
В узле: 20
379168
Кляммер
В узле: 6
379173
Кляммер
В узле: 2
379198
Кляммер
В узле: 9
379206
Кляммер
В узле: 14
379215
Кляммер
В узле: 2
379223
Кляммер
В узле: 4
315406
Кляммер
В узле: 2
315409
Кляммер
В узле: 3
315412
Кляммер
В узле: 1
200-3724015
Втулка резиновая
В узле: 1
547А-3724870
Втулка
В узле: 1
547А-3724872
Втулка
В узле: 1
401879
Кляммер
В узле: 4
401892
Кляммер
В узле: 8
535А-3506404
Шланг защитный
В узле: 3
543М-3506586-10
Кронштейн
В узле: 2
543М-3506043
Пружина
В узле: 4
543-3506433-20
Скоба верхняя
В узле: 4
543-3506434-30
Скоба нижняя
В узле: 4
543М-3506438-10
Хомут
В узле: 2
543П-3506438
Хомут
В узле: 4
258053
Шплинт 4х25
В узле: 2
252035
Шайба 4
В узле: 2
375085
Гайка М33х1,5-5H6Н
В узле: 2
200221
Болт М6-6gх60
В узле: 2
201416
Болт М6-6gх12
В узле: 10
201418
Болт М6-6gх16
В узле: 13
201422
Болт М6-6gх25
В узле: 24
201460
Болт М8-6gх30
В узле: 4
201495
Болт М10-6gх20
В узле: 10
240836
Винт 5х12
В узле: 1
543-3506176
Колодка
В узле: 4
543-3506167
Колодка
В узле: 4
252135
Шайба 8Т
В узле: 4
252136
Шайба 10.ОТ
В узле: 10
315408
Кляммер
В узле: 1
250510
Гайка М8-6Н
В узле: 4
250512
Гайка М10-6Н
В узле: 2
1
543-3506410-А
Шланг тормозной
В узле: 8
2
543-3506282
Воздухопровод
В узле: 1
3
379057
Угольник
В узле: 4
4
543В-3506421
Гидропровод
В узле: 1
5
543В-3506446
Гидропровод
В узле: 1
6
314612
Ниппель
В узле: 2
7
543В-3506205
Воздухопровод
В узле: 1
8
543-3506352
Воздухопровод
В узле: 1
9
379435
Тройник ввертный
В узле: 2
10
543-3506350
Воздухопровод
В узле: 1
11
535А-3506408
Рукав d.10
В узле: 3
12
543-3506221
Воздухопровод
В узле: 1
13
543-3506236
Воздухопровод
В узле: 1
14
314610
Ниппель
В узле: 1
15
543-3506376
Гидропровод
В узле: 3
16
543В-3506206-10
Воздухопровод
В узле: 1
17
543В-3506207
Воздухопровод
В узле: 1
18
543-3506109
Шланг
В узле: 1
19
379829
Угольник
В узле: 1
20
543-3515075-11
Клапан обратный
В узле: 1
21
543В-3506208
Воздухопровод
В узле: 1
22
535А-3506109
Шланг соединительный
В узле: 2
23
543В-3506296
Воздухопровод
В узле: 1
24
379563
Тройник
В узле: 1
25
543-3506199
Воздухопровод
В узле: 1
26
543-3506219
Воздухопровод
В узле: 1
27
379080
Угольник
В узле: 2
28
379260
Муфта конусная 18
В узле: 1
29
405682
Гайка накидная 1-18
В узле: 14
30
543-3506224
Воздухопровод
В узле: 1
31
543-3506154
Воздухопровод
В узле: 1
32
543-3506120-10
Пластина
В узле: 1
33
379594
Тройник
В узле: 1
34
402753
Угольник
В узле: 1
35
543-3506142
Воздухопровод
В узле: 1
36
535А-4225098
Угольник конечный
В узле: 1
37
543-3506144
Воздухопровод
В узле: 1
38
379002
Ниппель проходной
В узле: 1
39
543В-3506146
Воздухопровод
В узле: 1
41
543В-3506244-10
Воздухопровод
В узле: 2
42
379117
Тройник переходной 10
В узле: 2
43
543В-3506148
Воздухопровод
В узле: 1
44
543-3506114
Рукав Ф18
В узле: 1
45
314614
Гайка М12х1,5-5Н6Н
В узле: 2
46
543-3506390
Гидропровод
В узле: 1
48
543-3506348
Воздухопровод
В узле: 1
49
543-3525010-02
Клапан буксирный
В узле: 1
50
543-3506132
Переходник
В узле: 1
51
543-3506325-10
Воздухопровод
В узле: 1
52
543-3506152
Воздухопровод
В узле: 1
54
543-3506150
Воздухопровод
В узле: 1
55
543-3515100
Клапан переключения
В узле: 2
56
379036
Ниппель
В узле: 2
57
543В-3506280
Воздухопровод
В узле: 1
58
543В-3506268-10
Воздухопровод
В узле: 1
59
543-3506360
Воздухопровод
В узле: 1
60
543В-3506098
Переходник
В узле: 1
61
543-3515010
Кран спускной
В узле: 2
62
543-3506525-10
Гидропровод
В узле: 1
63
401556
Ниппель
В узле: 1
64
543-3506373
Гидропровод
В узле: 1
65
543-3506400
Гидропровод
В узле: 1
66
543М-3506528
Гидропровод
В узле: 1
67
543В-3506145
Воздухопровод
В узле: 1
68
543В-3506270-10
Воздухопровод
В узле: 1
80
543-3506018
Болт
В узле: 8
81
543-3506013
Прокладка
В узле: 16
82
543-3506426
Тройник
В узле: 8
83
375992
Шайба
В узле: 4
84
543-3506045
Муфта соединительная
В узле: 2
85
543-3506016
Болт
В узле: 2
86
250559
Гайка М14х1,5-6Н
В узле: 8
87
252158
Шайба 14Л
В узле: 8
88
535Б-3506379-01
Ниппель угловой
В узле: 4
89
543-3506379-01
Ниппель угловой
В узле: 4
90
376120
Шайба 18
В узле: 4
91
543-3506010
Тройник
В узле: 2
92
543-3506012
Болт
В узле: 2
93
297575
Шплинт 5,6х22
В узле: 12
94
297580
Пряжка
В узле: 12
95
297582
Лента
В узле: 12
97
370537
Болт М6-6gх35
В узле: 14
98
252004
Шайба 6
В узле: 30
99
535Б-3506112
Хомут шланга
В узле: 14
100
374179
Гайка М6-6Н
В узле: 14
101
379254
Муфта
В узле: 26
102
379255
Муфта 14
В узле: 6
103
379257
Муфта 18
В узле: 13
104
0000-3506717
Кольцо 008-011-19-2-2
В узле: 26
105
0000-1602722
Кольцо 012-016-25-2-2
В узле: 6
106
0000-2402726
Кольцо 016-020-25-2-2
В узле: 13
107
405641
Гайка стяжная
В узле: 26
108
405662
Гайка накидная 1-14
В узле: 6
109
200226
Болт М6-6gх85
В узле: 18
110
543-3506172
Втулка
В узле: 18
111
535А-3506160
Колодка
В узле: 2
112
535А-3506165
Колодка воздухопроводов
В узле: 8
114
252134
Шайба 6Т
В узле: 71
115
250508
Гайка М6-6Н
В узле: 61
Содержащиеся в справочниках-каталогах запасные части и детали не предлагаются к продаже, а носят исключительно информационный характер

Ваша заявка была отправлена. В ближайшее время наши специалисты с Вами свяжутся по указанному Вами телефону.

Представьтесь
Поле обязательно для заполнения
Ваш телефон
Введите правильный номер телефона
E-mail
Введите правильный e-mail
Тема
Тема
применяемость финансирование доставка цена, наличие другое сервис и гарантия
Время для звонка
08:00
08:00 09:00 10:00 11:00 12:00 13:00 14:00 15:00 16:00 17:00 18:00 19:00
19:00
08:00 09:00 10:00 11:00 12:00 13:00 14:00 15:00 16:00 17:00 18:00 19:00

Мы постараемся перезвонить в указанное время

Если вы не хотите ждать, то звоните нашим вежливым консультантам:

8 800 100-2-700
Подтвердите, что вы не робот
Подтвердите, что вы не робот
Спасибо!

Ваше сообщение успешно отправлено!

ЗакрытьПовторить попытку