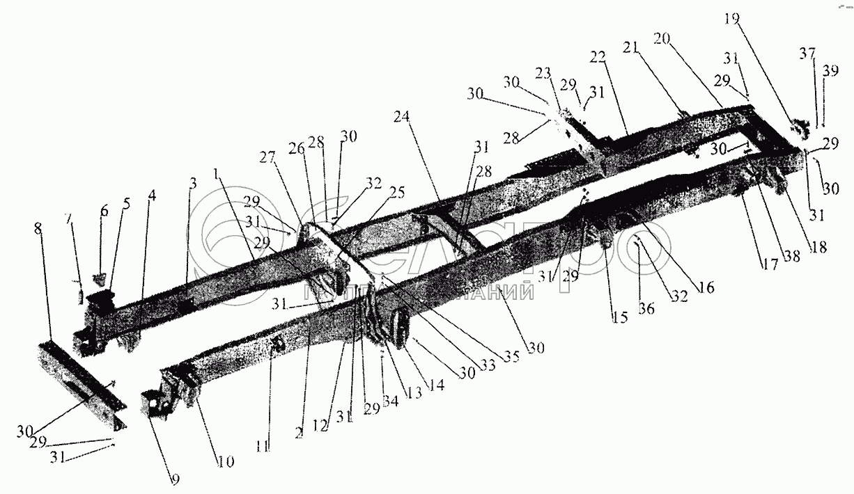
Каталог запасных частей к технике: МАЗ-5440. Рама 544008-рессорная подвеска

zoom-in zoom-out enlarge shrink circle-right circle-left file-text2 info cart arraw right arraw left zoom out zoom in arraw maximize arraw minimize
1
1
2
2
3
4
5
6
7
8
9
10
11
12
12
13
14
15
16
17
18
19
20
21
22
23
24
25
26
27
28
28
28
29
29
29
29
29
29
29
29
30
30
30
30
30
30
30
30
31
31
31
31
31
31
31
31
31
32
32
33
34
35
36
37
38
39
1
544008-2801020-010
Лонжерон правый
В узле: 1
1
544008-2801020
Лонжерон правый
В узле: 1
2
544008-2801021-010
Лонжерон левый
В узле: 1
2
544008-2801021
Лонжерон левый
В узле: 1
3
6430-2906064
Усилитель
В узле: 2
4
6430-2902444
Кронштейн правый
В узле: 1
5
6430-2801088
Кронштейн
В узле: 1
6
6430-5003073-010
Кронштейн
В узле: 1
7
500А-2806117-01
Палец буксирной вилки
В узле: 1
8
6430-2801080
Поперечина
В узле: 1
9
6430-2801089
Кронштейн
В узле: 1
10
6430-2902445
Кронштейн левый
В узле: 1
11
5336-3403190
Кронштейн
В узле: 1
12
6430-2801104
Поперечина
В узле: 1
12
64301-2801104
Поперечина
В узле: 1
13
6430-2801119
Кронштейн
В узле: 1
14
6430-2902447
Кронштейн
В узле: 2
15
5440-2912444
Кронштейн
В узле: 2
16
5440-2913444
Кронштейн
В узле: 2
17
64221-2906042
Кронштейн
В узле: 2
18
500A-2912446
Кронштейн
В узле: 2
19
503A-2805158
Вилка с пружиной
В узле: 1
20
6430-2801172-010
Поперечина
В узле: 1
21
5432-2913444-01
Кронштейн
В узле: 2
22
544008-2801073
Усилитель
В узле: 2
23
544008-2801152
Поперечина
В узле: 1
24
6430-2801100
Поперечина
В узле: 1
25
6430-2902462
Усилитель
В узле: 2
26
6430-2801103
Поперечина
В узле: 1
27
6430-2801119
Кронштейн
В узле: 1
28
252017
Шайба 16
В узле: 6
29
252139
Шайба 16.ОТ
В узле: 42
30
372629
Болт М16х1,5-6gх45
В узле: 34
31
374727
Гайка М16х1,5-5Н6Н
В узле: 42
32
372613
Болт М16х1,5-6gх55
В узле: 4
33
252016
Шайба 14
В узле: 8
34
250558
Гайка М14-6Н
В узле: 16
35
201593
Болт М14-6gх50
В узле: 8
36
401070-01
Винт М16х1,5-6gх55
В узле: 2
37
252141
Шайба 20.ОТ
В узле: 4
38
372882
Болт М20х1,5-6gх55
В узле: 4
39
250565
Гайка М20х1,5-6Н
В узле: 4
Содержащиеся в справочниках-каталогах запасные части и детали не предлагаются к продаже, а носят исключительно информационный характер

Ваша заявка была отправлена. В ближайшее время наши специалисты с Вами свяжутся по указанному Вами телефону.

Представьтесь
Поле обязательно для заполнения
Ваш телефон
Введите правильный номер телефона
E-mail
Введите правильный e-mail
Тема
Тема
применяемость финансирование доставка цена, наличие другое сервис и гарантия
Время для звонка
08:00
08:00 09:00 10:00 11:00 12:00 13:00 14:00 15:00 16:00 17:00 18:00 19:00
19:00
08:00 09:00 10:00 11:00 12:00 13:00 14:00 15:00 16:00 17:00 18:00 19:00

Мы постараемся перезвонить в указанное время

Если вы не хотите ждать, то звоните нашим вежливым консультантам:

8 800 100-2-700
Подтвердите, что вы не робот
Подтвердите, что вы не робот
Спасибо!

Ваше сообщение успешно отправлено!

ЗакрытьПовторить попытку