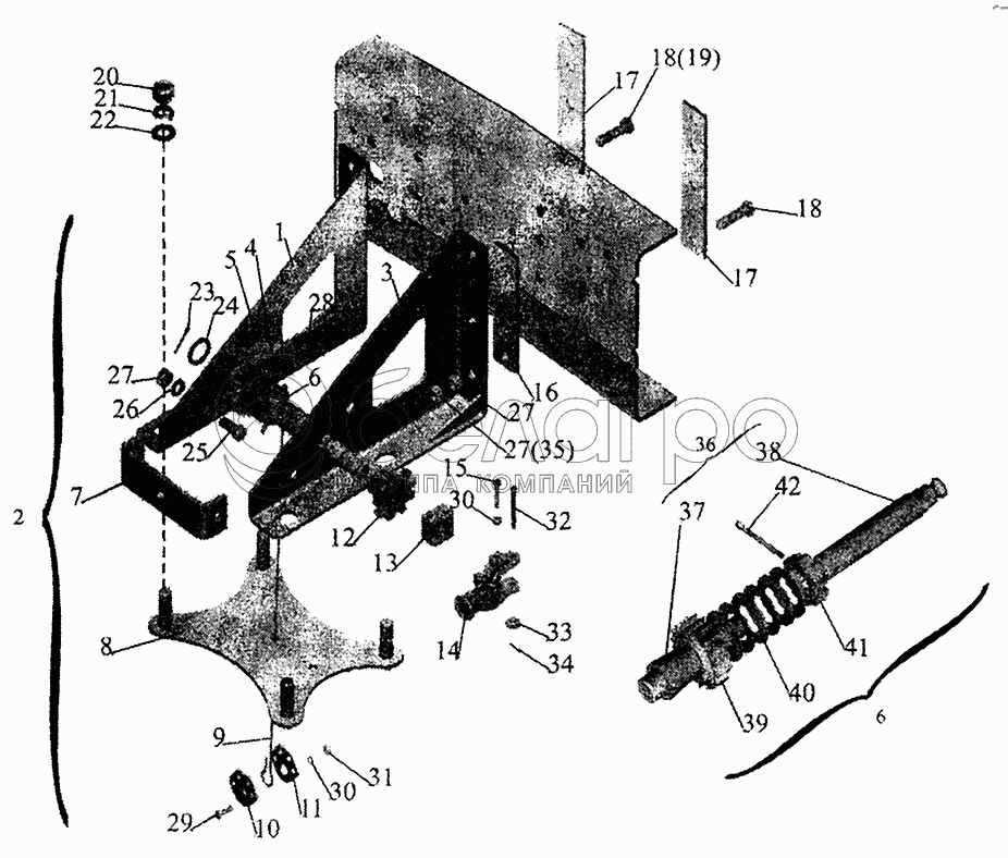
Каталог запасных частей к технике: МАЗ-5440. Установка запасного колеса

zoom-in zoom-out enlarge shrink circle-right circle-left file-text2 info cart arraw right arraw left zoom out zoom in arraw maximize arraw minimize
1
2
3
4
5
6
6
7
8
9
10
11
12
13
14
15
16
17
17
18
18
19
20
21
22
23
24
25
26
27
27
27
28
29
30
30
31
32
33
34
35
36
37
38
39
40
41
41
42
1
5440-3105051-010
Кронштейн
В узле: 1
2
5440-3105050-010
Кронштейн
В узле: 1
3
5440-3105040
Кронштейн
В узле: 1
4
886Б-3105294
Пружина
В узле: 1
5
886-3508030
Собачка
В узле: 1
6
5440-3105060
Вал
В узле: 1
7
54321-3105093
Стойка
В узле: 1
8
54321-3105164
Держатель
В узле: 1
9
5432-3105140
Канат
В узле: 1
10
8925-3105147
Держатель троса
В узле: 1
11
886Б-3105150
Щека
В узле: 1
12
6317-3105124
Звездочка
В узле: 1
13
6317-3105126
Опора
В узле: 1
14
6317-3105113
Захват
В узле: 1
15
64229-1303662
Стяжка
В узле: 1
16
5440-3105022-020
Пластина
В узле: 1
17
5440-3105022-010
Пластина
В узле: 2
18
372613
Болт М16х1,5-6gх55
В узле: 4
19
372629
Болт М16х1,5-6gх45
В узле: 4
20
374904-01
Гайка М20х1,5
В узле: 4
21
252141
Шайба 20.ОТ
В узле: 4
22
252019-10
Шайба 20
В узле: 4
23
258085
Шплинт 6,3х50
В узле: 1
24
376222
Шайба 30
В узле: 1
25
372592
Болт М16х1,5-6gх35
В узле: 2
26
252139
Шайба 16.ОТ
В узле: 2
27
250561
Гайка М16х1,5-6Н
В узле: 6
28
258054
Шплинт 4,0х32
В узле: 1
29
201458
Болт М8-6gх25
В узле: 4
30
252135
Шайба 8Т
В узле: 4
31
250510
Гайка М8-6Н
В узле: 5
32
260048
Палец 8х70
В узле: 1
33
252038
Шайба 8
В узле: 1
34
258038
Шплинт 3,2х16
В узле: 1
35
250636
Гайка М16х1,5-6Н
В узле: 8
36
5440-3105063
Вал
В узле: 1
37
5336-3105112
Вороток
В узле: 1
38
5440-3105103
Наконечник
В узле: 1
39
886Б-3105064-02
Колесо храповое
В узле: 1
40
504-3105125
Пружина тарельчатая
В узле: 6
41
311702
Гайка М33х1,5-5Н6Н
В узле: 1
41
5336-3105026
Гайка М33х1,5
В узле: 1
42
[Шплинт 6,3х63]
Шплинт 6,3х63
В узле: 1
Содержащиеся в справочниках-каталогах запасные части и детали не предлагаются к продаже, а носят исключительно информационный характер

Ваша заявка была отправлена. В ближайшее время наши специалисты с Вами свяжутся по указанному Вами телефону.

Представьтесь
Поле обязательно для заполнения
Ваш телефон
Введите правильный номер телефона
E-mail
Введите правильный e-mail
Тема
Тема
применяемость финансирование доставка цена, наличие другое сервис и гарантия
Время для звонка
08:00
08:00 09:00 10:00 11:00 12:00 13:00 14:00 15:00 16:00 17:00 18:00 19:00
19:00
08:00 09:00 10:00 11:00 12:00 13:00 14:00 15:00 16:00 17:00 18:00 19:00

Мы постараемся перезвонить в указанное время

Если вы не хотите ждать, то звоните нашим вежливым консультантам:

8 800 100-2-700
Подтвердите, что вы не робот
Подтвердите, что вы не робот
Спасибо!

Ваше сообщение успешно отправлено!

ЗакрытьПовторить попытку