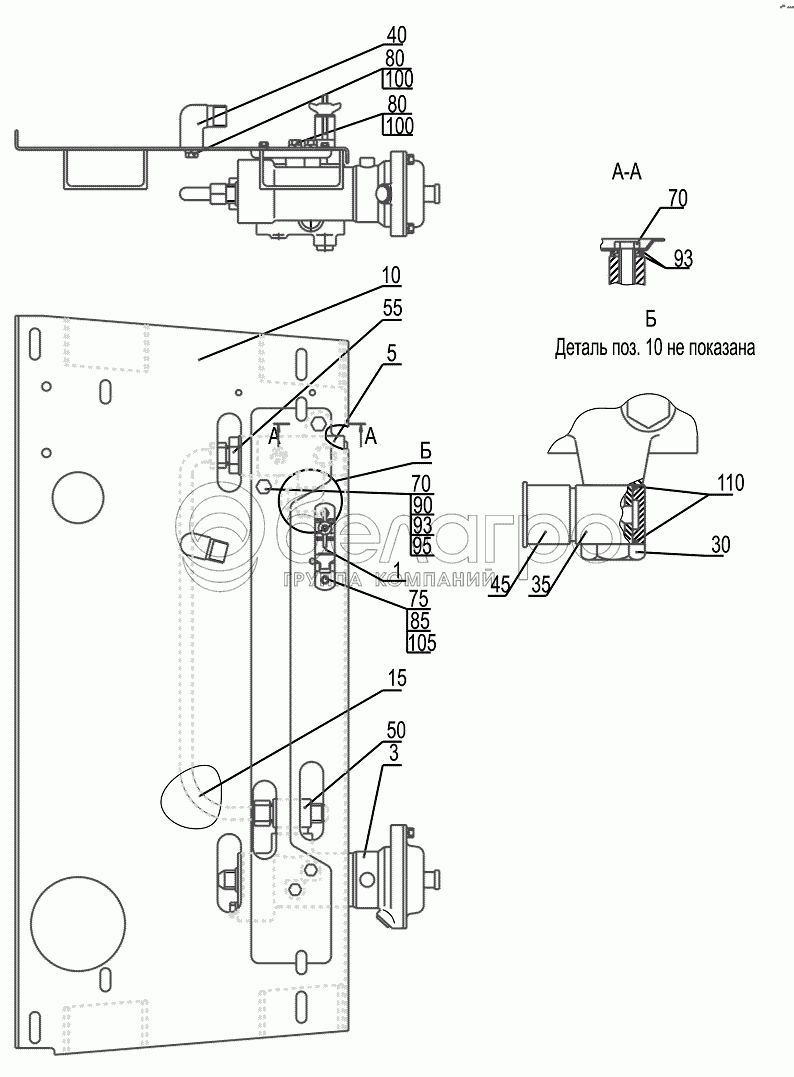
Каталог запасных частей к технике: МАЗ-5440B9, 6430B9. Кронштейн с арматурой 6430В9-8608008-000

zoom-in zoom-out enlarge shrink circle-right circle-left file-text2 info cart arraw right arraw left zoom out zoom in arraw maximize arraw minimize
1
3
5
10
15
30
35
40
45
50
55
70
70
75
80
80
85
90
93
93
95
100
100
105
110
1
210Д-3506382
Зажим соединительный головки в сборе
В узле: 1
3
64228-8607010
Клапан
В узле: 1
5
64228-8607110
Клапан расхода и давления
В узле: 1
10
544008-8608640
Кронштейн
В узле: 1
15
64228-8609461
Трубка
В узле: 1
30
64228-8607121
Болт приводной
В узле: 1
35
64228-8607129
Наконечник
В узле: 1
40
54331-8609637
Фиксатор
В узле: 1
45
378979
Заглушка
В узле: 1
50
379565-10
Тройник
В узле: 1
55
379347
Штуцер
В узле: 1
70
200269
Болт М8-6gх50
В узле: 2
75
201420
Болт М6-6gх20
В узле: 2
80
201495
Болт М10-6gх20
В узле: 3
85
250508
Гайка М6-6Н
В узле: 2
90
250510
Гайка М8-6Н
В узле: 2
93
252039
Шайба 10
В узле: 4
95
252135
Шайба 8Т
В узле: 2
100
252136
Шайба 10.ОТ
В узле: 3
105
252154
Шайба 6Л
В узле: 2
110
021-025-25-2-3
Кольцо
В узле: 2
Содержащиеся в справочниках-каталогах запасные части и детали не предлагаются к продаже, а носят исключительно информационный характер

Ваша заявка была отправлена. В ближайшее время наши специалисты с Вами свяжутся по указанному Вами телефону.

Представьтесь
Поле обязательно для заполнения
Ваш телефон
Введите правильный номер телефона
E-mail
Введите правильный e-mail
Тема
Тема
применяемость финансирование доставка цена, наличие другое сервис и гарантия
Время для звонка
08:00
08:00 09:00 10:00 11:00 12:00 13:00 14:00 15:00 16:00 17:00 18:00 19:00
19:00
08:00 09:00 10:00 11:00 12:00 13:00 14:00 15:00 16:00 17:00 18:00 19:00

Мы постараемся перезвонить в указанное время

Если вы не хотите ждать, то звоните нашим вежливым консультантам:

8 800 100-2-700
Подтвердите, что вы не робот
Подтвердите, что вы не робот
Спасибо!

Ваше сообщение успешно отправлено!

ЗакрытьПовторить попытку