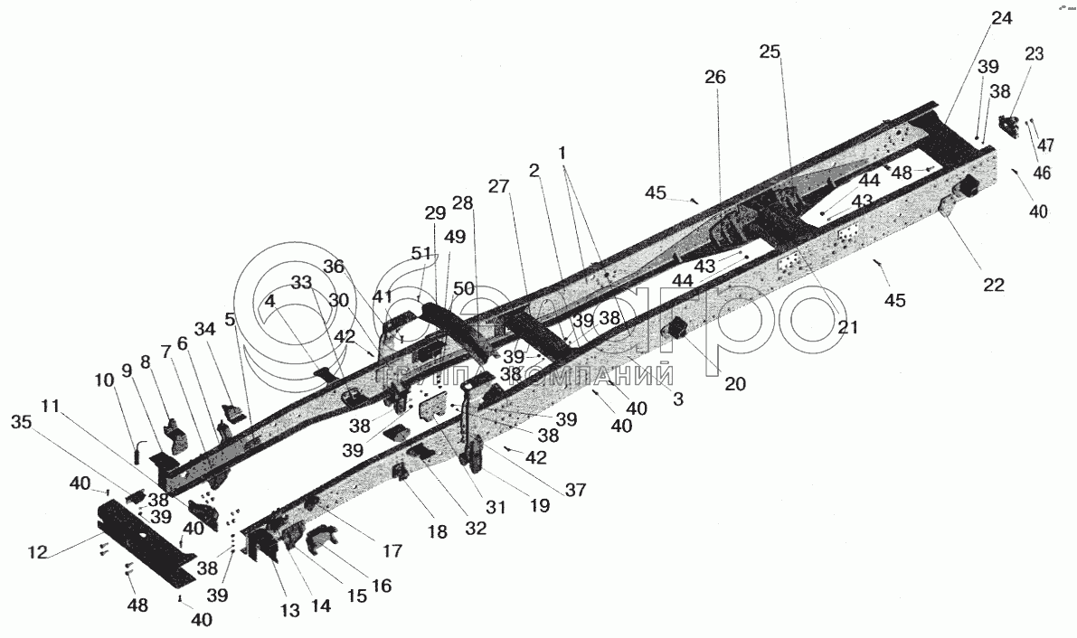
Каталог запасных частей к технике: МАЗ-5551 (2003). Рама 551603, 551605

zoom-in zoom-out enlarge shrink circle-right circle-left file-text2 info cart arraw right arraw left zoom out zoom in arraw maximize arraw minimize
1
1
1
1
1
1
1
1
2
2
2
3
3
3
4
5
6
7
8
8
9
9
10
11
12
12
13
13
14
15
16
17
18
19
20
21
22
23
24
25
26
27
28
29
30
31
32
32
33
34
35
36
37
38
38
38
38
38
38
38
39
39
39
39
39
39
39
40
40
40
40
40
40
41
42
42
43
43
44
44
45
45
46
47
48
48
49
50
51
1
551605-2801002
Рама
В узле: 1
1
551603-2801002
Рама
В узле: 1
1
551605-2801002-050
Рама
В узле: 1
1
551605-2801002-040
Рама
В узле: 1
1
551605-2801002-030
Рама
В узле: 1
1
551605-2801002-010
Рама
В узле: 1
1
551603-2801002-010
Рама
В узле: 1
1
551605-2801002-020
Рама
В узле: 1
2
551600-2801014
Лонжерон правый
В узле: 1
2
551605-2801014
Лонжерон правый
В узле: 1
2
551605-2801014-010
Лонжерон правый
В узле: 1
3
551603-2801015
Лонжерон левый
В узле: 1
3
551605-2801015
Лонжерон левый
В узле: 1
3
551605-2801015-010
Лонжерон левый
В узле: 1
4
5551-5001172
Кронштейн
В узле: 2
5
543208-2906064
Уголок
В узле: 2
6
54326-2801074-001
Усилитель
В узле: 1
7
64226-2902444
Кронштейн
В узле: 1
8
5551-5001720-20
Опора правая
В узле: 1
8
64226-5001720-30
Опора правая
В узле: 1
9
5432-2801088-01
Кронштейн
В узле: 1
9
5551-2801088
Кронштейн
В узле: 1
10
500А-2806117-01
Палец буксирной вилки
В узле: 1
11
500А-2806115
Вилка с пружиной
В узле: 1
12
533602-2801080
Поперечина
В узле: 1
12
64226-2801080
Поперечина
В узле: 1
13
5432-2801089-01
Кронштейн
В узле: 1
13
5551-2801089
Кронштейн
В узле: 1
14
64226-5001721-20
Опора левая
В узле: 2
15
64226-2902445
Кронштейн
В узле: 1
16
5336-3403016
Кронштейн
В узле: 1
17
64227-1001048
Кронштейн
В узле: 2
18
5336-3403190
Кронштейн
В узле: 1
19
5336-2902446
Кронштейн передней рессоры задний
В узле: 2
20
5432-2913444-01
Кронштейн
В узле: 4
21
64221-2801150-10
Поперечина
В узле: 1
22
5516-2916042-10
Кронштейн
В узле: 2
23
503А-2805158
Вилка с пружиной
В узле: 1
24
514-2801184
Поперечина
В узле: 1
25
5516-2918158
Укосина
В узле: 2
26
5516-2918159
Укосина
В узле: 2
27
54323-2801100
Поперечина
В узле: 1
28
5336-2801102
Поперечина
В узле: 1
29
55512-280117
Кронштейн
В узле: 2
30
55165-2902462
Усилитель
В узле: 1
31
55165-2902463
Усилитель
В узле: 1
32
5336-1001049
Кронштейн
В узле: 2
32
5551-1001050
Кронштейн
В узле: 1
33
5551-1001049
Кронштейн
В узле: 1
34
64229-5003073
Кронштейн
В узле: 1
35
64226-2801088
Кронштейн
В узле: 1
36
64221-2801118-01
Кронштейн
В узле: 1
37
64221-2301119-01
Кронштейн
В узле: 1
38
252139
Шайба 16.ОТ
В узле: 23
39
374727
Гайка М16х1,5-5Н6Н
В узле: 23
40
372629
Болт М16х1,5-6gх45
В узле: 14
41
372513
Болт М16х1,5-6gх55
В узле: 5
42
372611
Болт М16х1,5-6gх65
В узле: 12
43
252140
Шайба 18.ОТ
В узле: 24
44
374727
Гайка М16х1,5-5Н6Н
В узле: 24
45
372768-10
Болт М18х1,5-6gх65
В узле: 24
46
252241
Шайба 20ОТ
В узле: 8
47
250565
Гайка М20х1,5-6Н
В узле: 8
48
372882
Болт М20х1,5-6gх55
В узле: 8
49
252016
Шайба 14
В узле: 8
50
250558
Гайка М14-6Н
В узле: 16
51
201591
Болт М14-6gх45
В узле: 8
Содержащиеся в справочниках-каталогах запасные части и детали не предлагаются к продаже, а носят исключительно информационный характер

Ваша заявка была отправлена. В ближайшее время наши специалисты с Вами свяжутся по указанному Вами телефону.

Представьтесь
Поле обязательно для заполнения
Ваш телефон
Введите правильный номер телефона
E-mail
Введите правильный e-mail
Тема
Тема
применяемость финансирование доставка цена, наличие другое сервис и гарантия
Время для звонка
08:00
08:00 09:00 10:00 11:00 12:00 13:00 14:00 15:00 16:00 17:00 18:00 19:00
19:00
08:00 09:00 10:00 11:00 12:00 13:00 14:00 15:00 16:00 17:00 18:00 19:00

Мы постараемся перезвонить в указанное время

Если вы не хотите ждать, то звоните нашим вежливым консультантам:

8 800 100-2-700
Подтвердите, что вы не робот
Подтвердите, что вы не робот
Спасибо!

Ваше сообщение успешно отправлено!

ЗакрытьПовторить попытку