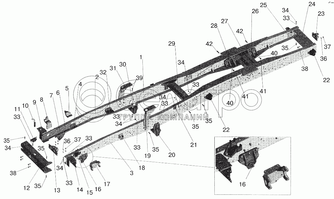
Каталог запасных частей к технике: МАЗ-6422. Рама 642208, 642205-рессорная подвеска

zoom-in zoom-out enlarge shrink circle-right circle-left file-text2 info cart arraw right arraw left zoom out zoom in arraw maximize arraw minimize
1
1
1
1
2
2
3
3
4
5
6
7
8
9
10
11
12
13
14
15
16
16
16
17
18
19
20
21
22
22
23
24
25
26
27
28
29
30
31
32
33
33
33
33
33
33
33
33
34
34
34
34
34
34
35
35
35
35
35
35
35
36
36
37
37
38
38
39
40
40
41
41
42
42
1
642208-2801002
Рама
В узле: 1
1
642205-2801002
Рама
В узле: 1
1
642208-2801002-010
Рама
В узле: 1
1
642205-2801002-010
Рама
В узле: 1
2
642208-2801014
Лонжерон правый
В узле: 1
2
642208-2801014-010
Лонжерон правый
В узле: 1
3
642208-2801015
Лонжерон левый
В узле: 1
3
642208-2801015-010
Лонжерон левый
В узле: 1
4
543208-2906064
Уголок
В узле: 2
5
64229-5003073
Кронштейн
В узле: 1
6
54326-2801074-001
Усилитель
В узле: 1
7
64226-2902444
Кронштейн
В узле: 1
8
64226-5001720-20
Опора правая
В узле: 1
9
5432-2801088-01
Кронштейн
В узле: 1
10
500А-2806117-01
Палец буксирной вилки
В узле: 1
11
64226-2801088
Кронштейн
В узле: 1
12
543224-2801080
Поперечина
В узле: 1
13
500А-2806115
Вилка с пружиной
В узле: 1
14
5432-2801089-01
Кронштейн
В узле: 1
15
64226-5001721-20
Опора левая
В узле: 1
16
64221-2902444
Кронштейн
В узле: 2
16
64226-2902445
Кронштейн
В узле: 1
17
5336-3403016
Кронштейн
В узле: 1
18
5336-3403190
Кронштейн
В узле: 1
19
64221-2801119-01
Кронштейн
В узле: 1
20
64221-2902447
Кронштейн
В узле: 2
21
64221-2802064
Кронштейн
В узле: 2
22
54327-85111122
Кронштейн
В узле: 4
23
503А-2805158
Вилка с пружиной
В узле: 1
24
6422-2801175-01
Поперечина
В узле: 1
25
54327-2801114
Подкладка
В узле: 4
26
5516-2918159
Укосина
В узле: 2
27
64221-2801150-10
Поперечина
В узле: 1
28
5516-2918158
Укосина
В узле: 2
29
64221-2801100
Поперечина
В узле: 1
30
5336-2902462
Усилитель кронштейна
В узле: 2
31
64221-2801118-01
Кронштейн
В узле: 1
32
5336-1001049
Кронштейн
В узле: 2
33
252139
Шайба 16.ОТ
В узле: 29
34
374727
Гайка М16х1,5-5Н6Н
В узле: 29
35
372629
Болт М16х1,5-6gх45
В узле: 25
36
252241
Шайба 20ОТ
В узле: 8
37
250565
Гайка М20х1,5-6Н
В узле: 8
38
372882
Болт М20х1,5-6gх55
В узле: 8
39
372613
Болт М16х1,5-6gх55
В узле: 4
40
252140
Шайба 18.ОТ
В узле: 24
41
374727
Гайка М16х1,5-5Н6Н
В узле: 24
42
372768-10
Болт М18х1,5-6gх65
В узле: 24
Содержащиеся в справочниках-каталогах запасные части и детали не предлагаются к продаже, а носят исключительно информационный характер

Ваша заявка была отправлена. В ближайшее время наши специалисты с Вами свяжутся по указанному Вами телефону.

Представьтесь
Поле обязательно для заполнения
Ваш телефон
Введите правильный номер телефона
E-mail
Введите правильный e-mail
Тема
Тема
применяемость финансирование доставка цена, наличие другое сервис и гарантия
Время для звонка
08:00
08:00 09:00 10:00 11:00 12:00 13:00 14:00 15:00 16:00 17:00 18:00 19:00
19:00
08:00 09:00 10:00 11:00 12:00 13:00 14:00 15:00 16:00 17:00 18:00 19:00

Мы постараемся перезвонить в указанное время

Если вы не хотите ждать, то звоните нашим вежливым консультантам:

8 800 100-2-700
Подтвердите, что вы не робот
Подтвердите, что вы не робот
Спасибо!

Ваше сообщение успешно отправлено!

ЗакрытьПовторить попытку