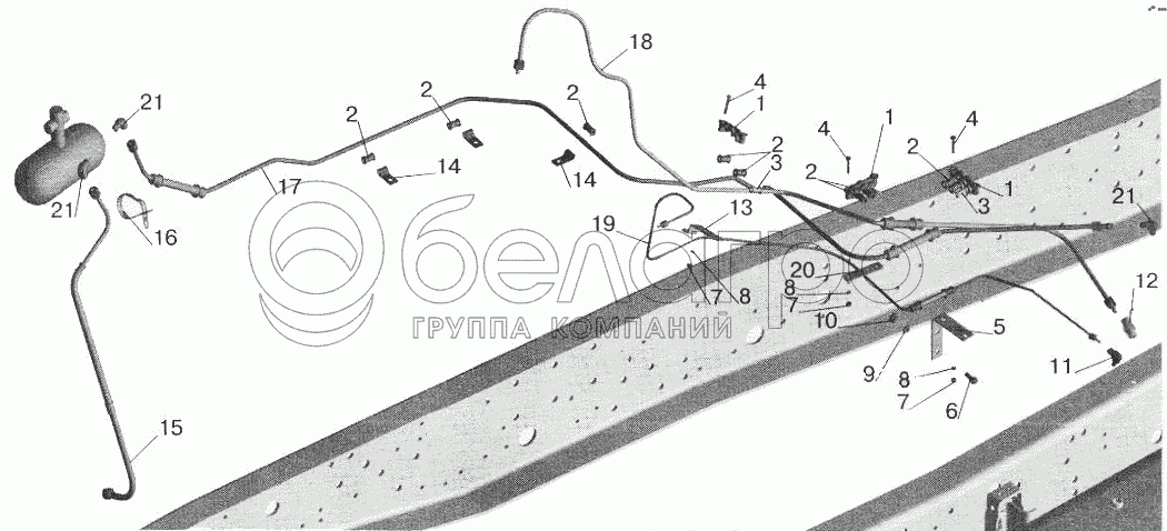
Каталог запасных частей к технике: МАЗ-6422. Установка топливопроводов МАЗ-555102 (с подогревателем)

zoom-in zoom-out enlarge shrink circle-right circle-left file-text2 info cart arraw right arraw left zoom out zoom in arraw maximize arraw minimize
1
1
1
2
2
2
2
2
2
3
3
4
4
4
5
6
7
7
7
8
8
8
9
10
11
12
13
14
14
15
16
17
18
19
20
21
21
21
1
5551-1104012
Хомут
В узле: 3
2
500-1104540
Втулка
В узле: 9
3
500-1104541-Б
Втулка
В узле: 3
4
200213
Болт М6-6gх35
В узле: 6
5
6337-1104016
Кронштейн
В узле: 1
6
201497
Болт М10-6gх25
В узле: 2
7
250508
Гайка М6-6Н
В узле: 2
8
252134
Шайба 6Т
В узле: 6
9
252136
Шайба 10.ОТ
В узле: 6
10
250512
Гайка М10-6Н
В узле: 2
11
379064
Угольник
В узле: 1
12
314612
Ниппель
В узле: 1
13
555102-1104016
Кронштейн
В узле: 1
14
379166
Кляммер
В узле: 3
15
5551-1104580
Топливопровод бачка ПЖД
В узле: 1
16
64227-3537048
Хомут
В узле: 1
17
555102-1104586
Трубка отводящая
В узле: 1
18
555102-1104492-010
Трубка всасывающая
В узле: 1
19
555102-1104617
Трубка отводящая от форсунок
В узле: 1
20
5551-1104017
Пластина
В узле: 1
21
379053
Угольник
В узле: 3
Содержащиеся в справочниках-каталогах запасные части и детали не предлагаются к продаже, а носят исключительно информационный характер

Ваша заявка была отправлена. В ближайшее время наши специалисты с Вами свяжутся по указанному Вами телефону.

Представьтесь
Поле обязательно для заполнения
Ваш телефон
Введите правильный номер телефона
E-mail
Введите правильный e-mail
Тема
Тема
применяемость финансирование доставка цена, наличие другое сервис и гарантия
Время для звонка
08:00
08:00 09:00 10:00 11:00 12:00 13:00 14:00 15:00 16:00 17:00 18:00 19:00
19:00
08:00 09:00 10:00 11:00 12:00 13:00 14:00 15:00 16:00 17:00 18:00 19:00

Мы постараемся перезвонить в указанное время

Если вы не хотите ждать, то звоните нашим вежливым консультантам:

8 800 100-2-700
Подтвердите, что вы не робот
Подтвердите, что вы не робот
Спасибо!

Ваше сообщение успешно отправлено!

ЗакрытьПовторить попытку