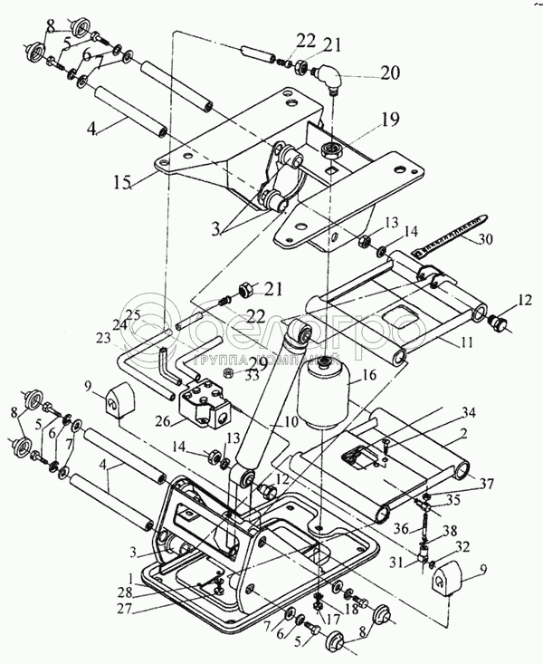
Каталог запасных частей к технике: МАЗ-643068. Подставка сиденья с пневмооборудованием

zoom-in zoom-out enlarge shrink circle-right circle-left file-text2 info cart arraw right arraw left zoom out zoom in arraw maximize arraw minimize
1
2
3
3
4
4
5
5
5
6
6
6
7
7
7
8
8
8
9
9
10
11
12
12
13
13
14
14
15
16
17
18
19
20
21
21
22
22
23
24
25
26
27
28
29
30
31
32
33
34
35
36
37
38
1
6430-6807017
Опора нижняя
В узле: ---
2
6430-6807083-01
Рычаг нижний
В узле: ---
3
6430-6807113
Втулка
В узле: ---
4
6430-6807116
Ось рычага
В узле: ---
5
201497
Болт М10-6gх25
В узле: ---
6
252136
Шайба 10.ОТ
В узле: ---
7
252039
Шайба 10
В узле: ---
8
6430-6807124
Колпачок
В узле: ---
9
504В-6801029-10
Буфер
В узле: ---
10
114.2915019
Амортизатор
В узле: ---
11
6430-6807084-010
Рычаг верхний
В узле: ---
12
6430-6807111
Ось амортизатора
В узле: ---
13
252137
Шайба 12.ОТ
В узле: ---
14
252515
Гайка М12х1,25-6Н
В узле: ---
15
6430-6807016
Опора верхняя
В узле: ---
16
6430-6807008
Пневмобаллон сиденья
В узле: ---
17
201452
Болт М8х12
В узле: ---
18
252135
Шайба 8Т
В узле: ---
19
250640
Гайка М20х1,5
В узле: ---
20
402717
Угольник
В узле: ---
21
401120
Гайка накидная
В узле: ---
22
402405
Ниппель
В узле: ---
23
Труба 6х1 полиамид ПА12 L1=480±3,15
Труба 6х1 полиамид ПА12 L1=480±3,15
В узле: ---
24
Труба 6х1 полиамид ПА12 L2=400± 2,85
Труба 6х1 полиамид ПА12 L2=400± 2,85
В узле: ---
25
Труба 6х1 полиамид ПА12 L3=100±1,75
Труба 6х1 полиамид ПА12 L3=100±1,75
В узле: ---
26
64221-6819010
Распределитель
В узле: ---
27
220107
Винт М6-6gх20
В узле: ---
28
252134
Шайба 6Т
В узле: ---
29
250508
Гайка М6-6Н
В узле: ---
30
64227-3537048
Хомут
В узле: ---
31
6430-6807147
Держатель
В узле: ---
32
6430-6807117
Шайба
В узле: ---
33
6430-6807144
Кронштейн
В узле: ---
34
240618
Винт М4х12 ОСТ37.001.186-81
В узле: ---
35
6430-6807145
Ось
В узле: ---
36
6430-6807146
Тяга
В узле: ---
37
250464
Гайка М5-6Н
В узле: ---
38
6430-6807148
Скоба
В узле: ---
Содержащиеся в справочниках-каталогах запасные части и детали не предлагаются к продаже, а носят исключительно информационный характер

Ваша заявка была отправлена. В ближайшее время наши специалисты с Вами свяжутся по указанному Вами телефону.

Представьтесь
Поле обязательно для заполнения
Ваш телефон
Введите правильный номер телефона
E-mail
Введите правильный e-mail
Тема
Тема
применяемость финансирование доставка цена, наличие другое сервис и гарантия
Время для звонка
08:00
08:00 09:00 10:00 11:00 12:00 13:00 14:00 15:00 16:00 17:00 18:00 19:00
19:00
08:00 09:00 10:00 11:00 12:00 13:00 14:00 15:00 16:00 17:00 18:00 19:00

Мы постараемся перезвонить в указанное время

Если вы не хотите ждать, то звоните нашим вежливым консультантам:

8 800 100-2-700
Подтвердите, что вы не робот
Подтвердите, что вы не робот
Спасибо!

Ваше сообщение успешно отправлено!

ЗакрытьПовторить попытку