Каталог запасных частей к технике: МАЗ-643068. Установка инструментального ящика

zoom-in zoom-out enlarge shrink circle-right circle-left file-text2 info cart arraw right arraw left zoom out zoom in arraw maximize arraw minimize
2
3
3
3
3
4
4
4
4
4
4
4
4
4
4
5
6
7
7
7
7
7
8
8
8
8
8
8
8
8
9
10
11
11
12
12
13
14
15
16
17
18
19
20
20
21
21
22
22
23
23
24
25
26
27
28
29
30
30
30
31
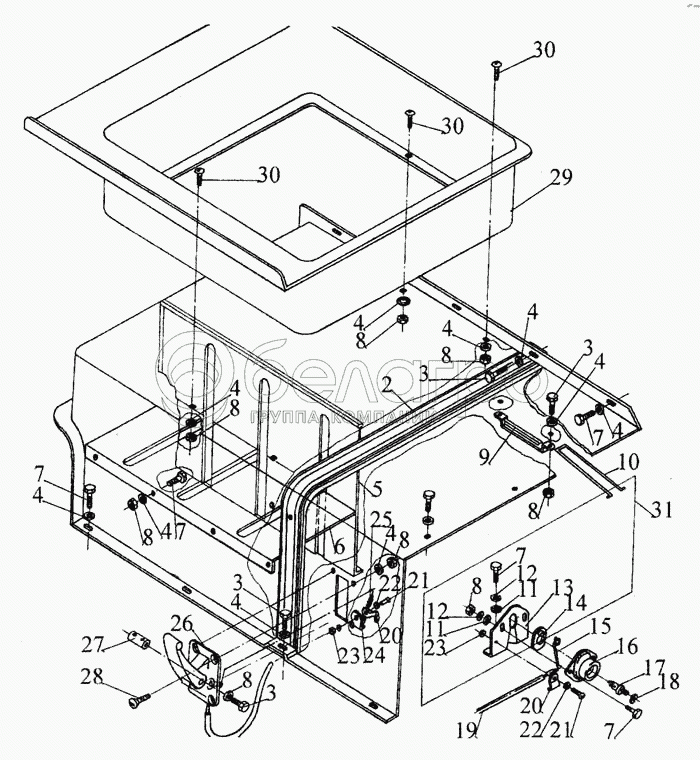
1
6430-5108012
Ящик инструментальный
В узле: ---
2
6430-5108020
Усилитель
В узле: ---
3
201418
Болт М6-6gх16
В узле: ---
4
252263
Шайба 6
В узле: ---
5
6430-5108018
Панель
В узле: ---
6
6430-5108019
Панель средняя
В узле: ---
7
201416
Болт М6-6gх12
В узле: ---
8
250508
Гайка М6-6Н
В узле: ---
9
6430-5108038
Направляющая
В узле: ---
10
6430-5108039
Упор
В узле: ---
11
252037
Шайба 6
В узле: ---
12
252154
Шайба 6Л
В узле: ---
13
6430-5108041
Кронштейн
В узле: ---
14
6430-8406020
Упор
В узле: ---
15
6430-8406024
Пружина
В узле: ---
16
6430-8406018
Корпус замка
В узле: ---
17
6430-8406022
Фиксатор
В узле: ---
18
252155
Шайба 8Л
В узле: ---
19
6430-8406070
Трос
В узле: ---
20
6430-8406073
Прижим
В узле: ---
21
220079
Винт М5-6gх14
В узле: ---
22
252003
Шайба 5
В узле: ---
23
250464
Гайка М5-6Н
В узле: ---
24
6430-8406064
Кронштейн
В узле: ---
25
504В-6804080-10
Пружина
В узле: ---
26
6430-8406040
Привод замка
В узле: ---
27
6430-8406056
Ось
В узле: ---
28
233064-01
Винт 2М6-6gх14
В узле: ---
29
6430-8219249
Подставка-ящик
В узле: ---
30
210358
Болт М6-6gх20
В узле: ---
31
6430-5108043
Уплотнитель
В узле: ---
Содержащиеся в справочниках-каталогах запасные части и детали не предлагаются к продаже, а носят исключительно информационный характер

Ваша заявка была отправлена. В ближайшее время наши специалисты с Вами свяжутся по указанному Вами телефону.

Представьтесь
Поле обязательно для заполнения
Ваш телефон
Введите правильный номер телефона
E-mail
Введите правильный e-mail
Тема
Тема
применяемость финансирование доставка цена, наличие другое сервис и гарантия
Время для звонка
08:00
08:00 09:00 10:00 11:00 12:00 13:00 14:00 15:00 16:00 17:00 18:00 19:00
19:00
08:00 09:00 10:00 11:00 12:00 13:00 14:00 15:00 16:00 17:00 18:00 19:00

Мы постараемся перезвонить в указанное время

Если вы не хотите ждать, то звоните нашим вежливым консультантам:

8 800 100-2-700
Подтвердите, что вы не робот
Подтвердите, что вы не робот
Спасибо!

Ваше сообщение успешно отправлено!

ЗакрытьПовторить попытку