Каталог запасных частей к технике: МАЗ-6517X9-0000410. Крепление топливопроводов 6517X9-1104002-000

zoom-in zoom-out enlarge shrink circle-right circle-left file-text2 info cart arraw right arraw left zoom out zoom in arraw maximize arraw minimize
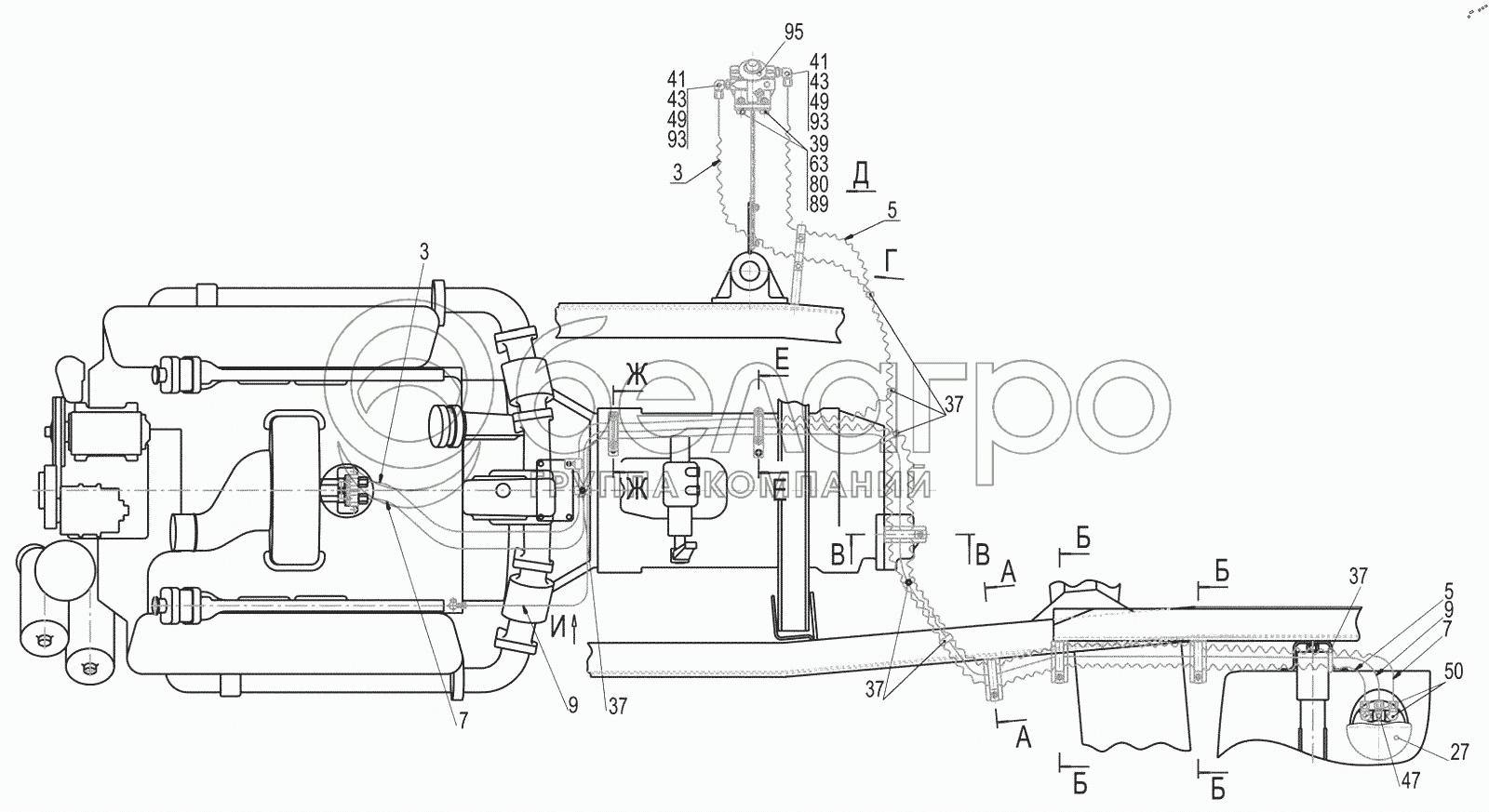
3
3
5
5
7
7
9
9
27
37
37
37
37
39
41
41
43
43
47
49
49
50
63
80
89
93
93
95
1
631705-1104040-010
Кронштейн
В узле: 1
3
6517X9-1104492-000
Трубка всасывающая
В узле: 1
5
6517X9-1104500-000
Трубка заборная
В узле: 1
7
6517X9-1104586-000
Трубка отводящая
В узле: 1
9
651705-1104617-000
Трубка отводящая от форсунок
В узле: 1
12
6517X9-1104013-000
Переходник
В узле: 2
15
5336-1104016
Кронштейн
В узле: 1
20
64221-1104012
Хомут
В узле: 2
22
64221-3724632
Хомут
В узле: 4
24
555102-1104016
Кронштейн
В узле: 1
25
543268-3724294
Кронштейн
В узле: 1
27
64221-1104019-001
Крышка
В узле: 1
29
631705-1104023
Кронштейн
В узле: 1
31
500-1104541-Б
Втулка
В узле: 6
32
500-1104542
Втулка
В узле: 4
33
504В-3504046
Угольник оттяжной пружины
В узле: 1
34
64227-3506027
Прокладка
В узле: 1
35
63031-3521050
Кронштейн
В узле: 3
36
64227-3506028
Прокладка
В узле: 4
37
6430-3724624
Хомут
В узле: 7
38
315407
Кляммер
В узле: 1
39
250514
Гайка М12-6Н
В узле: 2
40
252037
Шайба 6
В узле: 4
41
250636
Гайка М16х1,5-6Н
В узле: 2
42
374837
Гайка М22x1,5-6
В узле: 2
43
375960
Шайба 16
В узле: 2
44
376145
Шайба 22
В узле: 2
45
401879
Кляммер
В узле: 2
47
402766
Угольник
В узле: 1
49
402814
Угольник
В узле: 2
50
402815
Угольник
В узле: 2
52
201420
Болт М6-6gх20
В узле: 7
54
201428
Болт М6-6gх40
В узле: 4
59
201501
Болт М10-6gх35
В узле: 8
61
201540
Болт М12-6gх30
В узле: 1
63
201542
Болт М12-6gх35
В узле: 2
65
201593
Болт М14-6gх50
В узле: 1
68
250508
Гайка М6-6Н
В узле: 11
70
250512
Гайка М10-6Н
В узле: 7
73
250558
Гайка М14-6Н
В узле: 1
74
252004
Шайба 6
В узле: 1
75
252006
Шайба 10
В узле: 2
75
А.10.04.019
Шайба А.10.04.019
В узле: 2
80
252007
Шайба 12
В узле: 3
83
252016
Шайба 14
В узле: 1
85
252134
Шайба 6Т
В узле: 11
87
252136
Шайба 10.ОТ
В узле: 7
89
252137
Шайба 12.ОТ
В узле: 3
91
252138
Шайба 14.ОТ
В узле: 1
93
014-018-25-2-3
Кольцо
В узле: 2
94
022-028-36-2-3
Кольцо
В узле: 2
95
490RHH30MTC-D
Фильтр водоотделитель
В узле: 1
Содержащиеся в справочниках-каталогах запасные части и детали не предлагаются к продаже, а носят исключительно информационный характер

Ваша заявка была отправлена. В ближайшее время наши специалисты с Вами свяжутся по указанному Вами телефону.

Представьтесь
Поле обязательно для заполнения
Ваш телефон
Введите правильный номер телефона
E-mail
Введите правильный e-mail
Тема
Тема
применяемость финансирование доставка цена, наличие другое сервис и гарантия
Время для звонка
08:00
08:00 09:00 10:00 11:00 12:00 13:00 14:00 15:00 16:00 17:00 18:00 19:00
19:00
08:00 09:00 10:00 11:00 12:00 13:00 14:00 15:00 16:00 17:00 18:00 19:00

Мы постараемся перезвонить в указанное время

Если вы не хотите ждать, то звоните нашим вежливым консультантам:

8 800 100-2-700
Подтвердите, что вы не робот
Подтвердите, что вы не робот
Спасибо!

Ваше сообщение успешно отправлено!

ЗакрытьПовторить попытку