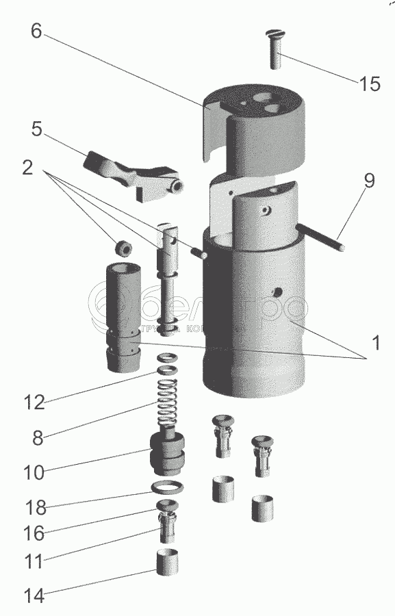
Каталог запасных частей к технике: МАЗ-6517X9-0000410. Переключатель 54402-1703800

zoom-in zoom-out enlarge shrink circle-right circle-left file-text2 info cart arraw right arraw left zoom out zoom in arraw maximize arraw minimize
1
2
5
5
6
8
9
10
11
12
12
14
15
16
18
1
54402-1703802
Корпус в сборе
В узле: 1
2
54402-1703808
Золотник в сборе
В узле: 1
5
64221-1703816-01
Рычаг
В узле: 1
5
64221-1703816
Рычаг
В узле: 1
6
64221-1703818
Накладка
В узле: 1
8
64221-1703822
Пружина
В узле: 1
9
64221-1703824
Ось рычага
В узле: 1
10
6430-1703826
Пробка
В узле: 1
11
6430-1703446
Цанга
В узле: 3
12
64221-1703830
Кольцо
В узле: 3
12
64221-1703830-010
Кольцо
В узле: 3
14
6430-1703450
Фиксатор
В узле: 3
15
231553
Винт 2М4-6gх14
В узле: 1
16
004-008-25-2-3
Кольцо 004-008-25-2-3
В узле: 3
18
009-012-19-2-3
Кольцо
В узле: 1
Содержащиеся в справочниках-каталогах запасные части и детали не предлагаются к продаже, а носят исключительно информационный характер

Ваша заявка была отправлена. В ближайшее время наши специалисты с Вами свяжутся по указанному Вами телефону.

Представьтесь
Поле обязательно для заполнения
Ваш телефон
Введите правильный номер телефона
E-mail
Введите правильный e-mail
Тема
Тема
применяемость финансирование доставка цена, наличие другое сервис и гарантия
Время для звонка
08:00
08:00 09:00 10:00 11:00 12:00 13:00 14:00 15:00 16:00 17:00 18:00 19:00
19:00
08:00 09:00 10:00 11:00 12:00 13:00 14:00 15:00 16:00 17:00 18:00 19:00

Мы постараемся перезвонить в указанное время

Если вы не хотите ждать, то звоните нашим вежливым консультантам:

8 800 100-2-700
Подтвердите, что вы не робот
Подтвердите, что вы не робот
Спасибо!

Ваше сообщение успешно отправлено!

ЗакрытьПовторить попытку