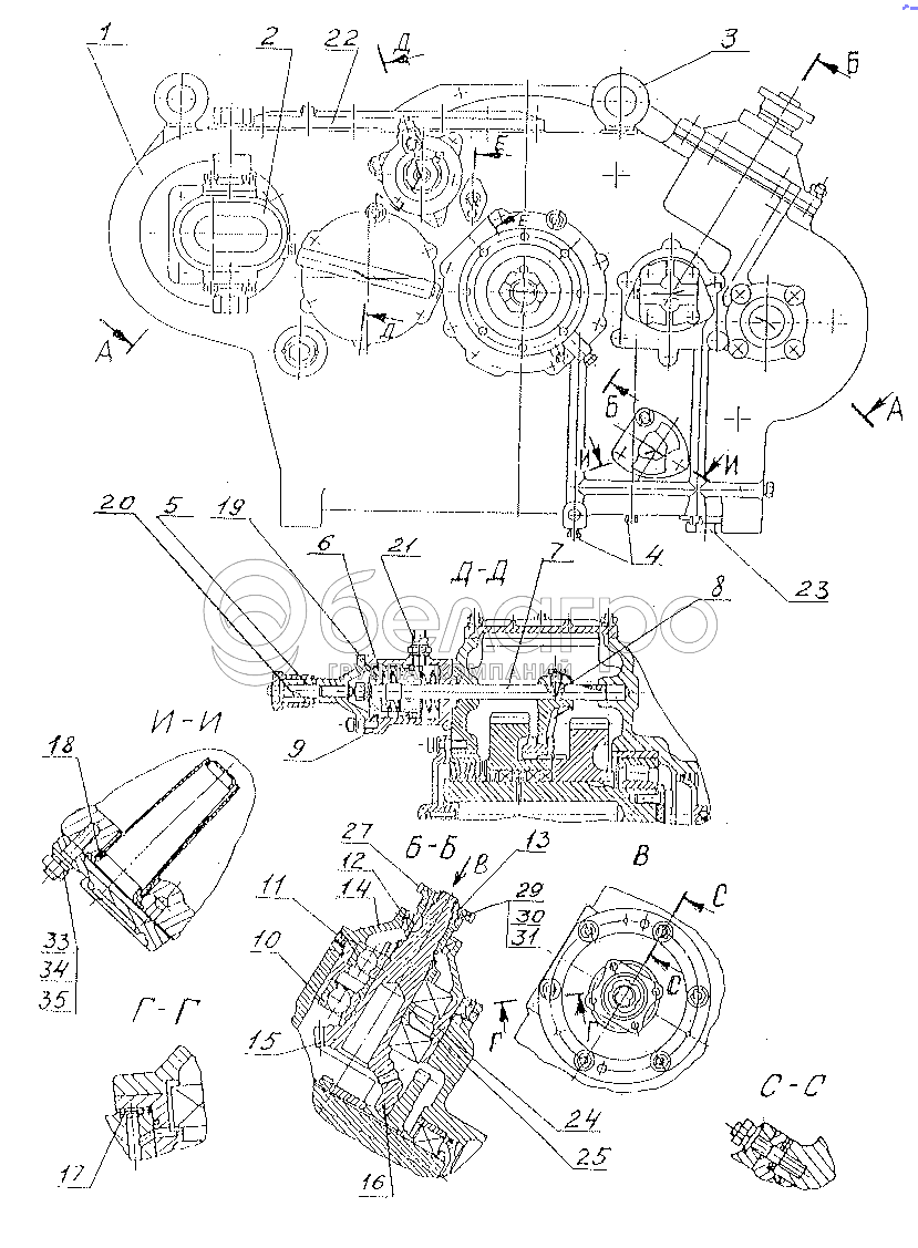
Каталог запасных частей к технике: МАЗ-74131. Насосы масляные

zoom-in zoom-out enlarge shrink circle-right circle-left file-text2 info cart arraw right arraw left zoom out zoom in arraw maximize arraw minimize
1
3
4
5
6
7
8
9
10
11
11
12
13
14
15
16
17
18
19
20
21
22
23
24
25
27
29
30
31
33
34
35
7919-1731516
Блок шестерен
В узле: 1
2531114-229
Кольцо 160-165-36-2-3
В узле: 1
7919-1731010
Картер
В узле: 1
0000-1308725
Кольцо 014-018-25-2-2
В узле: 1
7413-1731030
Крышка
В узле: 1
0000-3515733
Кольцо 020-025-30-2-2
В узле: 1
7413-1731045
Вал ведомый
В узле: 1
547А-1731058
Крышка
В узле: 1
0000-3408731
Кольцо 019-023-25-2-2
В узле: 1
7413-1731074-10
Вал
В узле: 1
1
7413-1730020
Редуктор согласующий
В узле: 1
3
535А-1503280
Рым-болт
В узле: 3
4
262542
Пробка КГ 1/4"
В узле: 1
5
0000-2402726
Кольцо 016-020-25-2-2
В узле: 1
6
0000-1803779
Кольцо 060-070-58-2-2
В узле: 1
7
7413-1733025-20
Шток
В узле: 1
8
7908-1733102
Вилка
В узле: 1
9
7413-1733010-11
Механизм включения
В узле: 1
10
0000-1802250
Подшипник 412АК
В узле: 1
11
543-1731036-01
Манжета 2,2-92х120-3
В узле: 1
11
0000-1731249
Подшипник 411 500-65
В узле: 1
12
537-4202160-01
Манжета 2.2-52x75-3
В узле: 1
13
374941
Гайка М24х1,5
В узле: 1
14
7919-1731704
Крышка
В узле: 1
15
7919-1731502
Вал
В узле: 1
16
7919-1731517
Шестерня
В узле: 1
17
0000-1602722
Кольцо 012-016-25-2-2
В узле: 1
18
543-1018256
Фильтр
В узле: 1
19
7413-1733020
Поршень
В узле: 1
20
7413-1733022-10
Шток
В узле: 1
21
4573734-942
Выключатель ВК-418А
В узле: 1
22
7413-1731659
Крышка люка
В узле: 1
23
543-1718360
Клапан сливной
В узле: 1
24
7919-1731804
Стакан
В узле: 1
25
7919-1731651
Втулка
В узле: 1
27
7413-1731708
Фланец
В узле: 1
28
7911-1802092
Гайка М48х1,5Н6Н
В узле: 1
29
7413-1731812
Втулка
В узле: 1
30
2531114-086
Кольцо 040-044-25-2-3
В узле: 1
31
2531114-147
Кольцо 028-034-36-2-3
В узле: 1
32
543-1802405-11
Крышка поддона
В узле: 1
33
250513
Гайка М10х1-6Н
В узле: 56
34
252006
Шайба 10
В узле: 56
35
252136
Шайба 10.ОТ
В узле: 64
Содержащиеся в справочниках-каталогах запасные части и детали не предлагаются к продаже, а носят исключительно информационный характер

Ваша заявка была отправлена. В ближайшее время наши специалисты с Вами свяжутся по указанному Вами телефону.

Представьтесь
Поле обязательно для заполнения
Ваш телефон
Введите правильный номер телефона
E-mail
Введите правильный e-mail
Тема
Тема
применяемость финансирование доставка цена, наличие другое сервис и гарантия
Время для звонка
08:00
08:00 09:00 10:00 11:00 12:00 13:00 14:00 15:00 16:00 17:00 18:00 19:00
19:00
08:00 09:00 10:00 11:00 12:00 13:00 14:00 15:00 16:00 17:00 18:00 19:00

Мы постараемся перезвонить в указанное время

Если вы не хотите ждать, то звоните нашим вежливым консультантам:

8 800 100-2-700
Подтвердите, что вы не робот
Подтвердите, что вы не робот
Спасибо!

Ваше сообщение успешно отправлено!

ЗакрытьПовторить попытку