Каталог запасных частей к технике: МЗКТ-65158. Опора промежуточная 69237-2220010

zoom-in zoom-out enlarge shrink circle-right circle-left file-text2 info cart arraw right arraw left zoom out zoom in arraw maximize arraw minimize
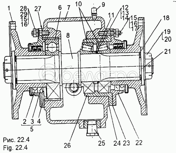
1
2
2
3
3
4
5
6
7
8
9
11
12
13
14
14
15
16
17
18
19
20
21
22
23
24
25
26
27
29
69237-2220066
Крышка
В узле: 1
1
69237-2220070
Фланец
В узле: 2
2
547А-2502294-02
Манжета 2,2-85х110-3
В узле: 1
2
547А-2502294-02
Манжета 2,2-85х110-3
В узле: 1
3
5432-2402052
Манжета 1,2-85х110-3
В узле: 1
3
5432-2402052
Манжета 1,2-85х110-3
В узле: 1
4
69237-2220060
Крышка
В узле: 1
5
69237-2220058
Крышка
В узле: 1
6
0000-2202201
Подшипник 6-313
В узле: 1
7
69237-2220012
Картер
В узле: 1
8
69237-2220020
Вал
В узле: 1
9
298430
Сапун
В узле: 1
10
0000-2220201
Подшипник 7313К
В узле: 2
11
69237-2220024
Кольцо
В узле: 1
12
69237-2220044
Шайба регулировочная
В узле: 3
13
69237-2220045
Шайба регулировочная
В узле: 3
14
69237-2220046
Шайба регулировочная
В узле: 3
14
373264
Шпилька М10х35
В узле: 6
15
250513
Гайка М10х1-6Н
В узле: 12
16
252136
Шайба 10 ОТ
В узле: 12
17
373271
Шпилька М10х25
В узле: 6
18
6303-2502064
Уплотнитель
В узле: 2
19
258085
Шплинт 6,3х50
В узле: 2
20
375152
Гайка М39х2-5Н6Н
В узле: 2
21
535А-1802229
Шайба
В узле: 2
22
69237-2220064
Крышка
В узле: 1
23
69237-2220034
Прокладка
В узле: 1
24
69237-2220028
Прокладка
В узле: 1
25
378788
Пробка КГ 3/4"
В узле: 2
26
69237-2220036
Стакан
В узле: 1
27
69237-2220062
Прокладка
В узле: 1
29
252006
Шайба 10
В узле: 6
Содержащиеся в справочниках-каталогах запасные части и детали не предлагаются к продаже, а носят исключительно информационный характер

Ваша заявка была отправлена. В ближайшее время наши специалисты с Вами свяжутся по указанному Вами телефону.

Представьтесь
Поле обязательно для заполнения
Ваш телефон
Введите правильный номер телефона
E-mail
Введите правильный e-mail
Тема
Тема
применяемость финансирование доставка цена, наличие другое сервис и гарантия
Время для звонка
08:00
08:00 09:00 10:00 11:00 12:00 13:00 14:00 15:00 16:00 17:00 18:00 19:00
19:00
08:00 09:00 10:00 11:00 12:00 13:00 14:00 15:00 16:00 17:00 18:00 19:00

Мы постараемся перезвонить в указанное время

Если вы не хотите ждать, то звоните нашим вежливым консультантам:

8 800 100-2-700
Подтвердите, что вы не робот
Подтвердите, что вы не робот
Спасибо!

Ваше сообщение успешно отправлено!

ЗакрытьПовторить попытку