Каталог запасных частей к технике: МЗКТ-74131. Бак масляный

zoom-in zoom-out enlarge shrink circle-right circle-left file-text2 info cart arraw right arraw left zoom out zoom in arraw maximize arraw minimize
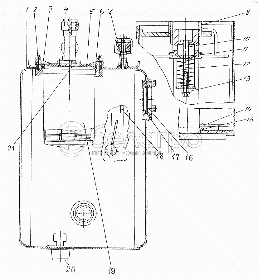
1
2
3
4
5
6
8
10
11
12
13
14
15
16
17
18
6923-3410262-10
Прокладка
В узле: 2
0000-3515839
Кольцо У-35х30-2
В узле: 1
7413-1909100
Клапан
В узле: 1
0000-1918814
Кольцо 150-155-36-2-2
В узле: 1
6923-3410132
Рукав Ф10
В узле: 2
0000-1716759
Кольцо 039-045-36-2-2
В узле: 1
7930-3827020-01
Датчик указателя уровня масла
В узле: 1
6923-3410128
Рукав Ф10
В узле: 4
7410-2024053
Кольцо уплотнительное
В узле: 1
543-3806026
Прокладка
В узле: 1
6923-3410123
Прокладка
В узле: 2
1
7930-3410016
Корпус бака с фланцами
В узле: 1
2
250510
Гайка М8х1-6Н
В узле: 2
3
7413-1909052
Упор
В узле: 2
4
7413-1909080
Горловина заливная
В узле: 1
5
7930-1910028
Крышка
В узле: 1
6
7413-1711560
Сапун
В узле: 1
8
7413-1909102
Корпус клапана
В узле: 1
10
370742
Болт М8-6gх80
В узле: 1
11
7413-1909104
Клапан
В узле: 2
12
535А-1517146
Пружина клапана
В узле: 1
13
251645
Гайка М8-6Н
В узле: 1
14
543-1716102-Б
Секция фильтра тонкой очистки
В узле: 25
15
7413-1909028
Втулка
В узле: 1
16
7410-2024055
Стекло смотровое
В узле: 1
17
7413-1909024
Фильтр с клапаном
В узле: 1
18
547В-1101348-01
Пробка сливная
В узле: 1
Содержащиеся в справочниках-каталогах запасные части и детали не предлагаются к продаже, а носят исключительно информационный характер

Ваша заявка была отправлена. В ближайшее время наши специалисты с Вами свяжутся по указанному Вами телефону.

Представьтесь
Поле обязательно для заполнения
Ваш телефон
Введите правильный номер телефона
E-mail
Введите правильный e-mail
Тема
Тема
применяемость финансирование доставка цена, наличие другое сервис и гарантия
Время для звонка
08:00
08:00 09:00 10:00 11:00 12:00 13:00 14:00 15:00 16:00 17:00 18:00 19:00
19:00
08:00 09:00 10:00 11:00 12:00 13:00 14:00 15:00 16:00 17:00 18:00 19:00

Мы постараемся перезвонить в указанное время

Если вы не хотите ждать, то звоните нашим вежливым консультантам:

8 800 100-2-700
Подтвердите, что вы не робот
Подтвердите, что вы не робот
Спасибо!

Ваше сообщение успешно отправлено!

ЗакрытьПовторить попытку