Каталог запасных частей к технике: МЗКТ-74131. Панель переключателей

zoom-in zoom-out enlarge shrink circle-right circle-left file-text2 info cart arraw right arraw left zoom out zoom in arraw maximize arraw minimize
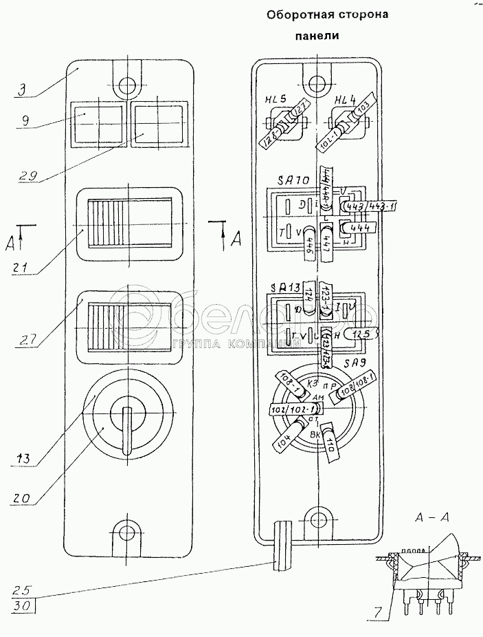
3
7
9
20
21
25
27
29
30
2212.3803010-31
Лампа контрольная
В узле: 1
3
74131-3805016
Панель переключателей
В узле: 1
7
5336-3710015
Рамка переключателя
В узле: 2
9
7413-3803050
Лампа контрольная
В узле: 1
20
ВК354-3704000
Переключатель управления ПЖД ВК354
В узле: 1
21
0000-3709601
Переключатель П147-09.11
В узле: 1
25
74131-3724238
Жгут проводов ПЖД в кабине
В узле: 1
27
74131-3709051
Переключатель П147.04.17
В узле: 1
29
7413-3803054
Лампа контрольная
В узле: 1
30
5320-3724121
Изолятор штекерного наконечника
В узле: 23
Содержащиеся в справочниках-каталогах запасные части и детали не предлагаются к продаже, а носят исключительно информационный характер

Ваша заявка была отправлена. В ближайшее время наши специалисты с Вами свяжутся по указанному Вами телефону.

Представьтесь
Поле обязательно для заполнения
Ваш телефон
Введите правильный номер телефона
E-mail
Введите правильный e-mail
Тема
Тема
применяемость финансирование доставка цена, наличие другое сервис и гарантия
Время для звонка
08:00
08:00 09:00 10:00 11:00 12:00 13:00 14:00 15:00 16:00 17:00 18:00 19:00
19:00
08:00 09:00 10:00 11:00 12:00 13:00 14:00 15:00 16:00 17:00 18:00 19:00

Мы постараемся перезвонить в указанное время

Если вы не хотите ждать, то звоните нашим вежливым консультантам:

8 800 100-2-700
Подтвердите, что вы не робот
Подтвердите, что вы не робот
Спасибо!

Ваше сообщение успешно отправлено!

ЗакрытьПовторить попытку