Каталог запасных частей к технике: МЗКТ-74171. Установка дверей

zoom-in zoom-out enlarge shrink circle-right circle-left file-text2 info cart arraw right arraw left zoom out zoom in arraw maximize arraw minimize
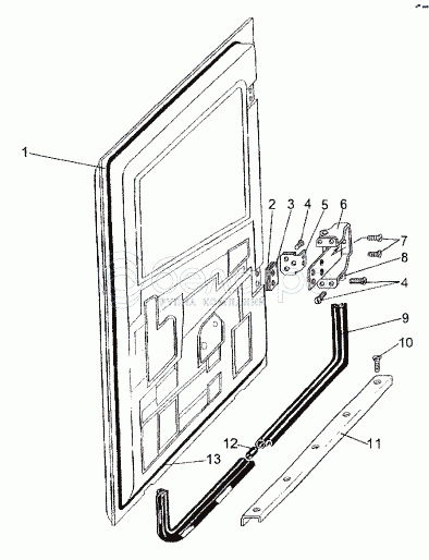
1
1
2
3
4
4
5
6
6
7
8
9
9
10
11
12
13
1
652511-6101011-01
Дверь левая
В узле: 1
1
652511-6101010-01
Дверь правая
В узле: 1
2
742953-6106049
Прокладка
В узле: 4
3
742953-6106048
Прокладка
В узле: 4
4
231666
Винт 2М-6gх25
В узле: 36
5
742953-6106008-01
Кронштейн
В узле: 4
6
742953-6106013-01
Петля двери левая
В узле: 2
6
742953-6106012-01
Петля двери правая
В узле: 2
7
221663
Винт М8-6gх18
В узле: 12
8
742953-6106044
Подкладка
В узле: 8
9
8021-6107030
Уплотнитель
В узле: 2
9
742953-6107030
Уплотнитель
В узле: 2
10
231612
Винт 2М6-6gх32
В узле: 10
11
652511-5109098
Накладка
В узле: 2
12
8021-6107036
Вставка
В узле: 2
13
742953-6107064
Уплотнитель ПН-350
В узле: 2
Содержащиеся в справочниках-каталогах запасные части и детали не предлагаются к продаже, а носят исключительно информационный характер

Ваша заявка была отправлена. В ближайшее время наши специалисты с Вами свяжутся по указанному Вами телефону.

Представьтесь
Поле обязательно для заполнения
Ваш телефон
Введите правильный номер телефона
E-mail
Введите правильный e-mail
Тема
Тема
применяемость финансирование доставка цена, наличие другое сервис и гарантия
Время для звонка
08:00
08:00 09:00 10:00 11:00 12:00 13:00 14:00 15:00 16:00 17:00 18:00 19:00
19:00
08:00 09:00 10:00 11:00 12:00 13:00 14:00 15:00 16:00 17:00 18:00 19:00

Мы постараемся перезвонить в указанное время

Если вы не хотите ждать, то звоните нашим вежливым консультантам:

8 800 100-2-700
Подтвердите, что вы не робот
Подтвердите, что вы не робот
Спасибо!

Ваше сообщение успешно отправлено!

ЗакрытьПовторить попытку