Каталог запасных частей к технике: МЗКТ-74296. Фильтр 80211-1910050-11

zoom-in zoom-out enlarge shrink circle-right circle-left file-text2 info cart arraw right arraw left zoom out zoom in arraw maximize arraw minimize
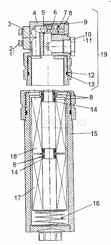
1
2
3
4
4
4
5
5
6
7
8
8
8
9
10
11
12
13
14
14
15
16
17
17
18
18
19
1
201497
Болт М10-6gх25
В узле: 4
2
252156
Шайба 10Л
В узле: 4
3
742952-1915024
Крышка
В узле: 1
4
80211-1910062-10
Крышка
В узле: 1
4
80211-1910062-11
Крышка
В узле: 1
4
80211-1910062-12
Крышка
В узле: 1
5
0000-3710201
Шарик 14-40
В узле: 1
5
0001-1910001
Шарик RB-14
В узле: 1
6
7930-1910066
Пружина
В узле: 1
7
375455
Шайба 8
В узле: 5
8
0000-1923732
Кольцо 020-024-25-2-2
В узле: 6
9
7930-1910070
Пробка
В узле: 1
10
7413-1922050
Заглушка
В узле: 1
11
376193
Шайба 27
В узле: 1
12
0000-1704787
Кольцо 075-081-36-2-2
В узле: 1
13
80211-1910086
Кольцо защитное
В узле: 1
14
7930-1910054
Втулка
В узле: 2
15
80211-1910080
Корпус фильтра
В узле: 1
16
543-1308248
Пружина сальника
В узле: 1
17
0000-1910133
Фильтр-элемент с глухим дном РЕГОТМАС 601Т-I-03
В узле: 1
17
0000-1910131
Фильтр-элемент с глухим дном РЕГОТМАС 601Т-I-06
В узле: 1
18
0000-1910132
Фильтр-элемент проходной РЕГОТМАС 601Т-I-03
В узле: 1
18
0000-1910130
Фильтр-элемент проходной РЕГОТМАС 601Т-I-06
В узле: 1
19
80211-1910060-10
Фильтр
В узле: 1
Содержащиеся в справочниках-каталогах запасные части и детали не предлагаются к продаже, а носят исключительно информационный характер

Ваша заявка была отправлена. В ближайшее время наши специалисты с Вами свяжутся по указанному Вами телефону.

Представьтесь
Поле обязательно для заполнения
Ваш телефон
Введите правильный номер телефона
E-mail
Введите правильный e-mail
Тема
Тема
применяемость финансирование доставка цена, наличие другое сервис и гарантия
Время для звонка
08:00
08:00 09:00 10:00 11:00 12:00 13:00 14:00 15:00 16:00 17:00 18:00 19:00
19:00
08:00 09:00 10:00 11:00 12:00 13:00 14:00 15:00 16:00 17:00 18:00 19:00

Мы постараемся перезвонить в указанное время

Если вы не хотите ждать, то звоните нашим вежливым консультантам:

8 800 100-2-700
Подтвердите, что вы не робот
Подтвердите, что вы не робот
Спасибо!

Ваше сообщение успешно отправлено!

ЗакрытьПовторить попытку