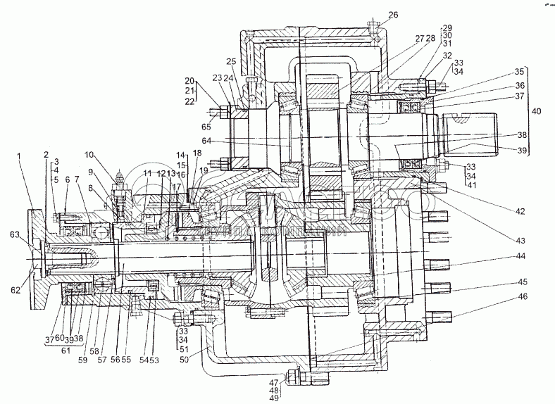
Каталог запасных частей к технике: МЗКТ-74296. Редуктор привода 74133-2402007-10

zoom-in zoom-out enlarge shrink circle-right circle-left file-text2 info cart arraw right arraw left zoom out zoom in arraw maximize arraw minimize
1
2
3
4
5
6
7
8
9
10
11
12
13
14
15
16
17
18
19
20
21
22
23
24
25
26
27
28
29
30
31
32
33
33
33
34
34
34
35
36
37
37
38
38
39
39
40
41
42
43
44
45
46
47
48
49
50
51
53
54
55
56
57
58
59
60
61
62
63
64
65
1
79092-2422140
Фланец
В узле: 1
2
543-2403203
Кольцо уплотнительное
В узле: 1
3
201458
Болт М8-6gх25
В узле: 8
4
252005
Шайба 8
В узле: 8
5
252135
Шайба 8Т
В узле: 8
6
543-2312244
Прокладка стаканов сальников
В узле: 1
7
400482
Кольцо 1Б110
В узле: 1
8
0000-2402201
Шарик 9.525-100
В узле: 1
9
537-3732040
Контакт подвижный
В узле: 1
10
537-3732030
Контакт сигнализирующий
В узле: 1
11
7413-2327028
Поршень
В узле: 1
12
7413-2327050
Муфта
В узле: 1
13
7413-2327084
Пружина
В узле: 1
14
543-2312132
Прокладка регулировочная
В узле: 6
15
543-2312133
Прокладка регулировочная
В узле: 4
16
543-2312134
Прокладка регулировочная
В узле: 4
17
400470
Кольцо В80
В узле: 1
18
7413-2327055
Муфта
В узле: 1
19
0000-2522817
Кольцо 160-165-36-2-2
В узле: 1
20
373279
Шпилька М10x65
В узле: 4
21
250513
Гайка М10х1-6Н
В узле: 4
22
252136
Шайба 10 ОТ
В узле: 4
23
543-3406013-01
Прокладка
В узле: 1
24
79098-3431020
Проставка
В узле: 1
25
0000-2402794
Кольцо 085-095-58-2-2
В узле: 1
26
262542
Пробка КГ 1/4"
В узле: 3
27
7930-2322110-10
Шестерня ведущая
В узле: 1
28
0000-2322283
Подшипник 7515А
В узле: 2
29
547А-2322161
Прокладка регулировочная
В узле: 4
30
547А-2322162
Прокладка регулировочная
В узле: 4
31
547A-2322163
Прокладка регулировочная
В узле: 4
32
547A-2322158
Крышка верхняя
В узле: 1
33
250515
Гайка М12х1,25-6Н
В узле: 12
34
252137
Шайба 12 ОТ
В узле: 12
35
0000-2322850
Кольцо У-0х110-2
В узле: 1
36
547A-2322232
Стакан сальников
В узле: 1
37
543-2403213
Шайба упорная
В узле: 4
38
400481
Кольцо 1Б100
В узле: 2
39
535A-2402215-01
Манжета 1.2-74x102-3
В узле: 4
40
547A-2322230
Стакан сальников
В узле: 1
41
252007
Шайба 12
В узле: 4
42
547A-2322238
Кольцо уплотнительное
В узле: 1
43
547A-2322012
Картер промежуточный
В узле: 1
44
7919-2326010-01
Дифференциал межосевой
В узле: 1
45
0000-2326278
Подшипник 7218
В узле: 2
46
547A-2402153-01
Прокладка
В узле: 1
47
250559
Гайка М14х1,5-6Н
В узле: 14
48
252016
Шайба 14
В узле: 14
49
252138
Шайба 14 ОТ
В узле: 14
50
79098-2402148
Картер крайний
В узле: 1
51
373513
Шпилька М12х32
В узле: 6
53
0000-2402378
Подшипник 1000915
В узле: 1
54
0000-2327806
Кольцо 120-130-58-2-2
В узле: 1
55
0000-2327800
Кольцо 100-110-58-2-2
В узле: 1
56
79092-2402065
Вал привода
В узле: 1
57
7413-2322208
Шайба
В узле: 1
58
0000-2402240
Подшипник 310А
В узле: 1
59
7413-2327012
Картер блокировки
В узле: 1
60
547А-2302242
Стакан
В узле: 1
61
547A-2302240
Стакан
В узле: 1
62
372830-01
Болт М20х1,5-6gx60
В узле: 1
63
7414-2403245
Кольцо упорное
В узле: 1
64
400449
Кольцо Б55
В узле: 1
65
252006
Шайба 10
В узле: 4
Содержащиеся в справочниках-каталогах запасные части и детали не предлагаются к продаже, а носят исключительно информационный характер

Ваша заявка была отправлена. В ближайшее время наши специалисты с Вами свяжутся по указанному Вами телефону.

Представьтесь
Поле обязательно для заполнения
Ваш телефон
Введите правильный номер телефона
E-mail
Введите правильный e-mail
Тема
Тема
применяемость финансирование доставка цена, наличие другое сервис и гарантия
Время для звонка
08:00
08:00 09:00 10:00 11:00 12:00 13:00 14:00 15:00 16:00 17:00 18:00 19:00
19:00
08:00 09:00 10:00 11:00 12:00 13:00 14:00 15:00 16:00 17:00 18:00 19:00

Мы постараемся перезвонить в указанное время

Если вы не хотите ждать, то звоните нашим вежливым консультантам:

8 800 100-2-700
Подтвердите, что вы не робот
Подтвердите, что вы не робот
Спасибо!

Ваше сообщение успешно отправлено!

ЗакрытьПовторить попытку