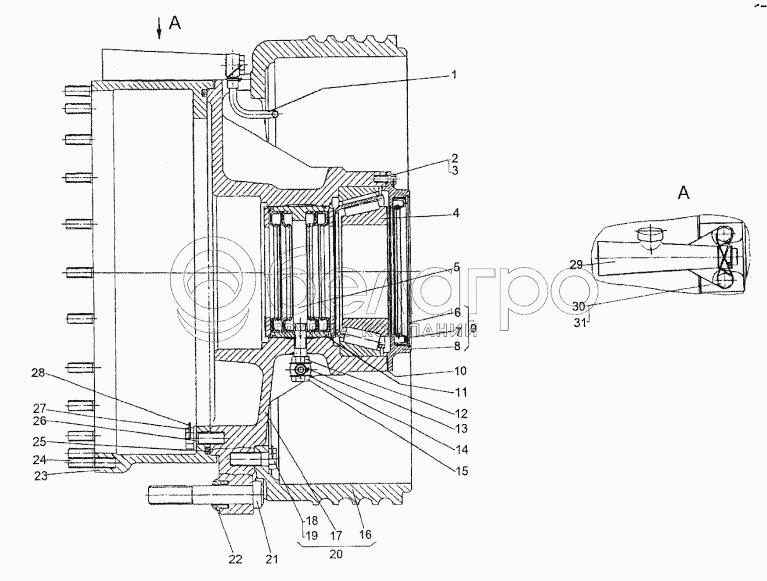
Каталог запасных частей к технике: МЗКТ-74296. Ступица с горловиной 74295-3103008

zoom-in zoom-out enlarge shrink circle-right circle-left file-text2 info cart arraw right arraw left zoom out zoom in arraw maximize arraw minimize
1
2
3
4
5
6
7
8
9
10
11
12
13
14
15
16
17
18
19
20
21
22
23
24
25
26
27
28
29
30
31
1
7908-3125150
Воздухопровод внутренний
В узле: 1
2
206498
Болт 3М8-6gх20
В узле: 8
3
258255
Шплинт 1,2х225
В узле: 4
4
0000-3103287
Подшипник 7522М
В узле: 1
5
74295-4224010
Головка подвода воздуха
В узле: 1
6
543-3103055
Кольцо стопорное
В узле: 1
7
537-3103037-01
Манжета
В узле: 1
8
543-3103054-11
Стакан
В узле: 1
9
543-3103052-Б
Стакан сальника
В узле: 1
10
537-3103057
Прокладка стакана
В узле: 1
11
543-4224033
Кольцо уплотнительное
В узле: 2
12
543-4224049
Переходник
В узле: 1
13
258250
Шплинт 1,2х100
В узле: 2
14
543-3506013
Прокладка 12М3
В узле: 4
15
371013
Болт М12х1,25
В узле: 2
16
543-3501070-21
Барабан колесного тормоза
В узле: 1
17
7908-3103015
Ступица
В узле: 1
18
372703
Болт 3М16-6gх45
В узле: 12
19
258258
Шплинт 1.2х300
В узле: 6
20
543-3101048
Болт крепления колеса
В узле: 11
21
543-3103024
Втулка сферическая
В узле: 11
22
7908-3103012
Ступица с барабаном
В узле: 1
23
547A-3103018
Горловина ступицы
В узле: 1
24
373513
Шпилька М12х32
В узле: 23
25
543-2405063
Кольцо уплотнительное
В узле: 1
26
252016
Шайба 14
В узле: 12
27
371775
Болт 3М14х1,5-6gх35
В узле: 12
28
258257
Шплинт 1,2х275
В узле: 6
29
547A-3106048-01
Вентиль с корпусам
В узле: 1
30
258253
Шплинт 1,2х175
В узле: 1
31
206594
Болт 3М12х1,25-6gх20
В узле: 2
Содержащиеся в справочниках-каталогах запасные части и детали не предлагаются к продаже, а носят исключительно информационный характер

Ваша заявка была отправлена. В ближайшее время наши специалисты с Вами свяжутся по указанному Вами телефону.

Представьтесь
Поле обязательно для заполнения
Ваш телефон
Введите правильный номер телефона
E-mail
Введите правильный e-mail
Тема
Тема
применяемость финансирование доставка цена, наличие другое сервис и гарантия
Время для звонка
08:00
08:00 09:00 10:00 11:00 12:00 13:00 14:00 15:00 16:00 17:00 18:00 19:00
19:00
08:00 09:00 10:00 11:00 12:00 13:00 14:00 15:00 16:00 17:00 18:00 19:00

Мы постараемся перезвонить в указанное время

Если вы не хотите ждать, то звоните нашим вежливым консультантам:

8 800 100-2-700
Подтвердите, что вы не робот
Подтвердите, что вы не робот
Спасибо!

Ваше сообщение успешно отправлено!

ЗакрытьПовторить попытку