Каталог запасных частей к технике: МЗКТ-79092. Опора промежуточная

zoom-in zoom-out enlarge shrink circle-right circle-left file-text2 info cart arraw right arraw left zoom out zoom in arraw maximize arraw minimize
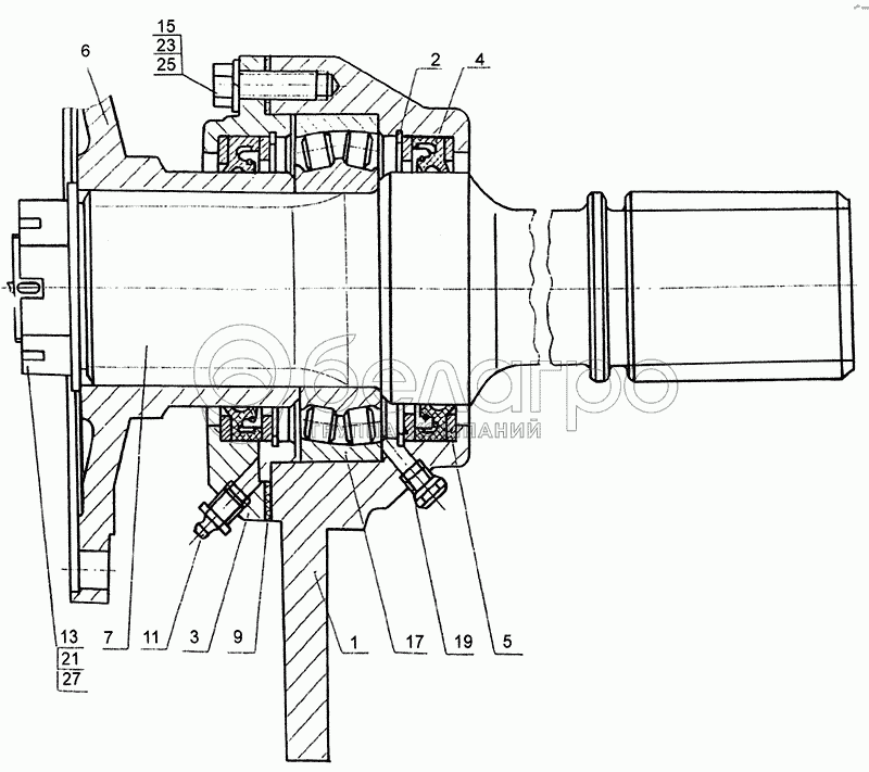
1
2
3
4
6
7
11
17
19
5432-2801089-01
Кронштейн левый
В узле: 1
543П-2805034
Шайба 48
В узле: 1
537-2805022-10
Цепочка
В узле: 1
537-2805017
Собачка крюка
В узле: 1
79092-2800012
Рама
В узле: 1
79092-2800001
Рама
В узле: 1
535-2805025
Пружина буксирного крюка
В узле: 1
74131-2801415
Поперечина
В узле: 1
7930-2801410
Поперечина
В узле: 1
543П-2801196-01
Поперечина
В узле: 1
79092-2801078
Поперечина
В узле: 1
7930-2801078
Поперечина
В узле: 1
7930-2801077
Поперечина
В узле: 2
79091-2801050
Поперечина
В узле: 1
7310-2901010
Подвеска передняя
В узле: 1
535-2805020
Ось собачки крюка
В узле: 1
7930-2801186
Накладка
В узле: 2
537-2805016-01
Защелка буксирного крюка
В узле: 1
5432-2801088-01
Кронштейн правый
В узле: 1
547А-2502272
Крышка
В узле: 1
79092-2803036
Крышка
В узле: 1
79092-2803037
Крышка
В узле: 1
535-2805012
Крюк буксирный
В узле: 2
535-2805014
Крюк буксирный
В узле: 1
79092-2801145
Лист
В узле: 2
79092-2801019
Лонжерон левый
В узле: 1
79092-2801025
Лонжерон надрамника левый
В узле: 1
79092-2801024
Лонжерон надрамника правый
В узле: 1
79092-2801018
Лонжерон правый
В узле: 1
79092-2800020
Надрамник
В узле: 1
537-2805021-10
Ось защелки
В узле: 1
7930-2801145-10
Лист
В узле: 2
1
547А-2502266
Картер промежуточной опоры
В узле: 1
2
400482
Кольцо 1Б110
В узле: 1
3
547А-2502274
Крышка картера
В узле: 1
4
547А-2502294-02
Манжета 2,2-85х110-3
В узле: 1
6
547А-2502270
Фланец
В узле: 1
7
547А-2502284-10
Вал
В узле: 1
11
264020
Масленка 1.3.Ц6
В узле: 1
17
0000-2304264
Подшипник 3514
В узле: 1
19
262541
Пробка КГ 1/8"
В узле: 1
Содержащиеся в справочниках-каталогах запасные части и детали не предлагаются к продаже, а носят исключительно информационный характер

Ваша заявка была отправлена. В ближайшее время наши специалисты с Вами свяжутся по указанному Вами телефону.

Представьтесь
Поле обязательно для заполнения
Ваш телефон
Введите правильный номер телефона
E-mail
Введите правильный e-mail
Тема
Тема
применяемость финансирование доставка цена, наличие другое сервис и гарантия
Время для звонка
08:00
08:00 09:00 10:00 11:00 12:00 13:00 14:00 15:00 16:00 17:00 18:00 19:00
19:00
08:00 09:00 10:00 11:00 12:00 13:00 14:00 15:00 16:00 17:00 18:00 19:00

Мы постараемся перезвонить в указанное время

Если вы не хотите ждать, то звоните нашим вежливым консультантам:

8 800 100-2-700
Подтвердите, что вы не робот
Подтвердите, что вы не робот
Спасибо!

Ваше сообщение успешно отправлено!

ЗакрытьПовторить попытку