Каталог запасных частей к технике: МЗКТ-79092. Редуктор привода

zoom-in zoom-out enlarge shrink circle-right circle-left file-text2 info cart arraw right arraw left zoom out zoom in arraw maximize arraw minimize
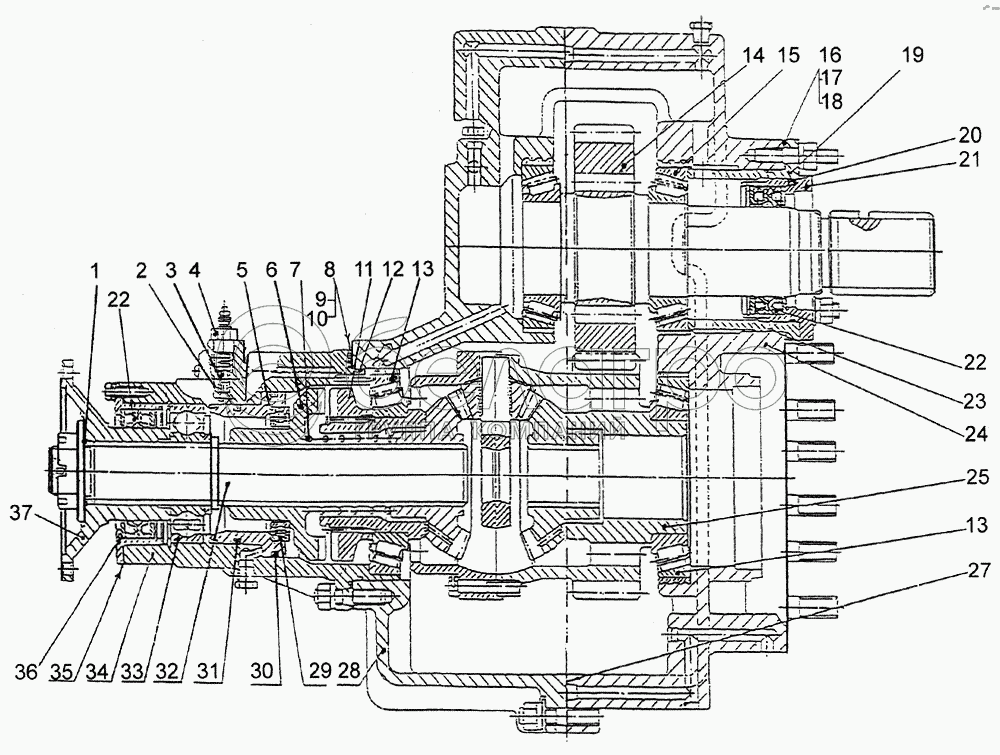
1
2
3
4
5
6
7
8
9
10
11
12
13
13
14
15
16
17
18
19
20
21
22
22
23
25
29
30
31
32
33
34
35
36
37
547А-2302240
Стакан сальников
В узле: 1
400481
Кольцо 1Б100
В узле: 1
547А-2322230
Стакан сальников
В узле: 1
1
537-2402203
Кольцо уплотнительное
В узле: 1
2
0000-2402201
Шарик 9.525-100
В узле: 1
3
537-3732040
Контакт подвижный
В узле: 1
4
537-3732030
Контакт сигнализирующий
В узле: 1
5
7413-2327028
Поршень
В узле: 1
6
7413-2327050
Муфта
В узле: 1
7
7413-2327084
Пружина
В узле: 1
8
543-2312132
Прокладка регулировочная
В узле: 6
9
543-2312133
Прокладка регулировочная
В узле: 4
10
543-2312134
Прокладка регулировочная
В узле: 4
11
7413-2327055
Муфта
В узле: 1
12
0000-2522817
Кольцо 160-165-36-2-2
В узле: 1
13
0000-2326278
Подшипник 7218
В узле: 2
14
7930-2322110
Шестерня
В узле: 1
15
0000-2322283
Подшипник 7515А
В узле: 2
16
547А-2322161
Прокладка регулировочная
В узле: 4
17
547А-2322162
Прокладка регулировочная
В узле: 4
18
547А-2322163
Прокладка регулировочная
В узле: 4
19
547А-2322158
Крышка верхняя
В узле: 1
20
0000-2322850
Кольцо У-0х110-2
В узле: 1
21
547А-232232
Стакан сальников
В узле: 1
22
535А-2402215-01
Манжета 1.2-74х102-3
В узле: 2
23
547А-2322238
Кольцо
В узле: 1
25
7919-2326010-01
Дифференциал межосевой
В узле: 1
29
0000-2402378
Подшипник 1000915
В узле: 1
30
0000-2327806
Кольцо 120-130-58-2-2
В узле: 1
31
0000-2327800
Кольцо 100-110-58-2-2
В узле: 1
32
7413-2322065
Вал
В узле: 1
33
0000-2402240
Подшипник 310А
В узле: 1
34
7413-2327012
Картер блокировки
В узле: 1
35
543-2312244
Прокладка стаканов сальников
В узле: 6
36
547А-2302242
Стакан
В узле: 1
37
7929-2302140
Фланец
В узле: 1
Содержащиеся в справочниках-каталогах запасные части и детали не предлагаются к продаже, а носят исключительно информационный характер

Ваша заявка была отправлена. В ближайшее время наши специалисты с Вами свяжутся по указанному Вами телефону.

Представьтесь
Поле обязательно для заполнения
Ваш телефон
Введите правильный номер телефона
E-mail
Введите правильный e-mail
Тема
Тема
применяемость финансирование доставка цена, наличие другое сервис и гарантия
Время для звонка
08:00
08:00 09:00 10:00 11:00 12:00 13:00 14:00 15:00 16:00 17:00 18:00 19:00
19:00
08:00 09:00 10:00 11:00 12:00 13:00 14:00 15:00 16:00 17:00 18:00 19:00

Мы постараемся перезвонить в указанное время

Если вы не хотите ждать, то звоните нашим вежливым консультантам:

8 800 100-2-700
Подтвердите, что вы не робот
Подтвердите, что вы не робот
Спасибо!

Ваше сообщение успешно отправлено!

ЗакрытьПовторить попытку