Каталог запасных частей к технике: ЗИЛ-43272Н, 43273Н. Установка обмыва ветрового стекла

zoom-in zoom-out enlarge shrink circle-right circle-left file-text2 info cart arraw right arraw left zoom out zoom in arraw maximize arraw minimize
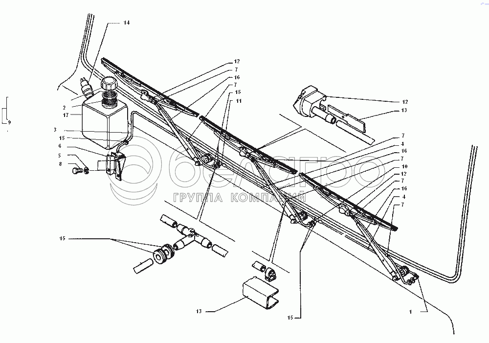
1
2
3
4
4
5
6
7
7
7
7
7
7
8
9
10
11
12
12
12
13
13
14
15
15
15
15
16
16
16
17
4331-5208113
Уплотнитель насоса омывателя
В узле: ---
1
4331-5208117
Переходник
В узле: 1
2
4331-5208119
Фильтр бачка
В узле: 1
3
4331-5208323
Трубка бачка
В узле: 1
4
4331-5208351
Трубка промежуточная
В узле: 1
5
252005-П29
Шайба
В узле: 1
6
4331-5208105
Кронштейн бачка
В узле: 1
7
4331-5208197
Держатель трубки
В узле: 1
8
201454-П29
Болт
В узле: 1
9
4331-5208100-10
Бачок обмыва стекла в сборе
В узле: 1
10
4331-5208051
Тройник соединительный
В узле: 1
11
4331-5208046
Тройник с клапаном в сборе
В узле: 1
12
4331-5208040
Форсунка в сборе
В узле: 1
13
35.5205800
Рычаг стеклоочистителя в сборе
В узле: 1
14
4331-3730310
Реле
В узле: 1
15
130-1310477
Втулка оболочки тяги жалюзи радиатора
В узле: 1
16
4331-5208344
Трубка форсунки
В узле: 1
17
4331.5208101-10
Бачок обмыва
В узле: 1
Содержащиеся в справочниках-каталогах запасные части и детали не предлагаются к продаже, а носят исключительно информационный характер

Ваша заявка была отправлена. В ближайшее время наши специалисты с Вами свяжутся по указанному Вами телефону.

Представьтесь
Поле обязательно для заполнения
Ваш телефон
Введите правильный номер телефона
E-mail
Введите правильный e-mail
Тема
Тема
применяемость финансирование доставка цена, наличие другое сервис и гарантия
Время для звонка
08:00
08:00 09:00 10:00 11:00 12:00 13:00 14:00 15:00 16:00 17:00 18:00 19:00
19:00
08:00 09:00 10:00 11:00 12:00 13:00 14:00 15:00 16:00 17:00 18:00 19:00

Мы постараемся перезвонить в указанное время

Если вы не хотите ждать, то звоните нашим вежливым консультантам:

8 800 100-2-700
Подтвердите, что вы не робот
Подтвердите, что вы не робот
Спасибо!

Ваше сообщение успешно отправлено!

ЗакрытьПовторить попытку