Каталог запасных частей к технике: ХТЗ Т-012. Редуктор

zoom-in zoom-out enlarge shrink circle-right circle-left file-text2 info cart arraw right arraw left zoom out zoom in arraw maximize arraw minimize
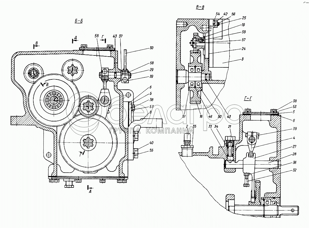
010.37.030-1
2
3
4
5
5
6
6
8
16
19
21
24
25
27
28
29
30
32
33
34
35
36
37
38
38
39
39
40
42
43
43
46
50
51
53
53
54
55
56
57
58
58
59
010.37.030-1
Редуктор
В узле: ---
2
125.72.019
Сапун в сборе
В узле: 1
3
Г-424
Генератор
В узле: 1
4
010.37.191
Рычаг
В узле: 1
5
010.37.200
Крышка
В узле: 2
6
010.37.204
Прокладка
В узле: 2
8
010.37.302
Кронштейн
В узле: 1
16
010.37.311
Колесо зубчатое
В узле: 1
19
010.37.314
Колесо зубчатое
В узле: 1
21
010.37.318
Болт
В узле: 1
24
010.37.321
Прокладка
В узле: 1
25
010.37.322
Штифт
В узле: 1
27
010.37.325-1
Вилка
В узле: 1
28
010.37.326-1
Валик
В узле: 1
29
010.37.327
Ось
В узле: 1
30
010.37.328
Рычаг
В узле: 1
32
010.37.333
Болт
В узле: 1
33
08.37.124
Фиксатор
В узле: 1
34
08.37.125
Пружина
В узле: 1
35
08.37.135
Пробка
В узле: 1
36
ГПШ М10х1
Гайка
В узле: 1
37
ШШс14х24х2
Шайба
В узле: 1
38
М8х20.7796
Болт
В узле: 21
39
М8х25.7796
Болт
В узле: 2
40
М12х35.7796
Болт
В узле: 3
42
М10.5915
Гайка
В узле: 2
43
010-014-25-2-2.9833
Кольцо
В узле: 2
46
В47.13943
Кольцо
В узле: 1
50
204.8338
Подшипник
В узле: 4
51
205.8338
Подшипник
В узле: 2
53
8.65Г.6402
Шайба
В узле: 21
54
10.65Г.6402
Шайба
В узле: 2
55
12.65Г.6402
Шайба
В узле: 3
56
М10х25.22034
Шпилька
В узле: 2
57
2,5х20.397
Шплинт
В узле: 1
58
4х4х16.23360
Шпонка
В узле: 2
59
3х5.24071
Шпонка
В узле: 1
Содержащиеся в справочниках-каталогах запасные части и детали не предлагаются к продаже, а носят исключительно информационный характер

Ваша заявка была отправлена. В ближайшее время наши специалисты с Вами свяжутся по указанному Вами телефону.

Представьтесь
Поле обязательно для заполнения
Ваш телефон
Введите правильный номер телефона
E-mail
Введите правильный e-mail
Тема
Тема
применяемость финансирование доставка цена, наличие другое сервис и гарантия
Время для звонка
08:00
08:00 09:00 10:00 11:00 12:00 13:00 14:00 15:00 16:00 17:00 18:00 19:00
19:00
08:00 09:00 10:00 11:00 12:00 13:00 14:00 15:00 16:00 17:00 18:00 19:00

Мы постараемся перезвонить в указанное время

Если вы не хотите ждать, то звоните нашим вежливым консультантам:

8 800 100-2-700
Подтвердите, что вы не робот
Подтвердите, что вы не робот
Спасибо!

Ваше сообщение успешно отправлено!

ЗакрытьПовторить попытку