Каталог запасных частей к технике: ХТЗ Т-150К (2004). Установка двигателя

zoom-in zoom-out enlarge shrink circle-right circle-left file-text2 info cart arraw right arraw left zoom out zoom in arraw maximize arraw minimize
173.00.001-03
1
2
4
7
8
11
12
13
13
14
15
15
16
16
17
18
19
19
20
21
27
28
29
30
31
31
31
31
32
33
33
35
35
36
36
37
39
39
40
41
41
42
43
43
43
44
45
45
47
47
48
48
48
49
49
49
50
50
51
51
52
173.00.001-03
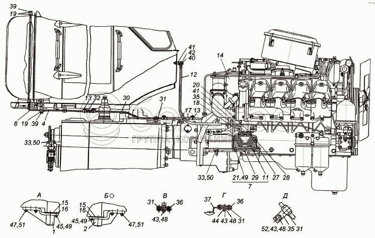
Установка агрегата силового КаМАЗ-740.02-180
В узле: ---
1
173.00.016
Кронштейн правый
В узле: 1
2
173.00.017-1
Кронштейн левый
В узле: 1
3
173.00.025-1
Амортизатор
В узле: 2
4
150.00.011
Трубка топливопровода в сборе
В узле: 1
5
150.00.014А
Кожух защитный
В узле: 4
6
150.00.033-1А
Колпак защитный в сборе
В узле: 1
7
150.00.064-1
Кронштейн опорный с подушками
В узле: 2
8
150.00.066-1
Трубка сливная задняя
В узле: 1
9
150.00.073
Подушка
В узле: 1
10
150.00.074
Скоба
В узле: 1
11
150.00.075
Подушка
В узле: 4
12
172.00.017-1
Трубка манометра
В узле: 1
13
ХС-18
Хомутик стяжной
В узле: 8
14
740.02-100300-20
Агрегат силовой КаМАЗ-740.02-180
В узле: 1
15
173.00.120
Прокладка
В узле: ---
16
173.00.120-1
Прокладка
В узле: ---
17
173.00.133
Шланг
В узле: 2
18
14.57.223
Шайба штампованная
В узле: 8
19
16-006
Прокладка
В узле: 4
20
74.37.437
Болт
В узле: 8
21
74.37.437-01
Болт
В узле: 8
22
120.00.108-1
Подкладка
В узле: ---
23
120.00.108-1-01
Подкладка
В узле: ---
24
120.00.109
Болт
В узле: 4
25
150.00.103-5
Опора
В узле: 2
26
150.00.104-1Б
Опора
В узле: 1
27
150.00.109
Прокладка регулировочная
В узле: ---
28
150.00.109-01
Прокладка
В узле: ---
29
150.00.169-2А
Кронштейн опорный
В узле: 2
30
150.00.176-5
Трубка
В узле: 2
31
150.00.182А
Трубка проставочная
В узле: 5
32
150.00.227
Шланг
В узле: 2
33
150.00.246
Болт по ГОСТ 7796-62
В узле: 16
34
150.00.257
Болт
В узле: 2
35
150.00.271
Скоба
В узле: 2
36
150.55.191
Прижим
В узле: 3
37
151.00.110
Кронштейн
В узле: 1
38
163.00.101-1
Кронштейн
В узле: 2
39
А12.01.003-03
Болт
В узле: 2
40
БПУс-10
Болт поворотного угольника
В узле: 2
41
ПЖ-1,6х160
Проволока
В узле: 5
42
ШПУ-10
Шайба поворотного угольника
В узле: 4
43
М10x25.7796
Болт
В узле: 3
44
М10.5915
Гайка
В узле: 1
45
М12х1,25.37.001
Гайка
В узле: 10
46
М14х1,5.5918
Гайка
В узле: 2
47
М16х1,5.37.001
Гайка
В узле: 8
48
1065Г.6402
Шайба
В узле: 3
49
1265Г.6402
Шайба
В узле: 12
50
14ОТ65Г.6402
Шайба
В узле: 16
51
1665Г.6402
Шайба
В узле: 8
52
10.04.11371
Шайба
В узле: 1
53
14.04.11371
Шайба
В узле: 2
54
3,2x25.397
Шплинт
В узле: 2
Содержащиеся в справочниках-каталогах запасные части и детали не предлагаются к продаже, а носят исключительно информационный характер

Ваша заявка была отправлена. В ближайшее время наши специалисты с Вами свяжутся по указанному Вами телефону.

Представьтесь
Поле обязательно для заполнения
Ваш телефон
Введите правильный номер телефона
E-mail
Введите правильный e-mail
Тема
Тема
применяемость финансирование доставка цена, наличие другое сервис и гарантия
Время для звонка
08:00
08:00 09:00 10:00 11:00 12:00 13:00 14:00 15:00 16:00 17:00 18:00 19:00
19:00
08:00 09:00 10:00 11:00 12:00 13:00 14:00 15:00 16:00 17:00 18:00 19:00

Мы постараемся перезвонить в указанное время

Если вы не хотите ждать, то звоните нашим вежливым консультантам:

8 800 100-2-700
Подтвердите, что вы не робот
Подтвердите, что вы не робот
Спасибо!

Ваше сообщение успешно отправлено!

ЗакрытьПовторить попытку