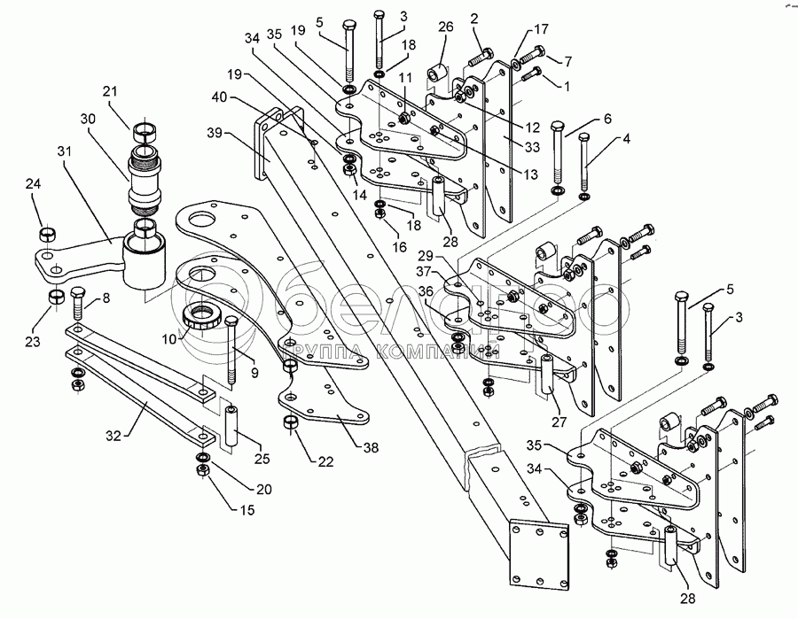
Каталог запасных частей к технике: Lemken EurOpal 6. Basic frame E6-110-4-900

zoom-in zoom-out enlarge shrink circle-right circle-left file-text2 info cart arraw right arraw left zoom out zoom in arraw maximize arraw minimize
1
2
3
3
4
5
5
6
7
8
9
10
11
12
13
14
15
16
17
18
18
19
19
20
21
22
23
24
25
26
27
28
28
29
30
31
32
33
34
34
35
35
36
37
38
39
40
1
301 3407
Bolt
В узле: 8
2
301 3920
Bolt
В узле: 16
3
301 4119
Bolt
В узле: 9
4
301 4121
Bolt
В узле: 4
5
301 4522
Bolt
В узле: 2
6
301 4538
Bolt
В узле: 2
7
301 4606
Bolt
В узле: 8
8
301 4646
Bolt
В узле: 1
9
301 4754
Bolt
В узле: 1
10
303 0341
Grooved nut
В узле: 2
11
303 0935
Selflocking nut
В узле: 16
12
303 0936
Selflocking nut
В узле: 8
13
303 0972
Nut
В узле: 8
14
303 0977
Nut
В узле: 4
15
303 0980
Nut
В узле: 2
16
303 0990
Nut
В узле: 14
17
305 6164
Washer
В узле: 8
18
305 9887
Spring ring
В узле: 28
19
305 9888
Spring ring
В узле: 16
20
305 9889
Spring ring
В узле: 4
21
317 2025
Expansion bush
В узле: 2
22
317 3404
Expansion bush
В узле: 1
23
317 3406
Expansion bush
В узле: 2
24
317 3417
Expansion bush
В узле: 1
25
317 6664
Tube
В узле: 1
26
317 7502
Bush
В узле: 16
27
317 7508
Tube
В узле: 2
28
317 7509
Bushing
В узле: 2
29
323 8072
Cap
В узле: 36
30
402 1285
Lagerrohr
В узле: 1
31
402 1717
Rocker arm
В узле: 1
32
402 1798
Support
В узле: 2
33
402 2543
Stalk plate
В узле: 8
34
402 2528
Adjusting bracket
В узле: 2
35
402 2529
Adjusting bracket
В узле: 2
36
402 2532
Adjusting bracket
В узле: 2
37
402 2533
Adjusting bracket
В узле: 2
38
402 2842
Bearing plate
В узле: 2
39
402 8237
Basic frame
В узле: 1
40
323 8071
Cap
В узле: 12
Содержащиеся в справочниках-каталогах запасные части и детали не предлагаются к продаже, а носят исключительно информационный характер

Ваша заявка была отправлена. В ближайшее время наши специалисты с Вами свяжутся по указанному Вами телефону.

Представьтесь
Поле обязательно для заполнения
Ваш телефон
Введите правильный номер телефона
E-mail
Введите правильный e-mail
Тема
Тема
применяемость финансирование доставка цена, наличие другое сервис и гарантия
Время для звонка
08:00
08:00 09:00 10:00 11:00 12:00 13:00 14:00 15:00 16:00 17:00 18:00 19:00
19:00
08:00 09:00 10:00 11:00 12:00 13:00 14:00 15:00 16:00 17:00 18:00 19:00

Мы постараемся перезвонить в указанное время

Если вы не хотите ждать, то звоните нашим вежливым консультантам:

8 800 100-2-700
Подтвердите, что вы не робот
Подтвердите, что вы не робот
Спасибо!

Ваше сообщение успешно отправлено!

ЗакрытьПовторить попытку