Каталог запасных частей к технике: Lemken EurOpal 7, EurOpal 7HX. 663 8693 Skim stalk

zoom-in zoom-out enlarge shrink circle-right circle-left file-text2 info cart arraw right arraw left zoom out zoom in arraw maximize arraw minimize
1
2
3
4
5
6
6
7
8
9
10
11
12
13
14
15
16
17
18
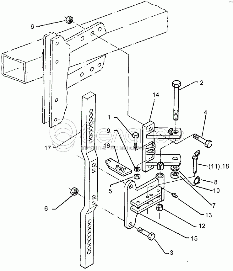
1
301 3367
Hexagon bolt
В узле: 1
2
301 4539
Bolt
В узле: 1
3
301 3868
Bolt
В узле: 2
4
301 5385
Bolt
В узле: 2
5
303 0934
Selflocking nut
В узле: 1
6
303 1015
Nut
В узле: 4
7
303 0977
Nut
В узле: 1
8
305 8551
Securing clip
В узле: 1
9
305 9902
Spring ring
В узле: 1
10
305 6012
Washer
В узле: 1
11
313 8159
Pin with grip
В узле: 1
12
317 3338
Expansion bush
В узле: 2
13
323 6349
Grease nipple
В узле: 1
14
457 7200
Bracket
В узле: 1
15
457 7201
Swivel bracket
В узле: 1
16
457 7202
Lashing
В узле: 1
17
463 8642
Skim stalk
В узле: 1
18
313 8158
Pin with grip
В узле: 1
Содержащиеся в справочниках-каталогах запасные части и детали не предлагаются к продаже, а носят исключительно информационный характер

Ваша заявка была отправлена. В ближайшее время наши специалисты с Вами свяжутся по указанному Вами телефону.

Представьтесь
Поле обязательно для заполнения
Ваш телефон
Введите правильный номер телефона
E-mail
Введите правильный e-mail
Тема
Тема
применяемость финансирование доставка цена, наличие другое сервис и гарантия
Время для звонка
08:00
08:00 09:00 10:00 11:00 12:00 13:00 14:00 15:00 16:00 17:00 18:00 19:00
19:00
08:00 09:00 10:00 11:00 12:00 13:00 14:00 15:00 16:00 17:00 18:00 19:00

Мы постараемся перезвонить в указанное время

Если вы не хотите ждать, то звоните нашим вежливым консультантам:

8 800 100-2-700
Подтвердите, что вы не робот
Подтвердите, что вы не робот
Спасибо!

Ваше сообщение успешно отправлено!

ЗакрытьПовторить попытку