Каталог запасных частей к технике: Lemken EurOpal 7X. Basic frame E7X-120-4-900

zoom-in zoom-out enlarge shrink circle-right circle-left file-text2 info cart arraw right arraw left zoom out zoom in arraw maximize arraw minimize
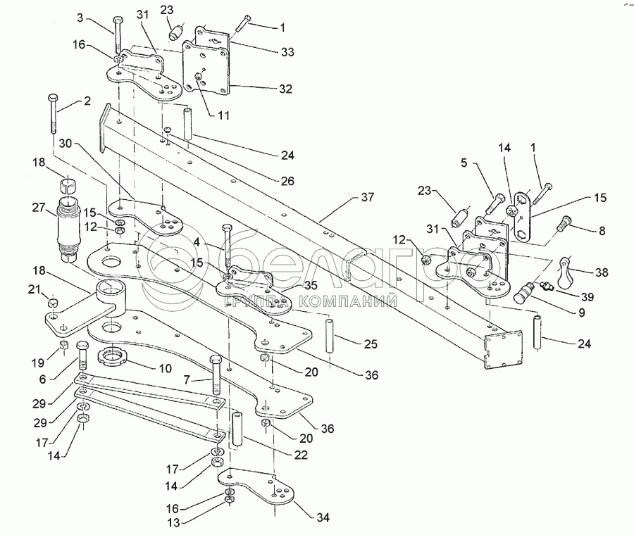
1
1
2
3
4
5
6
7
8
9
10
11
12
12
13
14
14
14
15
15
15
16
16
17
17
18
19
20
20
21
22
23
23
24
24
25
26
27
28
29
29
30
31
31
32
33
34
35
36
36
37
38
39
1
301 3431
Bolt
В узле: 4
2
301 4522
Bolt
В узле: 1
3
301 4523
Bolt
В узле: 14
4
301 4539
Bolt
В узле: 3
5
301 4607
Bolt
В узле: 8
6
301 4646
Bolt
В узле: 1
7
301 4802
Bolt
В узле: 1
8
301 8220
Bolt
В узле: 8
9
301 8221
Bolt
В узле: 8
10
303 0341
Grooved nut
В узле: 2
11
303 0934
Selflocking nut
В узле: 4
12
303 0936
Selflocking nut
В узле: 16
13
303 0977
Nut
В узле: 18
14
303 0980
Nut
В узле: 10
15
305 1340
Locking plate
В узле: 4
16
305 9888
Spring ring
В узле: 34
17
305 9889
Spring ring
В узле: 4
18
317 2025
Expansion bush
В узле: 2
19
317 3404
Expansion bush
В узле: 1
20
317 3406
Expansion bush
В узле: 2
21
317 3417
Expansion bush
В узле: 1
22
317 6655
Tube
В узле: 1
23
317 7505
Bushing
В узле: 8
24
317 7515
Bushing
В узле: 3
25
317 7511
Tube
В узле: 1
26
323 8071
Cap
В узле: 40
27
402 1282
Lagerrohr
В узле: 1
28
402 1722
Rocker arm
В узле: 1
29
402 1800
Support
В узле: 2
30
402 2550
Adjusting bracket
В узле: 3
31
402 2551
Adjusting bracket
В узле: 3
32
402 2552
Plate for beam
В узле: 4
33
402 2553
Plate for beam
В узле: 4
34
402 2554
Adjusting bracket
В узле: 1
35
402 2555
Adjusting bracket
В узле: 1
36
402 2861
Bearing plate
В узле: 2
37
402 8244
Basic frame
В узле: 1
38
426 0461
End stop
В узле: 4
39
323 6348
Grease nipple
В узле: 8
Содержащиеся в справочниках-каталогах запасные части и детали не предлагаются к продаже, а носят исключительно информационный характер

Ваша заявка была отправлена. В ближайшее время наши специалисты с Вами свяжутся по указанному Вами телефону.

Представьтесь
Поле обязательно для заполнения
Ваш телефон
Введите правильный номер телефона
E-mail
Введите правильный e-mail
Тема
Тема
применяемость финансирование доставка цена, наличие другое сервис и гарантия
Время для звонка
08:00
08:00 09:00 10:00 11:00 12:00 13:00 14:00 15:00 16:00 17:00 18:00 19:00
19:00
08:00 09:00 10:00 11:00 12:00 13:00 14:00 15:00 16:00 17:00 18:00 19:00

Мы постараемся перезвонить в указанное время

Если вы не хотите ждать, то звоните нашим вежливым консультантам:

8 800 100-2-700
Подтвердите, что вы не робот
Подтвердите, что вы не робот
Спасибо!

Ваше сообщение успешно отправлено!

ЗакрытьПовторить попытку