Каталог запасных частей к технике: Lemken EurOpal 7X. Trip disc-coulter X140-X160 RE 500 Z

zoom-in zoom-out enlarge shrink circle-right circle-left file-text2 info cart arraw right arraw left zoom out zoom in arraw maximize arraw minimize
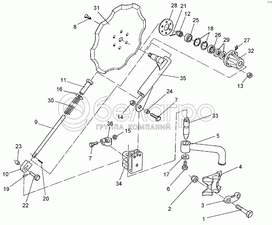
1
2
3
4
5
6
7
7
8
9
10
11
12
13
14
15
16
17
18
19
20
21
22
23
24
25
26
27
28
29
30
31
32
33
34
35
36
1
301 4425
Bolt
В узле: 2
2
303 0936
Selflocking nut
В узле: 2
3
459 9009
Clamp
В узле: 1
4
459 9011
Clamping plate
В узле: 1
5
463 7840
Round stalk
В узле: 1
6
301 3682
Screw
В узле: 1
7
301 3867
Bolt
В узле: 2
8
301 6123
Countersunk bolt
В узле: 6
9
302 0351
Rod
В узле: 1
10
302 9036
Joint
В узле: 1
11
303 0116
Nut
В узле: 1
12
303 0193
Castle nut
В узле: 1
13
303 0933
Selflocking nut
В узле: 6
14
303 0935
Selflocking nut
В узле: 1
15
303 0976
Nut
В узле: 1
16
305 2230
Supporting washer
В узле: 1
17
305 6181
Washer
В узле: 1
18
305 8924
Securing ring
В узле: 2
19
309 6038
Expansion bush
В узле: 1
20
309 6047
Expansion bush
В узле: 1
21
311 7613
Peg
В узле: 1
22
313 2500
Pin with collar
В узле: 1
23
317 3305
Expansion bush
В узле: 1
24
317 3395
Expansion bush
В узле: 1
25
319 9116
Bearing
В узле: 1
26
319 9166
Bearing
В узле: 1
27
323 6345
Grease nipple
В узле: 1
28
323 7641
Seal
В узле: 1
29
323 8032
Oil seal
В узле: 2
30
329 8443
Spring
В узле: 1
31
349 0042
Disc
В узле: 1
32
447 8882
Hub
В узле: 1
33
457 8452
Pivot
В узле: 1
34
457 9151
Bracket
В узле: 1
35
457 9350
Swinging arm
В узле: 1
36
457 9870
Stop
В узле: 1
Содержащиеся в справочниках-каталогах запасные части и детали не предлагаются к продаже, а носят исключительно информационный характер

Ваша заявка была отправлена. В ближайшее время наши специалисты с Вами свяжутся по указанному Вами телефону.

Представьтесь
Поле обязательно для заполнения
Ваш телефон
Введите правильный номер телефона
E-mail
Введите правильный e-mail
Тема
Тема
применяемость финансирование доставка цена, наличие другое сервис и гарантия
Время для звонка
08:00
08:00 09:00 10:00 11:00 12:00 13:00 14:00 15:00 16:00 17:00 18:00 19:00
19:00
08:00 09:00 10:00 11:00 12:00 13:00 14:00 15:00 16:00 17:00 18:00 19:00

Мы постараемся перезвонить в указанное время

Если вы не хотите ждать, то звоните нашим вежливым консультантам:

8 800 100-2-700
Подтвердите, что вы не робот
Подтвердите, что вы не робот
Спасибо!

Ваше сообщение успешно отправлено!

ЗакрытьПовторить попытку