Каталог запасных частей к технике: Lemken EurOpal 8. Frame extension E8-140-900

zoom-in zoom-out enlarge shrink circle-right circle-left file-text2 info cart arraw right arraw left zoom out zoom in arraw maximize arraw minimize
1
2
3
4
5
5
6
7
8
9
9
10
10
11
12
13
14
15
16
17
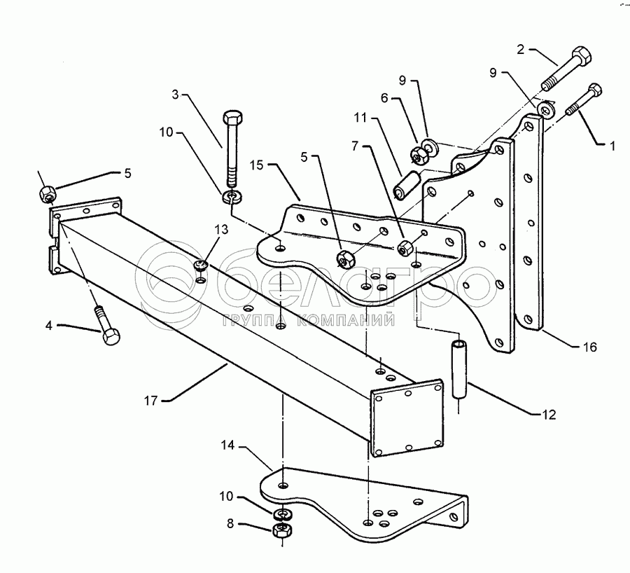
1
301 3424
Bolt
В узле: 2
2
301 4370
Bolt
В узле: 6
3
301 4539
Bolt
В узле: 3
4
301 5385
Bolt
В узле: 6
5
303 0935
Selflocking nut
В узле: 6
6
303 0936
Selflocking nut
В узле: 6
7
303 0972
Nut
В узле: 2
8
303 0977
Nut
В узле: 3
9
305 6164
Washer
В узле: 4
10
305 9888
Spring ring
В узле: 6
11
317 6944
Tube
В узле: 4
12
317 7511
Tube
В узле: 1
13
323 8071
Cap
В узле: 14
14
402 2556
Adjusting bracket
В узле: 1
15
402 2557
Adjusting bracket
В узле: 1
16
402 2570
Stalk plate
В узле: 2
17
402 8273
Frame extension
В узле: 1
Содержащиеся в справочниках-каталогах запасные части и детали не предлагаются к продаже, а носят исключительно информационный характер

Ваша заявка была отправлена. В ближайшее время наши специалисты с Вами свяжутся по указанному Вами телефону.

Представьтесь
Поле обязательно для заполнения
Ваш телефон
Введите правильный номер телефона
E-mail
Введите правильный e-mail
Тема
Тема
применяемость финансирование доставка цена, наличие другое сервис и гарантия
Время для звонка
08:00
08:00 09:00 10:00 11:00 12:00 13:00 14:00 15:00 16:00 17:00 18:00 19:00
19:00
08:00 09:00 10:00 11:00 12:00 13:00 14:00 15:00 16:00 17:00 18:00 19:00

Мы постараемся перезвонить в указанное время

Если вы не хотите ждать, то звоните нашим вежливым консультантам:

8 800 100-2-700
Подтвердите, что вы не робот
Подтвердите, что вы не робот
Спасибо!

Ваше сообщение успешно отправлено!

ЗакрытьПовторить попытку