Каталог запасных частей к технике: Lemken EurOpal 8. Turnover mechanism E120

zoom-in zoom-out enlarge shrink circle-right circle-left file-text2 info cart arraw right arraw left zoom out zoom in arraw maximize arraw minimize
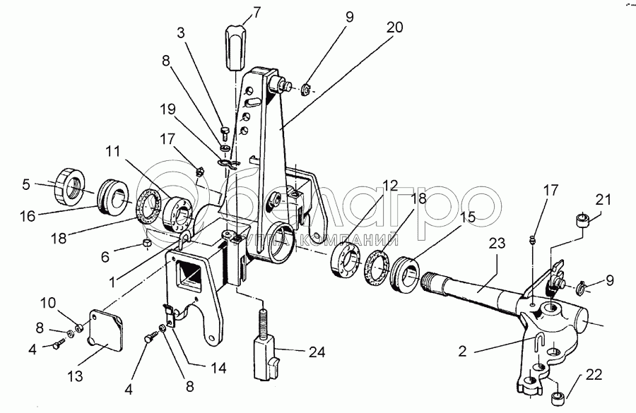
1
2
3
4
4
5
6
7
8
8
8
9
9
10
11
12
13
14
15
16
17
17
18
18
19
20
21
22
23
24
1
215 1588
Clamp
В узле: 1
2
215 1656
Clamp
В узле: 1
3
301 5001
Screw
В узле: 2
4
301 7260
Screw
В узле: 4
5
303 0348
Grooved nut
В узле: 1
6
303 0932
Selflocking nut
В узле: 2
7
303 8960
Cap nut
В узле: 2
8
305 8694
Washer
В узле: 6
9
305 8875
Securing ring
В узле: 2
10
317 6710
Tube
В узле: 2
11
319 9110
Bearing
В узле: 1
12
319 9226
Bearing
В узле: 1
13
323 0002
Cap
В узле: 2
14
323 0003
Holder
В узле: 2
15
323 0075
Seal washer
В узле: 1
16
323 0076
Seal washer
В узле: 1
17
323 6348
Grease nipple
В узле: 2
18
323 7983
Felt ring
В узле: 2
19
329 8620
Clamp
В узле: 2
20
433 7510
Headstock
В узле: 1
21
317 2035
Expansion bush
В узле: 2
22
317 3417
Expansion bush
В узле: 3
23
433 8115
Axle
В узле: 1
24
433 9206
Stop
В узле: 2
Содержащиеся в справочниках-каталогах запасные части и детали не предлагаются к продаже, а носят исключительно информационный характер

Ваша заявка была отправлена. В ближайшее время наши специалисты с Вами свяжутся по указанному Вами телефону.

Представьтесь
Поле обязательно для заполнения
Ваш телефон
Введите правильный номер телефона
E-mail
Введите правильный e-mail
Тема
Тема
применяемость финансирование доставка цена, наличие другое сервис и гарантия
Время для звонка
08:00
08:00 09:00 10:00 11:00 12:00 13:00 14:00 15:00 16:00 17:00 18:00 19:00
19:00
08:00 09:00 10:00 11:00 12:00 13:00 14:00 15:00 16:00 17:00 18:00 19:00

Мы постараемся перезвонить в указанное время

Если вы не хотите ждать, то звоните нашим вежливым консультантам:

8 800 100-2-700
Подтвердите, что вы не робот
Подтвердите, что вы не робот
Спасибо!

Ваше сообщение успешно отправлено!

ЗакрытьПовторить попытку