Каталог запасных частей к технике: Lemken EurOpal 9. Basic frame E9-160-4-900

zoom-in zoom-out enlarge shrink circle-right circle-left file-text2 info cart arraw right arraw left zoom out zoom in arraw maximize arraw minimize
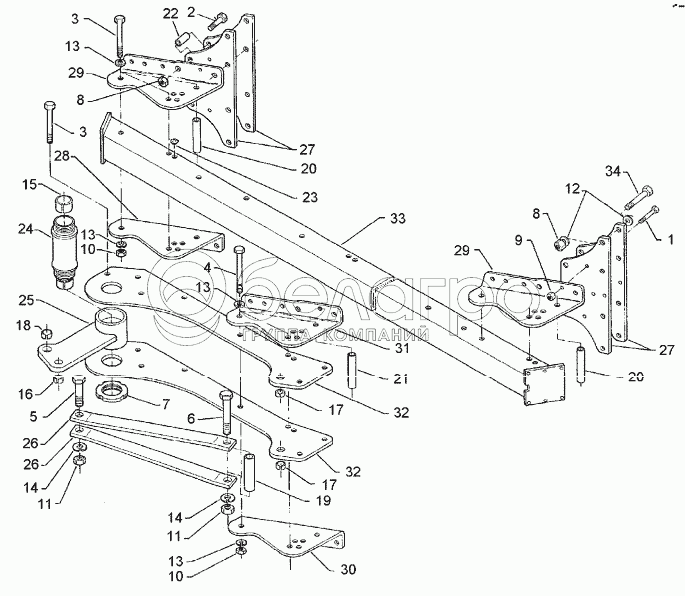
1
2
3
3
4
5
6
7
8
8
9
10
10
11
11
12
13
13
13
13
14
14
15
16
17
17
18
19
20
20
21
22
23
24
25
26
26
27
27
28
29
29
30
31
32
32
33
34
9
303 0974
Nut
В узле: 8
3030974 Гайка М14-8,0 DIN 934 <10 шт. 25.01 р.
1
301 3607
Bolt
В узле: 8
2
301 4408
Bolt
В узле: 16
3
301 4549
Bolt
В узле: 15
4
301 4546
Bolt
В узле: 3
5
301 4646
Bolt
В узле: 1
6
301 4850
Bolt
В узле: 1
7
303 0375
Grooved nut
В узле: 2
8
303 0936
Selflocking nut
В узле: 24
10
303 0977
Nut
В узле: 18
11
303 0980
Nut
В узле: 2
12
305 6164
Washer
В узле: 8
13
305 9888
Spring ring
В узле: 36
14
305 9889
Spring ring
В узле: 4
15
317 2035
Expansion bush
В узле: 2
16
317 3404
Expansion bush
В узле: 1
17
317 3406
Expansion bush
В узле: 2
18
317 3417
Expansion bush
В узле: 1
19
317 6663
Tube
В узле: 1
20
317 7513
Bushing
В узле: 3
21
317 7514
Tube
В узле: 1
22
317 6947
Bush
В узле: 16
23
323 8071
Cap
В узле: 44
24
402 1281
Lagerrohr
В узле: 1
25
402 1726
Rocker arm
В узле: 1
26
402 1802
Support
В узле: 2
27
402 2572
Stalk plate
В узле: 8
28
402 2566
Adjusting bracket
В узле: 3
29
402 2567
Adjusting bracket
В узле: 3
30
402 2568
Adjusting bracket
В узле: 1
31
402 2569
Adjusting bracket
В узле: 1
32
402 2876
Bearing plate
В узле: 2
33
402 8284
Basic frame
В узле: 1
34
301 4607
Bolt
В узле: 8
Содержащиеся в справочниках-каталогах запасные части и детали не предлагаются к продаже, а носят исключительно информационный характер

Ваша заявка была отправлена. В ближайшее время наши специалисты с Вами свяжутся по указанному Вами телефону.

Представьтесь
Поле обязательно для заполнения
Ваш телефон
Введите правильный номер телефона
E-mail
Введите правильный e-mail
Тема
Тема
применяемость финансирование доставка цена, наличие другое сервис и гарантия
Время для звонка
08:00
08:00 09:00 10:00 11:00 12:00 13:00 14:00 15:00 16:00 17:00 18:00 19:00
19:00
08:00 09:00 10:00 11:00 12:00 13:00 14:00 15:00 16:00 17:00 18:00 19:00

Мы постараемся перезвонить в указанное время

Если вы не хотите ждать, то звоните нашим вежливым консультантам:

8 800 100-2-700
Подтвердите, что вы не робот
Подтвердите, что вы не робот
Спасибо!

Ваше сообщение успешно отправлено!

ЗакрытьПовторить попытку