Каталог запасных частей к технике: Lemken Gigant 800. Basic frame Gigant 250x250x1250

zoom-in zoom-out enlarge shrink circle-right circle-left file-text2 info cart arraw right arraw left zoom out zoom in arraw maximize arraw minimize
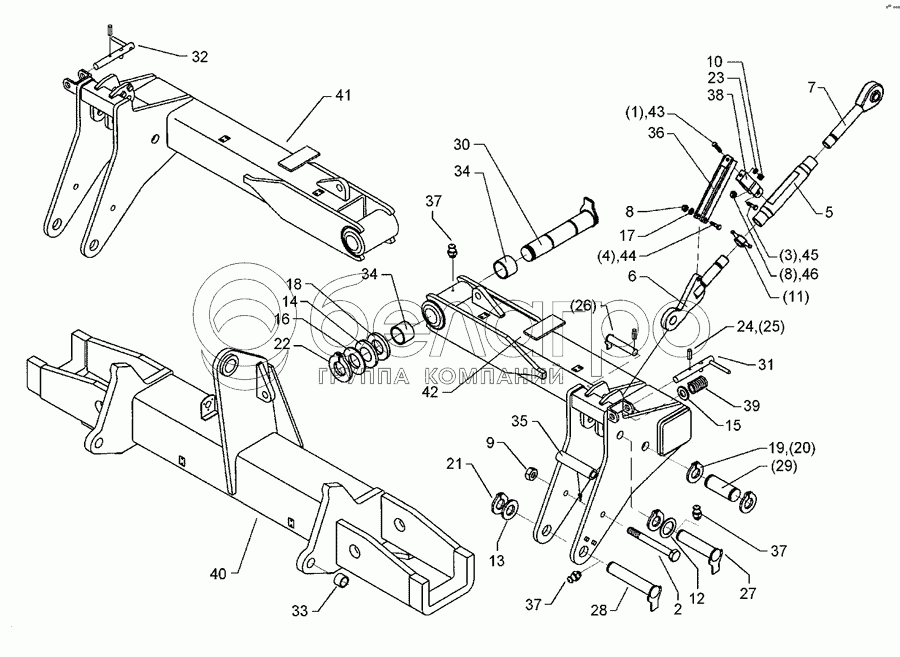
1
2
3
4
5
6
7
8
8
9
10
11
12
13
14
15
16
17
18
19
21
22
23
24
26
27
28
29
30
31
32
34
34
35
36
37
37
37
38
39
40
41
42
43
1
301 3211
Screw
В узле: 2
2
301 4860
Bolt
В узле: 2
3
301 7341
Bolt
В узле: 2
4
301 3383
Bolt
В узле: 2
5
302 8937
Threaded sleeve
В узле: 2
6
302 9018
Joint
В узле: 2
7
302 9033
Joint
В узле: 2
8
303 0934
Selflocking nut
В узле: 4
9
303 0937
Selflocking nut
В узле: 2
10
303 1100
Nut
В узле: 2
11
303 3110
Impact nut
В узле: 2
12
305 2072
Shim
В узле: 2
13
305 2150
Shim
В узле: 2
14
305 2170
Shim
В узле: 2
15
305 2240
Supporting washer
В узле: 2
16
305 2261
Supporting washer
В узле: 4
17
305 6128
Washer
В узле: 2
18
305 6910
Washer
В узле: 2
19
305 8873
Securing ring
В узле: 2
21
305 8877
Securing ring
В узле: 2
22
305 8882
Securing ring
В узле: 2
23
305 9884
Spring ring
В узле: 2
24
309 6072
Expansion bush
В узле: 2
26
313 2524
Pin with stop
В узле: 2
27
313 3514
Pin with stop
В узле: 2
28
313 5037
Pin with stop
В узле: 2
29
313 7797
Pin
В узле: 2
30
313 8135
Pin with stop
В узле: 2
31
313 8282
Locking pin
В узле: 1
32
313 8283
Locking pin
В узле: 1
34
317 3393
Expansion bush
В узле: 4
35
317 6659
Tube
В узле: 2
36
321 6972
Holder
В узле: 2
37
323 6348
Grease nipple
В узле: 6
38
329 1798
U-spring
В узле: 2
39
329 8164
Spring
В узле: 2
40
425 6020
Center section
В узле: 1
41
425 6030
Lateral part
В узле: 1
42
425 6031
Lateral part
В узле: 1
43
317 2024
Expansion bush
В узле: 2
Содержащиеся в справочниках-каталогах запасные части и детали не предлагаются к продаже, а носят исключительно информационный характер

Ваша заявка была отправлена. В ближайшее время наши специалисты с Вами свяжутся по указанному Вами телефону.

Представьтесь
Поле обязательно для заполнения
Ваш телефон
Введите правильный номер телефона
E-mail
Введите правильный e-mail
Тема
Тема
применяемость финансирование доставка цена, наличие другое сервис и гарантия
Время для звонка
08:00
08:00 09:00 10:00 11:00 12:00 13:00 14:00 15:00 16:00 17:00 18:00 19:00
19:00
08:00 09:00 10:00 11:00 12:00 13:00 14:00 15:00 16:00 17:00 18:00 19:00

Мы постараемся перезвонить в указанное время

Если вы не хотите ждать, то звоните нашим вежливым консультантам:

8 800 100-2-700
Подтвердите, что вы не робот
Подтвердите, что вы не робот
Спасибо!

Ваше сообщение успешно отправлено!

ЗакрытьПовторить попытку