Каталог запасных частей к технике: Lemken Juwel 8M. 5752421 Swing-in ram

zoom-in zoom-out enlarge shrink circle-right circle-left file-text2 info cart arraw right arraw left zoom out zoom in arraw maximize arraw minimize
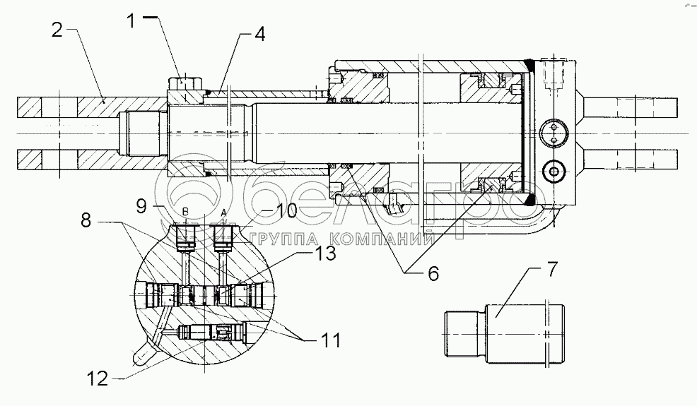
1
2
4
6
7
8
9
10
11
12
13
1
301 3884
Bolt
В узле: 1
2
302 9102
Fork-type joint
В узле: 1
4
475 6487
Threaded tube
В узле: 1
6
575 9221
Seal set
В узле: 1
7
375 8131
Spacer
В узле: 1
8
575 9244
Seal set
В узле: 1
9
575 2168
Throttle nonreturn valve
В узле: 1
10
575 2170
Throttle nonreturn valve
В узле: 1
11
575 2126
Valve, assembled
В узле: 2
12
575 2127
Valve, assembled
В узле: 1
13
575 5786
Piston, assembled
В узле: 1
14
575 9287
Seal set
В узле: 1
Содержащиеся в справочниках-каталогах запасные части и детали не предлагаются к продаже, а носят исключительно информационный характер

Ваша заявка была отправлена. В ближайшее время наши специалисты с Вами свяжутся по указанному Вами телефону.

Представьтесь
Поле обязательно для заполнения
Ваш телефон
Введите правильный номер телефона
E-mail
Введите правильный e-mail
Тема
Тема
применяемость финансирование доставка цена, наличие другое сервис и гарантия
Время для звонка
08:00
08:00 09:00 10:00 11:00 12:00 13:00 14:00 15:00 16:00 17:00 18:00 19:00
19:00
08:00 09:00 10:00 11:00 12:00 13:00 14:00 15:00 16:00 17:00 18:00 19:00

Мы постараемся перезвонить в указанное время

Если вы не хотите ждать, то звоните нашим вежливым консультантам:

8 800 100-2-700
Подтвердите, что вы не робот
Подтвердите, что вы не робот
Спасибо!

Ваше сообщение успешно отправлено!

ЗакрытьПовторить попытку