Каталог запасных частей к технике: Lemken Quarz 7/500KA. Adjuster Zirkon 9/500-K 9ST

zoom-in zoom-out enlarge shrink circle-right circle-left file-text2 info cart arraw right arraw left zoom out zoom in arraw maximize arraw minimize
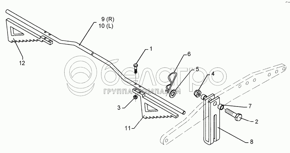
1
2
3
4
5
6
7
8
9
10
11
12
1
301 3069
Bolt
В узле: 8
2
301 3918
Bolt
В узле: 4
3
303 0932
Selflocking nut
В узле: 8
4
303 0935
Selflocking nut
В узле: 4
5
305 6164
Washer
В узле: 8
6
311 8604
Spring pin
В узле: 2
7
317 3328
Expansion bush
В узле: 8
8
422 0226
U-guiding
В узле: 4
9
422 0238
Connecting rod
В узле: 1
10
422 0239
Connecting rod
В узле: 1
11
422 0232
Adjuster plate
В узле: 2
12
422 0233
Adjuster plate
В узле: 2
Содержащиеся в справочниках-каталогах запасные части и детали не предлагаются к продаже, а носят исключительно информационный характер

Ваша заявка была отправлена. В ближайшее время наши специалисты с Вами свяжутся по указанному Вами телефону.

Представьтесь
Поле обязательно для заполнения
Ваш телефон
Введите правильный номер телефона
E-mail
Введите правильный e-mail
Тема
Тема
применяемость финансирование доставка цена, наличие другое сервис и гарантия
Время для звонка
08:00
08:00 09:00 10:00 11:00 12:00 13:00 14:00 15:00 16:00 17:00 18:00 19:00
19:00
08:00 09:00 10:00 11:00 12:00 13:00 14:00 15:00 16:00 17:00 18:00 19:00

Мы постараемся перезвонить в указанное время

Если вы не хотите ждать, то звоните нашим вежливым консультантам:

8 800 100-2-700
Подтвердите, что вы не робот
Подтвердите, что вы не робот
Спасибо!

Ваше сообщение успешно отправлено!

ЗакрытьПовторить попытку