Каталог запасных частей к технике: Lemken Saphir 7/300. Gearbox lever, hydraulic

zoom-in zoom-out enlarge shrink circle-right circle-left file-text2 info cart arraw right arraw left zoom out zoom in arraw maximize arraw minimize
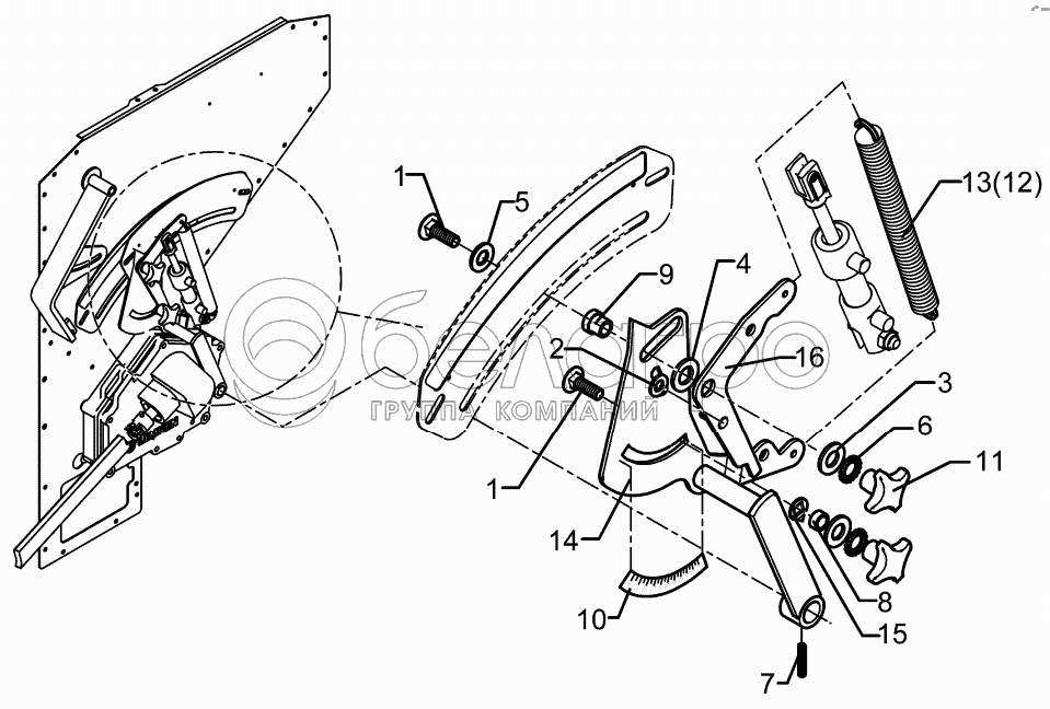
1
1
2
3
4
5
6
7
8
9
10
11
12
13
14
15
16
1
301 1713
Bolt, cup square head
В узле: 2
2
305 6110
Washer
В узле: 1
3
305 6132
Washer
В узле: 2
4
305 6148
Shim
В узле: 1
5
305 8580
Washer
В узле: 1
6
305 9964
Washer
В узле: ---
7
309 6050
Expansion bush
В узле: 1
8
317 7583
Bush
В узле: 1
9
317 9474
Flange bushing
В узле: 1
10
321 1205
Scale
В узле: 1
11
321 2576
Star grip
В узле: ---
12
329 8503
Spring
В узле: 1
13
329 8504
Spring
В узле: 1
14
481 1582
Gearbox lever
В узле: 1
15
481 1583
Indicator
В узле: 1
16
481 1584
Lever
В узле: 1
Содержащиеся в справочниках-каталогах запасные части и детали не предлагаются к продаже, а носят исключительно информационный характер

Ваша заявка была отправлена. В ближайшее время наши специалисты с Вами свяжутся по указанному Вами телефону.

Представьтесь
Поле обязательно для заполнения
Ваш телефон
Введите правильный номер телефона
E-mail
Введите правильный e-mail
Тема
Тема
применяемость финансирование доставка цена, наличие другое сервис и гарантия
Время для звонка
08:00
08:00 09:00 10:00 11:00 12:00 13:00 14:00 15:00 16:00 17:00 18:00 19:00
19:00
08:00 09:00 10:00 11:00 12:00 13:00 14:00 15:00 16:00 17:00 18:00 19:00

Мы постараемся перезвонить в указанное время

Если вы не хотите ждать, то звоните нашим вежливым консультантам:

8 800 100-2-700
Подтвердите, что вы не робот
Подтвердите, что вы не робот
Спасибо!

Ваше сообщение успешно отправлено!

ЗакрытьПовторить попытку