Каталог запасных частей к технике: Lemken Smaragd 9/400K. Pair of hollow discs 2xD450 Smaragd 9

zoom-in zoom-out enlarge shrink circle-right circle-left file-text2 info cart arraw right arraw left zoom out zoom in arraw maximize arraw minimize
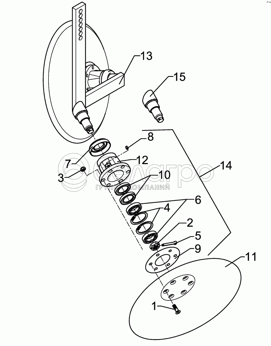
1
2
3
4
5
6
7
8
9
10
11
12
13
14
15
1
301 6123
Countersunk bolt
В узле: 12
2
303 0193
Castle nut
В узле: 1
3
303 0933
Selflocking nut
В узле: 12
4
305 8924
Securing ring
В узле: 2
5
311 7613
Peg
В узле: 1
6
319 9116
Bearing
В узле: 2
7
323 0410
Cap
В узле: 2
8
323 6345
Grease nipple
В узле: 1
9
323 7641
Seal
В узле: 1
10
323 8032
Oil seal
В узле: 2
11
349 0458
Hollow disc
В узле: 2
12
447 8882
Hub
В узле: 1
13
457 2418
Disc carrier
В узле: 1
14
547 8883
Bearing
В узле: 2
15
215 1636
Axle
В узле: 1
Содержащиеся в справочниках-каталогах запасные части и детали не предлагаются к продаже, а носят исключительно информационный характер

Ваша заявка была отправлена. В ближайшее время наши специалисты с Вами свяжутся по указанному Вами телефону.

Представьтесь
Поле обязательно для заполнения
Ваш телефон
Введите правильный номер телефона
E-mail
Введите правильный e-mail
Тема
Тема
применяемость финансирование доставка цена, наличие другое сервис и гарантия
Время для звонка
08:00
08:00 09:00 10:00 11:00 12:00 13:00 14:00 15:00 16:00 17:00 18:00 19:00
19:00
08:00 09:00 10:00 11:00 12:00 13:00 14:00 15:00 16:00 17:00 18:00 19:00

Мы постараемся перезвонить в указанное время

Если вы не хотите ждать, то звоните нашим вежливым консультантам:

8 800 100-2-700
Подтвердите, что вы не робот
Подтвердите, что вы не робот
Спасибо!

Ваше сообщение успешно отправлено!

ЗакрытьПовторить попытку