Каталог запасных частей к технике: Lemken Smaragd 9/450K. Wheel arm RE 70x30 Topas 140

zoom-in zoom-out enlarge shrink circle-right circle-left file-text2 info cart arraw right arraw left zoom out zoom in arraw maximize arraw minimize
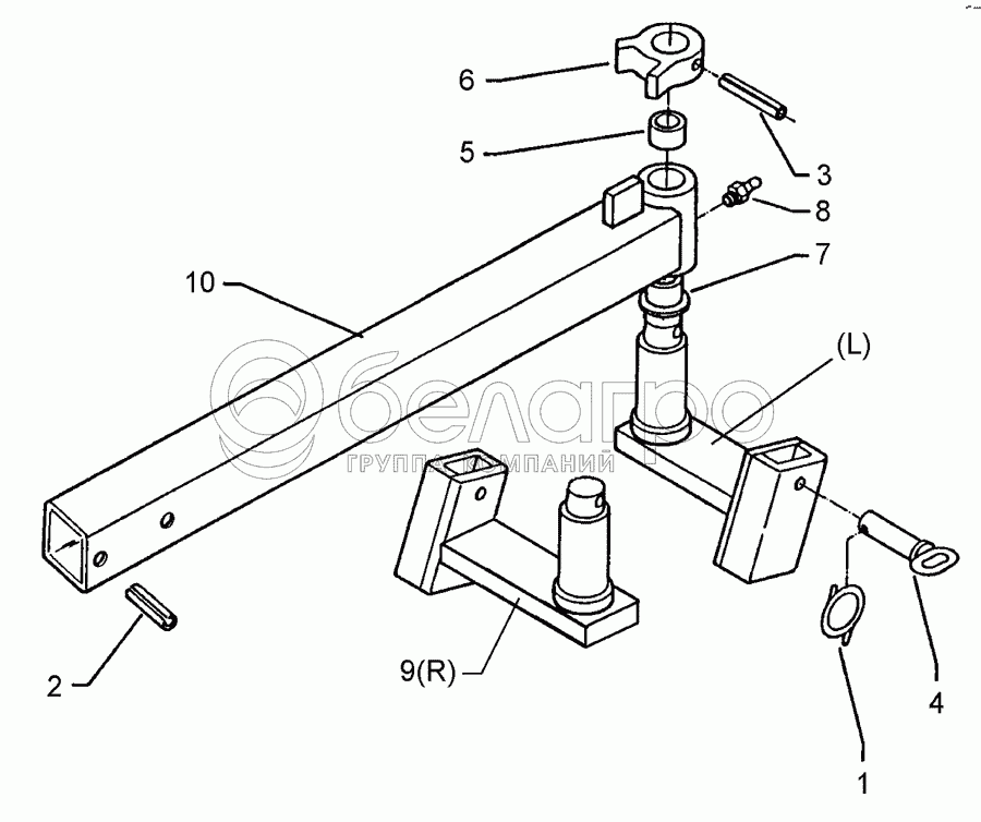
1
2
3
4
5
6
7
8
9
10
1
305 8551
Securing clip
В узле: 1
2
309 3355
Expansion bush
В узле: 2
3
309 6214
Expansion bush
В узле: 1
4
313 8143
Pin with grip
В узле: 1
5
317 2026
Expansion bush
В узле: 1
6
317 8701
Ring
В узле: 1
7
317 9374
Flange bushing
В узле: 1
8
323 6348
Grease nipple
В узле: 1
9
447 4424
Stalk guiding
В узле: 1
10
447 7520
Wheel arm
В узле: 1
Содержащиеся в справочниках-каталогах запасные части и детали не предлагаются к продаже, а носят исключительно информационный характер

Ваша заявка была отправлена. В ближайшее время наши специалисты с Вами свяжутся по указанному Вами телефону.

Представьтесь
Поле обязательно для заполнения
Ваш телефон
Введите правильный номер телефона
E-mail
Введите правильный e-mail
Тема
Тема
применяемость финансирование доставка цена, наличие другое сервис и гарантия
Время для звонка
08:00
08:00 09:00 10:00 11:00 12:00 13:00 14:00 15:00 16:00 17:00 18:00 19:00
19:00
08:00 09:00 10:00 11:00 12:00 13:00 14:00 15:00 16:00 17:00 18:00 19:00

Мы постараемся перезвонить в указанное время

Если вы не хотите ждать, то звоните нашим вежливым консультантам:

8 800 100-2-700
Подтвердите, что вы не робот
Подтвердите, что вы не робот
Спасибо!

Ваше сообщение успешно отправлено!

ЗакрытьПовторить попытку