Каталог запасных частей к технике: Lemken Smaragd 9/600 K. 617 8122 Carrier T-profile

zoom-in zoom-out enlarge shrink circle-right circle-left file-text2 info cart arraw right arraw left zoom out zoom in arraw maximize arraw minimize
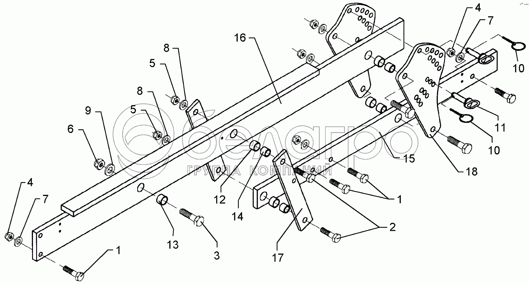
1
1
2
3
4
4
5
5
6
7
7
8
8
9
10
10
11
12
13
14
15
16
17
18
1
301 3870
Bolt
В узле: 6
2
301 4603
Hexagon bolt
В узле: 4
3
301 4692
Hexagon bolt
В узле: 1
4
303 0935
Selflocking nut
В узле: 6
5
303 0936
Selflocking nut
В узле: 4
6
303 0937
Selflocking nut
В узле: 1
7
305 6161
Washer
В узле: 6
8
305 6012
Washer
В узле: 4
9
305 6252
Washer
В узле: 1
10
311 9565
Securing pin
В узле: 2
11
313 8152
Pin with grip, yellow
В узле: 2
12
317 3352
Expansion bush
В узле: 4
13
317 3407
Expansion bush
В узле: 1
14
317 6657
Bush
В узле: 4
15
417 8097
Carrier
В узле: 1
16
417 8122
Carrier
В узле: 1
17
417 8110
Link
В узле: 2
18
417 8111
Adjuster plate
В узле: 2
Содержащиеся в справочниках-каталогах запасные части и детали не предлагаются к продаже, а носят исключительно информационный характер

Ваша заявка была отправлена. В ближайшее время наши специалисты с Вами свяжутся по указанному Вами телефону.

Представьтесь
Поле обязательно для заполнения
Ваш телефон
Введите правильный номер телефона
E-mail
Введите правильный e-mail
Тема
Тема
применяемость финансирование доставка цена, наличие другое сервис и гарантия
Время для звонка
08:00
08:00 09:00 10:00 11:00 12:00 13:00 14:00 15:00 16:00 17:00 18:00 19:00
19:00
08:00 09:00 10:00 11:00 12:00 13:00 14:00 15:00 16:00 17:00 18:00 19:00

Мы постараемся перезвонить в указанное время

Если вы не хотите ждать, то звоните нашим вежливым консультантам:

8 800 100-2-700
Подтвердите, что вы не робот
Подтвердите, что вы не робот
Спасибо!

Ваше сообщение успешно отправлено!

ЗакрытьПовторить попытку