Каталог запасных частей к технике: Lemken Solitair 8/400. Hopper 1850 Liter

zoom-in zoom-out enlarge shrink circle-right circle-left file-text2 info cart arraw right arraw left zoom out zoom in arraw maximize arraw minimize
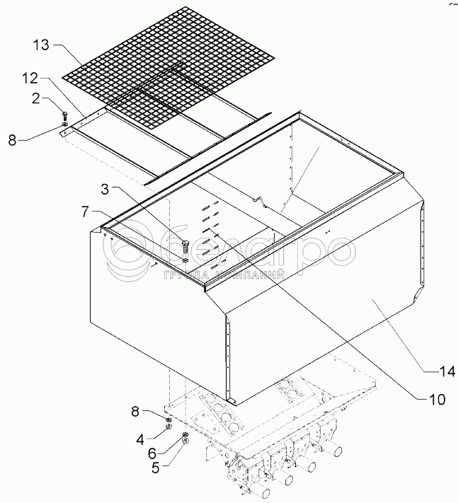
2
3
4
5
6
7
8
8
10
12
13
14
1
301 3003
Screw
В узле: 10
2
301 3004
Screw
В узле: 16
3
301 5004
Screw
В узле: 8
4
303 0931
Selflocking nut
В узле: 26
5
303 0933
Selflocking nut
В узле: 8
6
305 6132
Washer
В узле: 8
7
305 6976
Washer
В узле: 8
8
305 8572
Washer
В узле: 52
10
390 0578
Label
В узле: 1
12
482 5502
Grid
В узле: 1
13
482 5540
Hopper grate
В узле: 1
14
582 5308
Outer walls, hopper
В узле: 1
Содержащиеся в справочниках-каталогах запасные части и детали не предлагаются к продаже, а носят исключительно информационный характер

Ваша заявка была отправлена. В ближайшее время наши специалисты с Вами свяжутся по указанному Вами телефону.

Представьтесь
Поле обязательно для заполнения
Ваш телефон
Введите правильный номер телефона
E-mail
Введите правильный e-mail
Тема
Тема
применяемость финансирование доставка цена, наличие другое сервис и гарантия
Время для звонка
08:00
08:00 09:00 10:00 11:00 12:00 13:00 14:00 15:00 16:00 17:00 18:00 19:00
19:00
08:00 09:00 10:00 11:00 12:00 13:00 14:00 15:00 16:00 17:00 18:00 19:00

Мы постараемся перезвонить в указанное время

Если вы не хотите ждать, то звоните нашим вежливым консультантам:

8 800 100-2-700
Подтвердите, что вы не робот
Подтвердите, что вы не робот
Спасибо!

Ваше сообщение успешно отправлено!

ЗакрытьПовторить попытку