Каталог запасных частей к технике: Lemken Solitair 9/400. Cover 2300l

zoom-in zoom-out enlarge shrink circle-right circle-left file-text2 info cart arraw right arraw left zoom out zoom in arraw maximize arraw minimize
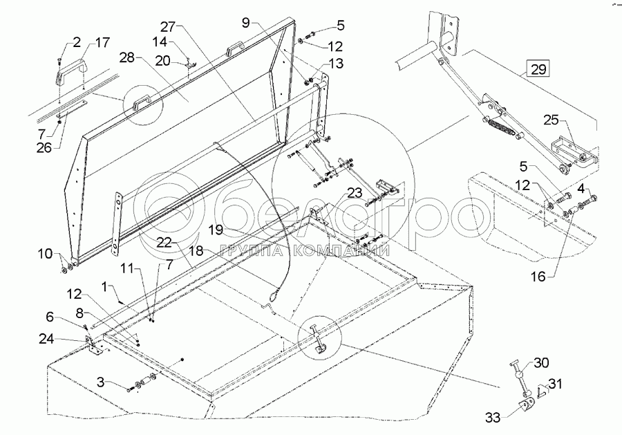
1
2
3
4
5
5
6
7
7
8
9
10
11
12
12
12
13
14
16
17
18
19
20
22
23
24
25
26
27
28
29
30
31
1
301 1086
Bolt, cup square head
В узле: 6
2
301 3006
Screw
В узле: 4
3
301 3068
Screw
В узле: 1
4
301 3073
Bolt
В узле: 1
5
301 6750
Screw
В узле: 1
6
301 7260
Screw
В узле: 4
7
303 0931
Selflocking nut
В узле: 6
8
303 0932
Selflocking nut
В узле: 7
9
303 1011
Nut
В узле: 8
10
305 6144
Washer
В узле: 4
11
305 8572
Washer
В узле: 6
12
305 8694
Washer
В узле: 7
13
305 9898
Spring ring
В узле: 8
14
315 9604
Rivet
В узле: 5
15
315 9616
Rivet
В узле: 5
16
317 9467
Bush
В узле: 2
17
321 6935
Handle
В узле: 2
18
331 1950
Wire rope clamp
В узле: 2
19
331 4924
Rope
В узле: 1
20
331 6003
Holder
В узле: 1
22
482 5320
Angle plate
В узле: 1
23
482 5326
Hinge plate G
В узле: 1
24
482 5327
Hinge plate G
В узле: 1
25
482 5330
Carrier
В узле: 1
26
482 5588
Plate with handle
В узле: 2
27
482 5590
Frame stiffener
В узле: 1
28
482 5591
Cover
В узле: 1
29
582 5586
Support
В узле: 1
30
331 6006
Securing rubber
В узле: 1
31
331 6007
Axle + peg
В узле: 1
32
331 6008
Counter fitting
В узле: 1
Содержащиеся в справочниках-каталогах запасные части и детали не предлагаются к продаже, а носят исключительно информационный характер

Ваша заявка была отправлена. В ближайшее время наши специалисты с Вами свяжутся по указанному Вами телефону.

Представьтесь
Поле обязательно для заполнения
Ваш телефон
Введите правильный номер телефона
E-mail
Введите правильный e-mail
Тема
Тема
применяемость финансирование доставка цена, наличие другое сервис и гарантия
Время для звонка
08:00
08:00 09:00 10:00 11:00 12:00 13:00 14:00 15:00 16:00 17:00 18:00 19:00
19:00
08:00 09:00 10:00 11:00 12:00 13:00 14:00 15:00 16:00 17:00 18:00 19:00

Мы постараемся перезвонить в указанное время

Если вы не хотите ждать, то звоните нашим вежливым консультантам:

8 800 100-2-700
Подтвердите, что вы не робот
Подтвердите, что вы не робот
Спасибо!

Ваше сообщение успешно отправлено!

ЗакрытьПовторить попытку