Каталог запасных частей к технике: Lemken Solitair 9/400. Cyclone D230-800 Solitair-S

zoom-in zoom-out enlarge shrink circle-right circle-left file-text2 info cart arraw right arraw left zoom out zoom in arraw maximize arraw minimize
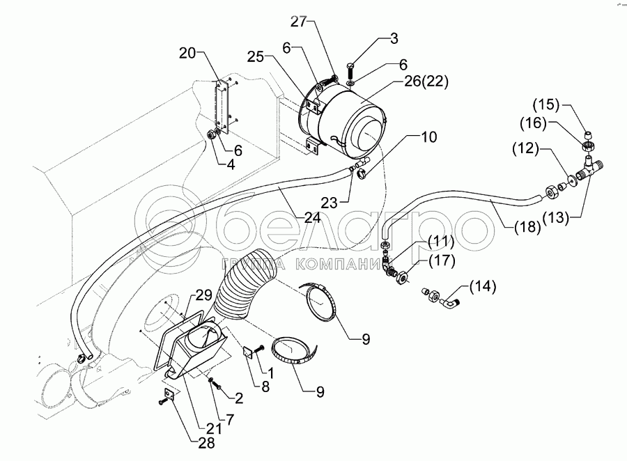
1
2
3
4
6
6
6
7
8
9
9
10
11
12
13
14
15
16
17
18
19
20
21
22
23
24
25
26
27
28
29
1
301 0051
Self-tapping screw
В узле: 2
2
301 0301
Flatheaded bolt
В узле: 3
3
301 5009
Screw
В узле: 2
4
303 1012
Nut
В узле: 4
6
305 6132
Washer
В узле: 4
7
305 8571
Washer
В узле: 3
8
323 6515
Cover
В узле: 1
9
325 1188
Hose clip
В узле: 2
10
325 1182
Hose clip
В узле: 3
11
375 4400
Angle union
В узле: 1
12
375 2520
Throttle plate
В узле: 1
13
375 4490
T-adjustable T-union
В узле: 1
14
375 4500
Adjustable angle union
В узле: 1
15
375 5110
Cutting ring
В узле: 3
16
375 5310
Union nut
В узле: 3
17
375 5700
Nut
В узле: 2
18
377 2070
Synthetic tube
В узле: 1
19
377 4122
Flexible hose
В узле: 1
20
459 4535
Clamping plate
В узле: 1
21
482 5706
Air intake fitting, fan
В узле: 1
22
582 5670
Cyclone
В узле: 1
23
317 9472
Flange bushing
В узле: 1
24
377 3993
Flexible hose
В узле: 1
25
482 5674
Clamp
В узле: 1
26
582 5673
Cyclone with cover
В узле: 1
27
301 5004
Screw
В узле: 4
28
323 6516
Cover
В узле: 1
29
323 6517
Seal stripe
В узле: ---
Содержащиеся в справочниках-каталогах запасные части и детали не предлагаются к продаже, а носят исключительно информационный характер

Ваша заявка была отправлена. В ближайшее время наши специалисты с Вами свяжутся по указанному Вами телефону.

Представьтесь
Поле обязательно для заполнения
Ваш телефон
Введите правильный номер телефона
E-mail
Введите правильный e-mail
Тема
Тема
применяемость финансирование доставка цена, наличие другое сервис и гарантия
Время для звонка
08:00
08:00 09:00 10:00 11:00 12:00 13:00 14:00 15:00 16:00 17:00 18:00 19:00
19:00
08:00 09:00 10:00 11:00 12:00 13:00 14:00 15:00 16:00 17:00 18:00 19:00

Мы постараемся перезвонить в указанное время

Если вы не хотите ждать, то звоните нашим вежливым консультантам:

8 800 100-2-700
Подтвердите, что вы не робот
Подтвердите, что вы не робот
Спасибо!

Ваше сообщение успешно отправлено!

ЗакрытьПовторить попытку